TOP
|
特許
|
意匠
|
商標
特許ウォッチ
Twitter
他の特許を見る
公開番号
2025144022
公報種別
公開特許公報(A)
公開日
2025-10-02
出願番号
2024043578
出願日
2024-03-19
発明の名称
ガスセンサ
出願人
エスアイアイ・クリスタルテクノロジー株式会社
代理人
個人
主分類
H03H
9/19 20060101AFI20250925BHJP(基本電子回路)
要約
【課題】小型であり、価格を抑制したガスセンサを提供する。
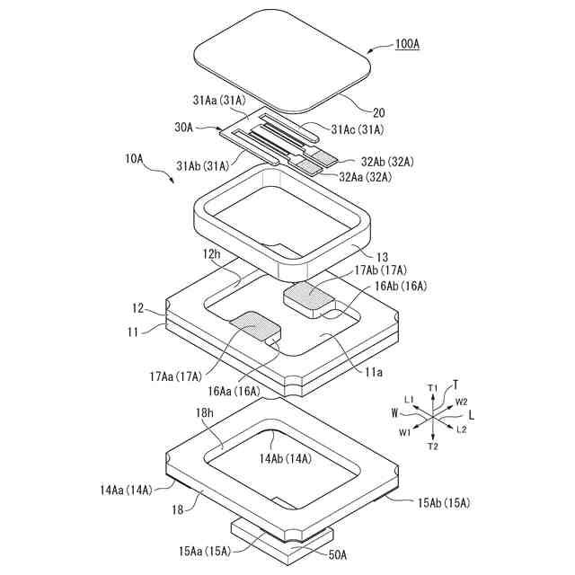
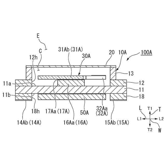
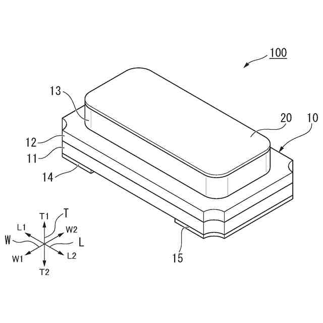
【解決手段】ガスセンサ100は、水晶振動片30と、前記水晶振動片30を収容可能な内部空間Cを有するパッケージ10と、前記内部空間Cと前記パッケージ10の外部空間Eとを仕切る蓋部20と、を備え、前記内部空間Cは、真空又は前記外部空間Eに対して負圧であり、前記蓋部20は、ガス透過性材料を含み、前記外部空間Eから前記内部空間Cにガスを透過可能である。
【選択図】図3
特許請求の範囲
【請求項1】
水晶振動片と、
前記水晶振動片を収容可能な内部空間を有するパッケージと、
前記内部空間と前記パッケージの外部空間とを仕切る蓋部と、
を備え、
前記内部空間は、真空又は前記外部空間に対して負圧であり、
前記蓋部は、ガス透過性材料を含み、前記外部空間から前記内部空間にガスを透過可能である、
ガスセンサ。
続きを表示(約 780 文字)
【請求項2】
前記水晶振動片は、音叉型である、
請求項1に記載のガスセンサ。
【請求項3】
前記蓋部は、前記蓋部と前記水晶振動片とが対向する方向と垂直に延びる平板形状である、
請求項1に記載のガスセンサ。
【請求項4】
前記内部空間に設けられ、前記内部空間内の前記ガスを吸着可能なゲッター材を備える、
請求項1に記載のガスセンサ。
【請求項5】
前記水晶振動片は、前記蓋部と前記水晶振動片とが対向する方向において前記蓋部と前記ゲッター材との間に設けられている、
請求項4に記載のガスセンサ。
【請求項6】
前記パッケージは、前記水晶振動片を支持する実装部を有し、
前記水晶振動片は、前記実装部に支持された基部と、前記基部から延びる振動腕部と、を有し、
前記ゲッター材は、前記振動腕部に設けられている、
請求項4に記載のガスセンサ。
【請求項7】
温度を検出可能な温度検出部を備える、
請求項1に記載のガスセンサ。
【請求項8】
前記温度検出部は、前記内部空間に設けられている、
請求項7に記載のガスセンサ。
【請求項9】
前記パッケージは、前記蓋部と前記水晶振動片とが対向する方向において前記水晶振動片を挟んで前記蓋部の反対側に設けられ、前記内部空間と前記外部空間とを仕切る底部を有し、
前記温度検出部は、前記底部の前記外部空間側に設けられている、
請求項7に記載のガスセンサ。
【請求項10】
前記水晶振動片と電気的に接続され、発振回路を有する集積回路チップを備える、
請求項1から請求項9のいずれか一項に記載のガスセンサ。
発明の詳細な説明
【技術分野】
【0001】
本発明は、ガスセンサに関する。
続きを表示(約 1,300 文字)
【背景技術】
【0002】
従来、可燃性ガス等を検知可能であり、ガス漏れ警報器やガス濃度計に用いられるガスセンサがある。
【0003】
可燃性ガス等を検知可能なガスセンサとして、特許文献1に記載のある水素ガスセンサがある。特許文献1に記載のある水素ガスセンサは、セラミックパッケージと、セラミックパッケージ内に接合された水素ガスセンサチップと、セラミックパッケージの開口部を密閉する水素ガス透過性カバーと、を備える。
【0004】
水素ガスセンサチップは、Si基板と、Si基板の表面に形成されたSiO
2
膜と、SiO
2
膜の表面に形成されたSi膜とによって構成されたSOI基板から形成される。Si膜には、MEMS加工技術によって振動子が形成されている。
【先行技術文献】
【特許文献】
【0005】
特開2012-230071号公報
【発明の概要】
【発明が解決しようとする課題】
【0006】
しかしながら、水素ガスセンサチップとしてSOI基板を用いる場合、ガスセンサの形状が複雑になるために大型化する虞がある。また、SOI基板が高価なために、ガスセンサが高価になる虞がある。
【0007】
上記事情を踏まえ、本発明は、小型であり、価格を抑制したガスセンサを提供することを目的とする。
【課題を解決するための手段】
【0008】
本発明の第一の態様に係るガスセンサは、水晶振動片と、前記水晶振動片を収容可能な内部空間を有するパッケージと、前記内部空間と前記パッケージの外部空間とを仕切る蓋部と、を備え、前記内部空間は、真空又は前記外部空間に対して負圧であり、前記蓋部は、ガス透過性材料を含み、前記外部空間から前記内部空間にガスを透過可能である。
【0009】
第一の態様に係るガスセンサによれば、所定のガス(透過ガス)が蓋部を透過することによって外部空間から内部空間に流入し、内部空間に流入した透過ガスによって内部空間内の真空度が低下し、真空度が低下することによって変化した水晶振動片の抵抗値を検知することによって、ガスの検知を実現できる。そのため、ガスセンサとしてSOI基板を用いる必要が無く、SOI基板を備える従来のガスセンサと比較して、形状の複雑化と、構成部品の価格の増大と、を抑制できる。また、第一の態様に係るガスセンサは、例えば、従来の水晶振動子の蓋部を、ガスを透過可能な蓋部とすることで実現できるため、従来の水晶振動子と同程度の小型な形状を有することができ、従来の水晶振動子の製造設備の少なくとも一部を流用して製造することができる。その結果、小型であり、価格を抑制したガスセンサを提供することができる。
【0010】
本発明の第二の態様に係るガスセンサは、第一の態様に係るガスセンサにおいて、前記水晶振動片は、音叉型であってもよい。
(【0011】以降は省略されています)
この特許をJ-PlatPat(特許庁公式サイト)で参照する
関連特許
エイブリック株式会社
増幅器
10日前
エイブリック株式会社
増幅器
17日前
エイブリック株式会社
増幅回路
11日前
株式会社大真空
圧電振動デバイス
2か月前
日本電波工業株式会社
圧電振動片
9日前
エイブリック株式会社
電圧検出器
1か月前
日本電波工業株式会社
圧電デバイス
2か月前
ローム株式会社
オペアンプ
2か月前
ローム株式会社
オペアンプ
2か月前
ローム株式会社
オペアンプ
2か月前
株式会社トーキン
ノイズフィルタ
1か月前
株式会社大真空
恒温槽型圧電発振器
2か月前
個人
誤り訂正装置及び誤り訂正方法
2か月前
株式会社村田製作所
増幅回路
1か月前
株式会社半導体エネルギー研究所
駆動回路
20日前
三菱電機株式会社
半導体装置
2か月前
ローム株式会社
オペアンプ回路
2か月前
株式会社村田製作所
高周波回路
1か月前
ローム株式会社
オペアンプ回路
2か月前
ローム株式会社
オペアンプ回路
2か月前
ローム株式会社
半導体集積回路
2か月前
ローム株式会社
半導体集積回路
2か月前
TDK株式会社
電子部品
10日前
ローム株式会社
半導体集積回路
2か月前
TDK株式会社
電子部品
9日前
株式会社村田製作所
弾性波フィルタ
1か月前
住友電気工業株式会社
高周波増幅器
1か月前
京セラ株式会社
弾性波装置、分波器及び通信装置
2か月前
日清紡マイクロデバイス株式会社
演算増幅器
18日前
ローム株式会社
駆動回路
2か月前
ローム株式会社
A/Dコンバータ回路
2か月前
ローム株式会社
遅延回路
2か月前
ローム株式会社
駆動回路
2か月前
ローム株式会社
A/Dコンバータ回路
2か月前
ニチコン株式会社
信号出力装置
1か月前
ローム株式会社
圧電共振器
1か月前
続きを見る
他の特許を見る