TOP
|
特許
|
意匠
|
商標
特許ウォッチ
Twitter
他の特許を見る
10個以上の画像は省略されています。
公開番号
2025143966
公報種別
公開特許公報(A)
公開日
2025-10-02
出願番号
2024043504
出願日
2024-03-19
発明の名称
薄鋼板の欠陥検査方法及び、薄鋼板の欠陥検査装置
出願人
JFEスチール株式会社
代理人
個人
,
個人
,
個人
,
個人
主分類
G01N
27/83 20060101AFI20250925BHJP(測定;試験)
要約
【課題】C方向励磁で薄鋼板の欠陥を検査する際に、適切に欠陥を検出することが可能な欠陥検査方法及び、欠陥検査装置を提供する。
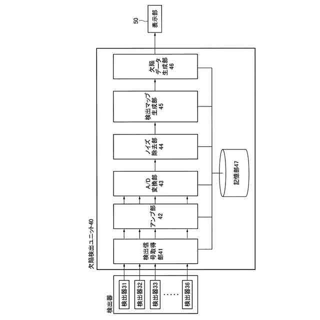
【解決手段】 薄鋼板の幅方向に沿って検出される複数の検出信号に基づいて、前記薄鋼板の欠陥を検査する薄鋼板の欠陥検査方法である。薄鋼板の欠陥検査方法は、前記複数の検出信号を1のデータ列とし、時系列毎に複数のデータ列を取得する検出信号取得ステップと、前記検出信号取得ステップで取得された複数の前記データ列に含まれるノイズを除去するノイズ除去ステップと、前記ノイズ除去ステップが施された複数の前記データ列を前記時系列毎に配置して検出マップを生成する検出マップ生成ステップと、前記検出マップに基づいて前記薄鋼板の欠陥に関するデータである、欠陥データを生成する欠陥データ生成ステップと、を含む。
【選択図】図3
特許請求の範囲
【請求項1】
薄鋼板の幅方向に沿って検出される複数の検出信号に基づいて、前記薄鋼板の欠陥を検査する薄鋼板の欠陥検査方法であって、
前記複数の検出信号を1のデータ列とし、時系列毎に複数のデータ列を取得する検出信号取得ステップと、
前記検出信号取得ステップで取得された複数の前記データ列に含まれるノイズを除去するノイズ除去ステップと、
前記ノイズ除去ステップが施された複数の前記データ列を前記時系列毎に配置して検出マップを生成する検出マップ生成ステップと、
前記検出マップに基づいて前記薄鋼板の欠陥に関するデータである、欠陥データを生成する欠陥データ生成ステップと、を含む、薄鋼板の欠陥検査方法。
続きを表示(約 470 文字)
【請求項2】
前記ノイズ除去ステップは、バンドパスフィルタ処理及び、ウエーブレット変換処理のうち少なくとも一方の処理によって行われる、請求項1に記載の薄鋼板の欠陥検査方法。
【請求項3】
前記検出マップ生成ステップでは、1の薄鋼板に対応する複数の前記データ列を時系列に配置して前記検出マップが生成される、請求項1又は2に記載の薄鋼板の欠陥検査方法。
【請求項4】
薄鋼板の幅方向に沿って検出される複数の検出信号に基づいて、前記薄鋼板の欠陥を検査する薄鋼板の欠陥検査装置であって、
前記複数の検出信号を1のデータ列とし、時系列毎に複数のデータ列を取得する検出信号取得部と、
前記検出信号取得部で取得された複数の前記データ列に含まれるノイズを除去するノイズ除去部と、
前記ノイズ除去部でノイズが除去された複数の前記データ列を前記時系列毎に配置して検出マップを生成する検出マップ生成部と、
前記検出マップに基づいて薄鋼板の欠陥を検出する欠陥検出部と、を含む、薄鋼板の欠陥検査装置。
発明の詳細な説明
【技術分野】
【0001】
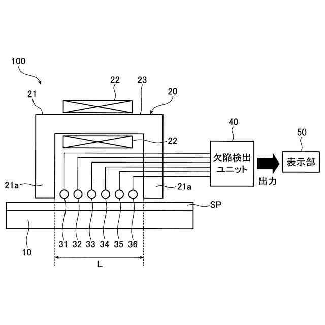
本発明は、例えば、薄鋼板の欠陥を検出する薄鋼板の欠陥検査方法及び、薄鋼板の欠陥検査装置に関する。
続きを表示(約 1,200 文字)
【背景技術】
【0002】
飲料缶用のブリキ鋼板、自動車用鋼板等の軟磁性の薄鋼板を製造するライン上(以下、オンラインとも称する)において、薄鋼板の表面や内部の欠陥を非破壊で検出することが行われている。
【0003】
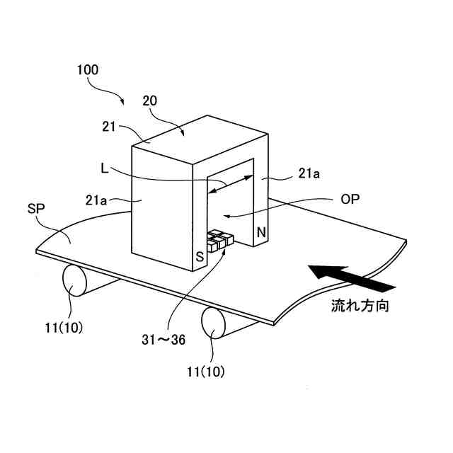
このような検査装置としては、検査対象物である薄鋼板の欠陥に起因する磁束を検出する欠陥検査装置が知られている。欠陥検査装置は、薄鋼板の検査領域の磁束を飽和させる励磁器(磁化器)と、磁化させた薄鋼板から漏洩した磁束を検出する検出器と、を含んで構成されている。すなわち、欠陥検査装置は、薄鋼板から漏れ出た欠陥に起因する磁束を検出することにより、薄鋼板の欠陥を検出する。
【0004】
欠陥検査装置は、一般的には検査対象物である薄鋼板に磁界をかける磁極を薄鋼板の搬送方向に配置(以下、L方向励磁ともいう)されている。L方向励磁では、薄鋼板をその長手方向に磁化させて、薄鋼板から漏洩した磁束を検出する検出器がその幅方向に複数配置される。
【0005】
しかし、磁極を薄鋼板の搬送方向に配置すると、例えば、薄鋼板の搬送方向に延びて形成された欠陥に対する検出能力が低下する。すなわち、搬送方向に延びて形成された欠陥に起因する磁束は、時間的な変化が小さく、低周波の信号として検出される。このため、欠陥の検出感度を上げることが難しいという問題がある。
【0006】
特許文献1には、L方向励磁を行う漏洩磁気検査方法が開示されている。特許文献1では、検出信号から低周波数側の周波数範囲から欠陥を検出する低周波数側欠陥検出部と、高周波数側の周波数範囲から欠陥を検出する高周波数側欠陥検出部とを用いて、欠陥の大きさに関する情報を抽出すること行われている。
【0007】
漏洩磁気検査としては、薄鋼板をその幅方向に磁化させて、薄鋼板から漏洩した磁束を検出する(以下、C方向励磁ともいう)ことも行われている。例えば、特許文献2には、薄鋼板をその幅方向に磁化させて欠陥検査を行うC方向励磁の構成が開示されている。
【先行技術文献】
【特許文献】
【0008】
特開2014-106136号公報
国際公開第2021/125186号
【発明の概要】
【発明が解決しようとする課題】
【0009】
しかしながら、特許文献1では、薄鋼板の搬送方向に沿って薄鋼板が磁化されるため、漏洩磁束が小さく、検出器による欠陥の検出感度が低い。このため、搬送方向に沿って延びた欠陥を精度よく検出できない問題がある。
【0010】
特許文献2では、検出器が検出する信号の時間変化が緩やかであることから、検出器が検出する信号は低周波の信号となる。そのため、搬送方向に沿って延びた欠陥を精度よく検出できない問題がある。
(【0011】以降は省略されています)
この特許をJ-PlatPat(特許庁公式サイト)で参照する
関連特許
個人
メジャー文具
3日前
個人
計量スプーン
1か月前
日本精機株式会社
位置検出装置
9日前
日本精機株式会社
位置検出装置
9日前
ユニパルス株式会社
ロードセル
2日前
日本精機株式会社
位置検出装置
9日前
大和製衡株式会社
組合せ秤
14日前
大和製衡株式会社
組合せ秤
14日前
アズビル株式会社
圧力センサ
8日前
トヨタ自動車株式会社
監視装置
1日前
エイブリック株式会社
磁気センサ回路
8日前
株式会社ヨコオ
ソケット
1日前
トヨタ自動車株式会社
検査装置
11日前
株式会社ユーシン
操作検出装置
11日前
株式会社東芝
センサ
14日前
株式会社東芝
センサ
14日前
株式会社チノー
放射光測温装置
2日前
株式会社ヨコオ
ソケット
2日前
トヨタ自動車株式会社
表示装置
23日前
ダイハツ工業株式会社
測定用具
1か月前
アンリツ株式会社
分光器
1か月前
アンリツ株式会社
分光器
1か月前
株式会社東芝
重量測定装置
7日前
株式会社ナリス化粧品
角層細胞採取用具
21日前
TDK株式会社
磁気センサ
1日前
TDK株式会社
ガスセンサ
7日前
TDK株式会社
磁気センサ
1か月前
東レエンジニアリング株式会社
計量装置
11日前
株式会社ヨコオ
コンタクタ
1か月前
TDK株式会社
ガスセンサ
8日前
TDK株式会社
ガスセンサ
2日前
個人
粘塑性を用いた有限要素法の定式化
23日前
三恵技研工業株式会社
融雪レドーム
1日前
多摩川精機株式会社
冗長エンコーダ
1日前
中国電力株式会社
異常箇所検出装置
22日前
個人
材料特性パラメータの算定方法
1か月前
続きを見る
他の特許を見る