TOP
|
特許
|
意匠
|
商標
特許ウォッチ
Twitter
他の特許を見る
公開番号
2025143824
公報種別
公開特許公報(A)
公開日
2025-10-02
出願番号
2024043272
出願日
2024-03-19
発明の名称
作業機及び作業機のための傘ホルダ
出願人
株式会社クボタ
代理人
弁理士法人R&C
主分類
A01C
11/02 20060101AFI20250925BHJP(農業;林業;畜産;狩猟;捕獲;漁業)
要約
【課題】作業機において、作業者の負担を低減する。
【解決手段】機体100と、作業者を上部から保護する保護部材101を保持する保護部材ホルダ40とを備えた。
【選択図】図1
特許請求の範囲
【請求項1】
機体と、
機体を操作する作業者を上部から保護する保護部材と、
前記保護部材を前記機体に支持する保護部材ホルダとを備えた歩行型作業機。
続きを表示(約 1,100 文字)
【請求項2】
前記機体の後部に設けられたハンドルを備え、
前記ハンドルに前記保護部材ホルダが取り付けられている請求項1に記載の歩行型作業機。
【請求項3】
圃場に苗を植付ける苗植付装置を備え、
前記苗植付装置は、前記機体の後部で、且つ、前記ハンドルの前方に設けられ、前記苗がのせられる苗のせ台を有し、
前記苗のせ台を支持する苗のせ台支持フレームを備え、
前記保護部材ホルダが、前記苗のせ台支持フレームに取り付けられている請求項2に記載の歩行型作業機。
【請求項4】
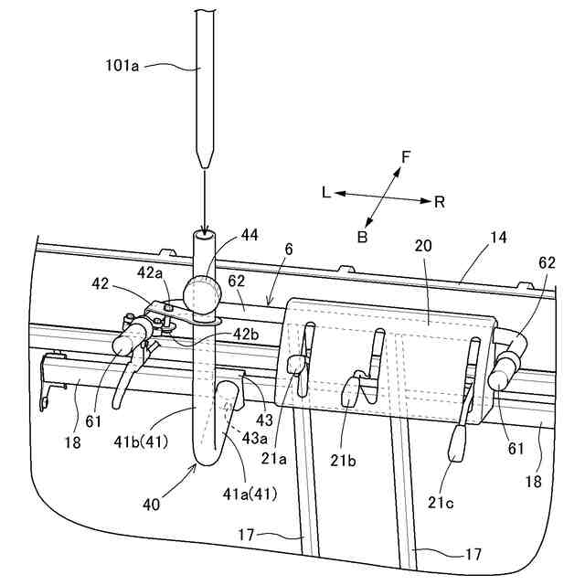
前記保護部材ホルダが、筒状部材を有し、前記筒状部材が前記機体から後方に延びる第1部分と前記第1部分の後端部から上方に延びる第2部分とを有し、
前記第2部分に前記保護部材の柄が挿入される請求項1に記載の歩行型作業機。
【請求項5】
前記機体の後部に設けられたハンドルと、
圃場に苗を植付ける苗植付装置を備え、
前記苗植付装置は、前記機体の後部で、且つ、前記ハンドルの前方に設けられ、前記苗がのせられる苗のせ台を有し、
前記苗のせ台を支持する苗のせ台支持フレームを備え、
前記保護部材ホルダが、前記第2部分の上下方向中途部に設けられ前記ハンドルに取り付けられる第1取付部と、前記第1部分の先端部に設けられ前記苗のせ台支持フレームに取り付けられる第2取付部とを有する請求項4に記載の歩行型作業機。
【請求項6】
前記第2部分の上下方向中途部に、前記第2部分に挿入された前記柄が前記第2部分から抜け出ることを防止する抜け止め手段を備える請求項5に記載の歩行型作業機。
【請求項7】
前記第1部分と前記第2部分とのなす角度が90度よりも小さく設定されている請求項6に記載の歩行型作業機。
【請求項8】
前記保護部材が使用状態の傘である請求項1から7のいずれか1項に記載の歩行型作業機。
【請求項9】
機体と、
機体に備えられた、操作パネル、メインステップ、施肥装置を支持する施肥フレーム、及び、衛星測位装置の受信アンテナを支持するアンテナフレームのうちの少なくとも何れか一つに取り付けられる取付部を有する保護部材ホルダと、
前記保護部材ホルダに支持され、機体に搭乗した乗員を上部から保護する保護部材とを備えた作業機。
【請求項10】
前記保護部材ホルダは複数備えられている請求項9に記載の作業機。
(【請求項11】以降は省略されています)
発明の詳細な説明
【技術分野】
【0001】
本発明は、作業機及び作業機のための傘ホルダに関する。
続きを表示(約 900 文字)
【背景技術】
【0002】
歩行型作業機の一例である歩行型田植機としては、例えば、特許文献1に開示されたものが知られている。歩行型田植機では、作業者が機体の後方に設けられたハンドルを把持して、歩行しながら歩行型田植機を操作することにより、圃場への苗の植付けが行われる。
【先行技術文献】
【特許文献】
【0003】
特開2017-112879号公報
【発明の概要】
【発明が解決しようとする課題】
【0004】
上記の歩行型田植機では、日光や雨を遮るものがなく、日光や雨が作業者の負担となる場合があった。
【0005】
本発明は、歩行型田植機等の作業機において、作業者の負担を低減することを目的としている。
【課題を解決するための手段】
【0006】
本発明の歩行型作業機は、機体と、機体を操作する作業者を上部から保護する保護部材と、前記保護部材を前記機体に支持する保護部材ホルダとを備えた。
【0007】
上記構成により、歩行型作業機に保護部材を保持することができるので、保護部材により、日光や雨が作業者に当たることを抑制することができる。この結果、作業者の負担を低減することができる。
【0008】
上記構成において、前記機体の後部に設けられたハンドルを備え、前記ハンドルに前記保護部材ホルダが取り付けられていると好適である。
【0009】
作業者が把持するハンドルに保護部材ホルダを取り付けることにより、好適に、作業者の頭上に保護部材を位置させることができる。
【0010】
上記構成において、圃場に苗を植付ける苗植付装置を備え、前記苗植付装置は、前記機体の後部で、且つ、前記ハンドルの前方に設けられ、前記苗がのせられる苗のせ台を有し、前記苗のせ台を支持する苗のせ台支持フレームを備え、前記保護部材ホルダが、前記苗のせ台支持フレームに取り付けられていると好適である。
(【0011】以降は省略されています)
この特許をJ-PlatPat(特許庁公式サイト)で参照する
関連特許
株式会社クボタ
作業機
26日前
株式会社クボタ
作業車
6日前
株式会社クボタ
作業車
27日前
株式会社クボタ
田植機
27日前
株式会社クボタ
田植機
27日前
株式会社クボタ
作業車
27日前
株式会社クボタ
田植機
1か月前
株式会社クボタ
作業車
1か月前
株式会社クボタ
作業車
26日前
株式会社クボタ
作業機
16日前
株式会社クボタ
作業車
4日前
株式会社クボタ
作業車
1か月前
株式会社クボタ
作業車
4日前
株式会社クボタ
作業機
1か月前
株式会社クボタ
作業車両
6日前
株式会社クボタ
作業車両
6日前
株式会社クボタ
作業車両
6日前
株式会社クボタ
作業車両
6日前
株式会社クボタ
作業車両
6日前
株式会社クボタ
作業車両
6日前
株式会社クボタケミックス
伸縮継手
1か月前
株式会社クボタ
作業車両
6日前
株式会社クボタ
トラクタ
1か月前
株式会社クボタ
作業車両
6日前
株式会社クボタ
トラクタ
1か月前
株式会社クボタ
作業車両
6日前
株式会社クボタ
圃場作業車
25日前
株式会社クボタ
圃場作業車
27日前
株式会社クボタ
圃場作業機
1か月前
株式会社クボタ
水田作業機
2か月前
株式会社クボタ
サトウキビ収穫機
26日前
株式会社クボタ
サトウキビ収穫機
26日前
株式会社クボタ
サトウキビ収穫機
26日前
株式会社クボタ
サトウキビ収穫機
26日前
株式会社クボタ
サトウキビ収穫機
26日前
株式会社クボタ
サトウキビ収穫機
26日前
続きを見る
他の特許を見る