TOP
|
特許
|
意匠
|
商標
特許ウォッチ
Twitter
他の特許を見る
10個以上の画像は省略されています。
公開番号
2025143735
公報種別
公開特許公報(A)
公開日
2025-10-02
出願番号
2024043125
出願日
2024-03-19
発明の名称
産業用X線CT制御装置、産業用X線CT制御方法及び産業用X線CTシステム
出願人
株式会社日立ハイテク
代理人
ポレール弁理士法人
主分類
G01N
23/046 20180101AFI20250925BHJP(測定;試験)
要約
【課題】
本発明の目的は、検体サイズに応じて効率よく撮影可能な産業用X線CT制御装置、産業用X線CT制御方法及び産業用X線CTシステムを提供することにある。
【解決手段】
本発明の産業用X線CT制御装置は、検体を回転テーブルに配置し、前記回転テーブルを回転制御してX線CT撮像する産業用X線CTシステムの産業用X線CT制御装置において、前記回転テーブルに対する前記検体の撮影断面の大きさに応じて、前記回転テーブルの回転を制御することを特徴とする。また、産業用X線CTシステムは、回転テーブルの回転を制御する回転テーブル制御装置と、回転テーブルに対する検体の撮影断面の大きさに応じて回転テーブルの回転角度を算出する撮影制御装置とを備え、回転テーブル制御装置は、撮影制御装置で算出された回転角度で回転テーブルの回転を制御することを特徴とする。
【選択図】図1
特許請求の範囲
【請求項1】
検体を回転テーブルに配置し、前記回転テーブルを回転制御してX線CT撮像する産業用X線CTシステムの産業用X線CT制御装置において、
前記回転テーブルに対する前記検体の撮影断面の大きさに応じて、前記回転テーブルの回転を制御することを特徴とする産業用X線CT制御装置。
続きを表示(約 1,100 文字)
【請求項2】
請求項1に記載の産業用X線CT制御装置において、
前記検体の撮影断面の大きさが、円状の前記回転テーブルの半円内に収まる場合と収まらない場合とで前記回転テーブルの回転制御を異ならしめることを特徴とする産業用X線CT制御装置。
【請求項3】
請求項1に記載の産業用X線CT制御装置において、
前記検体が配置された撮影視野に応じて、前記回転テーブルの回転角度を制御する産業用X線CT制御装置。
【請求項4】
請求項1に記載の産業用X線CT制御装置において、
前記検体が配置された撮影視野の範囲のみ、X線CT撮像の画像を再構築することを特徴とする産業用X線CT制御装置。
【請求項5】
請求項1に記載の産業用X線CT制御装置において、
前記回転テーブルに前記検体の位置を把握するための検体設置位置ガイドを備え、前記回転テーブルに撮影視野の中心角A°が最小となるように定められた位置に前記検体を設置することを特徴とする産業用X線CT制御装置。
【請求項6】
請求項1に記載の産業用X線CT制御装置において、
前記回転テーブルの上部に配置され、前記検体の設置範囲を識別して撮影視野を測定するカメラを備えることを特徴とする産業用X線CT制御装置。
【請求項7】
請求項1に記載の産業用X線CT制御装置において、
連続して複数断面をCT撮影する場合、一回目撮影で一方向に回転制御し、2回目以降、順次回転方向を変えて回転制御することを特徴とする産業用X線CT制御装置。
【請求項8】
検体を回転テーブルに配置し、前記回転テーブルを回転制御してX線CT撮像する産業用X線CT制御方法において、
前記回転テーブルに対する前記検体の撮影断面の大きさに応じて、前記回転テーブルの回転を制御することを特徴とする産業用X線CT制御方法。
【請求項9】
X線を照射するX線源と、検体が配置される回転テーブルと、前記検体を透過したX線を検出するX線検出装置とを備えた産業用X線CTシステムにおいて、
前記回転テーブルの回転を制御する回転テーブル制御装置と、
前記回転テーブルに対する前記検体の撮影断面の大きさに応じて前記回転テーブルの回転角度を算出する撮影制御装置とを備え、
前記回転テーブル制御装置は、前記撮影制御装置で算出された回転角度で前記回転テーブルの回転を制御することを特徴とする産業用X線CTシステム。
発明の詳細な説明
【技術分野】
【0001】
本発明は、産業用X線CT制御装置、産業用X線CT制御方法及び産業用X線CTシステムに関する。
続きを表示(約 1,400 文字)
【背景技術】
【0002】
産業用X線CTは、X線源から検体にX線を照射し、検体内部の構造により減衰し透過したX線強度を測定することにより、検体内部の構造を評価する技術である。
【0003】
特許文献1では、産業用X線CT装置、すなわち工業用CT装置として「工業用X線CT装置は、医療用とは異なり、物体の内部形状を観察,計測するために、非常に有用な装置である。開発品の形状計測や、鋳造品の巣の分布計測などに利用される。工業用X線CT装置では、大型鋳造品などの断層像を撮影するためには、透過力の高い高エネルギーX線(約1MeV以上)を発生する加速器をX線源に用い、短冊形のシリコン半導体センサがX線検出器に用いられる。このような工業用X線CT装置は、撮像物をX線ファンビームに垂直な軸周りに1回転させて断層像を撮影する、いわゆる第3世代方式のCT装置である。」と説明されている。
【0004】
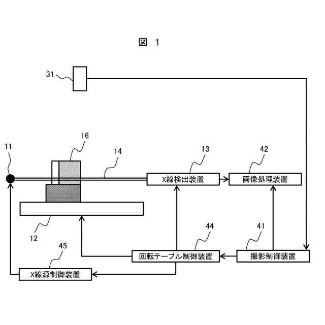
一方で大きいサイズの検体のCT撮影を行う場合には、特許文献2に示すようにX線を対象の中心からオフセットした状態で撮像する方法がある。例えば、図4に示すようにX線源11と、回転テーブル12の回転軸と、X線検出装置13の右縁部をY軸上に並ぶように配置する。検体15を設置した回転テーブル12を回転させながらX線を照射し、検体15を透過したX線をX線検出装置13で検出し、投影データを得ることで検体の断面を再構成する。
【0005】
この撮影方式では、撮影視野つまり回転テーブル12が大きく、大きな検体を設置できるが、回転テーブル12の半分しか照射野14に入らない。そのため、撮影視野全体の全投影データを得るためには、回転テーブル12を360°まで回転させる必要があるため、撮影時間に多くを要する。
【先行技術文献】
【特許文献】
【0006】
国際公開第2007/077799号
特開2005-006772号公報
【発明の概要】
【発明が解決しようとする課題】
【0007】
しかしながら、特許文献1及び特許文献2の撮影方式では、撮影可能な検体サイズと、撮影時間がトレードオフの関係にある。産業用X線CT装置には、高画質で、短時間に、大きいサイズの検体まで撮影できることが求められている。そのため、1台のX線CT装置で、撮影可能な検体のサイズと、撮影時間の両立ができないという課題がある。
【0008】
本発明の目的は、検体サイズに応じて効率よく撮影可能な産業用X線CT制御装置、産業用X線CT制御方法及び産業用X線CTシステムを提供することにある。
【課題を解決するための手段】
【0009】
本発明の産業用X線CT制御装置は、検体を回転テーブルに配置し、前記回転テーブルを回転制御してX線CT撮像する産業用X線CTシステムの産業用X線CT制御装置において、前記回転テーブルに対する前記検体の撮影断面の大きさに応じて、前記回転テーブルの回転を制御することを特徴とする。
【0010】
又は、本発明の産業用X線CT制御方法は、検体を回転テーブルに配置し、前記回転テーブルを回転制御してX線CT撮像する産業用X線CT制御方法において、前記回転テーブルに対する前記検体の撮影断面の大きさに応じて、前記回転テーブルの回転を制御することを特徴とする。
(【0011】以降は省略されています)
この特許をJ-PlatPat(特許庁公式サイト)で参照する
関連特許
株式会社日立ハイテクアナリシス
半導体検出器
2日前
株式会社日立ハイテク
試料検査システム
4日前
株式会社日立ハイテク
分子除去方法および分子除去装置
2日前
株式会社日立ハイテクソリューションズ
ESIイオン源及び質量分析システム
12日前
株式会社日立ハイテク
計算機システムおよびデータの分析方法
3日前
株式会社日立ハイテク
核種在庫管理装置及び核種在庫管理方法
3日前
株式会社日立ハイテク
カメラ調整用ターゲット及び検体処理装置
8日前
株式会社日立ハイテク
画像処理装置、画像処理システムおよび方法
1日前
株式会社日立ハイテク
検体容器隔離プレートおよび検体容器移載装置
8日前
株式会社日立ハイテク
加工条件最適化装置、および、加工条件最適化方法
2日前
株式会社日立ハイテク
フロー型イオン選択性電極の製造方法及びフロー型イオン選択性電極
10日前
株式会社日立ハイテク
プログラム、動体追尾装置、放射線治療システム、並びに動体の追跡方法
4日前
株式会社日立ハイテク
産業用X線CT制御装置、産業用X線CT制御方法及び産業用X線CTシステム
9日前
株式会社日立ハイテク
加速器システム、粒子線治療システム、加速器の制御方法及び粒子線治療システムの制御方法
2日前
株式会社日立ハイテク
加速器システム、粒子線治療システム、加速器の制御方法及び粒子線治療システムの制御方法
2日前
株式会社日立ハイテク
画像処理装置、画像収録装置、画像再生装置、画像処理方法、画像収録方法および画像再生方法
2日前
株式会社日立ハイテク
加速器システム、粒子線治療システム、加速器システムの制御方法及び粒子線治療システムの制御方法
2日前
個人
メジャー文具
4日前
日本精機株式会社
位置検出装置
10日前
日本精機株式会社
位置検出装置
10日前
日本精機株式会社
位置検出装置
10日前
ユニパルス株式会社
ロードセル
3日前
大和製衡株式会社
組合せ秤
15日前
大和製衡株式会社
組合せ秤
15日前
アズビル株式会社
圧力センサ
9日前
トヨタ自動車株式会社
表示装置
24日前
ダイキン工業株式会社
監視装置
1日前
株式会社東芝
センサ
15日前
株式会社チノー
放射光測温装置
3日前
トヨタ自動車株式会社
監視装置
2日前
株式会社ヨコオ
ソケット
2日前
エイブリック株式会社
磁気センサ回路
9日前
トヨタ自動車株式会社
検査装置
12日前
株式会社ヨコオ
ソケット
3日前
株式会社ユーシン
操作検出装置
12日前
株式会社東芝
センサ
15日前
続きを見る
他の特許を見る