TOP
|
特許
|
意匠
|
商標
特許ウォッチ
Twitter
他の特許を見る
10個以上の画像は省略されています。
公開番号
2025143356
公報種別
公開特許公報(A)
公開日
2025-10-01
出願番号
2025110588,2024060785
出願日
2025-06-30,2018-11-02
発明の名称
無線充電方法およびそのための装置
出願人
エルジー イノテック カンパニー リミテッド
代理人
個人
,
個人
,
個人
,
個人
,
個人
,
個人
,
個人
主分類
H02J
50/60 20160101AFI20250924BHJP(電力の発電,変換,配電)
要約
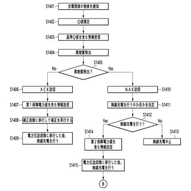
【課題】異物質を正確に判断し、発熱現象、充電効率の減少、消費電力の無駄遣いを防止する無線充電方法およびそのための装置を提供する。
【解決手段】無線電力送信機における無線充電方法において、充電領域の物体を感知する段階と、Q値(Quality Factor Value)を測定する段階と、基準Q値を含む情報を受信する段階と、前記測定されたQ値と基準Q値を利用して異物質を検出する段階と、前記異物質が検出されたのか否か応じて、ACKまたはNAK情報を含む応答信号を送信する段階と、を含み、前記無線電力送信機は、前記応答信号がACK情報を含む場合、第1保証電力値(guaranteed power value)を含む情報を送信し、前記応答信号がNAK情報を含む場合、第2保証電力値を含む情報を送信する。前記第1保証電力値は、前記第2保証電力値より大きい。
【選択図】図14a
特許請求の範囲
【請求項1】
無線電力送信機における無線充電方法において、
充電領域の物体を感知する段階と、
Q値(Quality Factor Value)を測定する段階と、
基準Q値を含む情報を受信する段階と、
前記測定されたQ値と基準Q値を利用して異物質を検出する段階と、
前記異物質が検出されたのか否か応じて、ACKまたはNAK情報を含む応答信号を送
信する段階と、
を含み、
前記無線電力送信機は、前記応答信号がACK情報を含む場合、第1保証電力値(guara
nteed power value)を含む情報を送信し、前記応答信号がNAK情報を含む場合、第2保
証電力値を含む情報を送信し、
前記第1保証電力値は、前記第2保証電力値より大きい、無線充電方法。
続きを表示(約 990 文字)
【請求項2】
前記無線電力送信機の内部温度を測定する段階を含み、
前記応答信号がNAK情報を含む場合、予め設定され設定期間の間測定した前記温度が
予め設定された温度未満である場合、第3保証電力値を含む情報を送信する段階を含み、
前記第3保証電力値は、前記第2保証電力値より大きい、請求項1に記載の無線充電方
法。
【請求項3】
前記第2保証電力値は、前記無線電力送信機の最低保証電力である、請求項1に記載の
無線充電方法。
【請求項4】
前記異物質を検出する段階は、
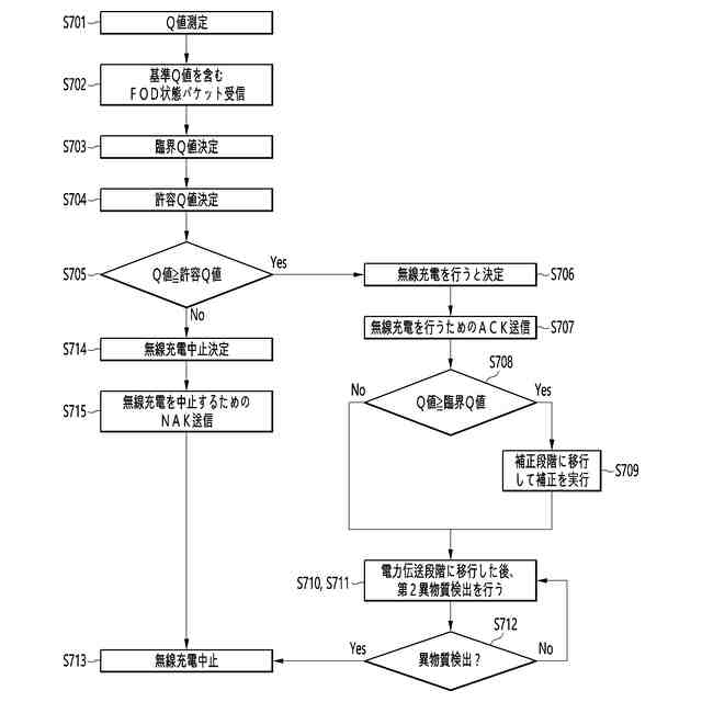
前記基準Q値を利用して臨界Q値を決定する段階と、
前記測定されたQ値が前記臨界Q値以上であれば、異物質がないと判断し、前記測定さ
れたQ値が前記臨界Q値未満であれば、異物質が存在すると判断する段階とを含む、請求
項1に記載の無線充電方法。
【請求項5】
前記臨界Q値は、前記基準Q値より第1割合だけ小さい値である、請求項4に記載の無
線充電方法。
【請求項6】
前記基準Q値と前記無線電力送信機の予め設定されたQ値を比較する段階と、
前記基準Q値が前記無線電力送信機の予め設定されたQ値より小さい場合、無線充電を
中止する段階とを含む、請求項1に記載の無線充電方法。
【請求項7】
前記無線充電を中止する段階は、前記応答信号がNAK情報を含む場合である、請求項
6に記載の無線充電方法。
【請求項8】
前記異物質を検出する段階は、
前記測定されたQ値が前記臨界Q値より第2割合だけ小さい値より小さい場合、無線充
電を中止する段階を含む、請求項4に記載の無線充電方法。
【請求項9】
前記第2保証電力値を含む情報を送信する場合は、前記測定されたQ値が前記臨界Q値
より小さく、前記基準Q値より第2割合だけ小さい値より大きい場合である、請求項8に
記載の無線充電方法。
【請求項10】
前記第3保証電力値を有する保証電力を送信する段階は、再交渉段階で行う、請求項2
に記載の無線充電方法。
(【請求項11】以降は省略されています)
発明の詳細な説明
【技術分野】
【0001】
本発明は、無線電力伝送技術に関するものであり、特に、無線充電方法およびそのため
の装置に関するものである。
続きを表示(約 1,800 文字)
【背景技術】
【0002】
携帯電話、ノートパソコンなどの携帯用端末は、電力を貯蔵するバッテリーと充電と放
電のための回路を含む。このような端末のバッテリーが充電されるためには、外部の充電
器から電力が供給されなければならない。
【0003】
一般的に、バッテリーに電力を充電するための充電装置とバッテリーとの間の電気的な
連結方式の一例として、商用電源の供給を受けてバッテリーに対応する電圧と電流に変換
して、当該バッテリーの端子を介してバッテリーに電気エネルギーを供給する端子供給方
式を挙げることができる。このような端子供給方式は、物理的なケーブル(cable)または
電線の使用が同伴する。よって、端子供給方式の装備を多く取り扱う場合、多くのケーブ
ルが相当の作業スペースを占めて整理が困難であり、外観的にもよくない。また、端子供
給方式は、端子間の異なる電位差による瞬間放電現象、異物質による焼損および火災の発
生、自然放電、バッテリーの寿命および性能の低下などの問題を引き起こすことがある。
【0004】
最近、このような問題点を解決するために、無線で電力を伝送する方式を利用した充電
システム(以下「無線充電システム」と称する)と制御方法が提示されている。また、無線
充電システムが、過去では一部の携帯用端末に基本的に装備されておらず、消費者が別途
の無線充電受信機アクセサリーを別途に購入する必要があったので、無線充電システムに
対する需要が低かったが、無線充電ユーザが急激に増えると予想され、今後端末メーカー
でも無線充電機能を基本的に搭載することが予想される。
【0005】
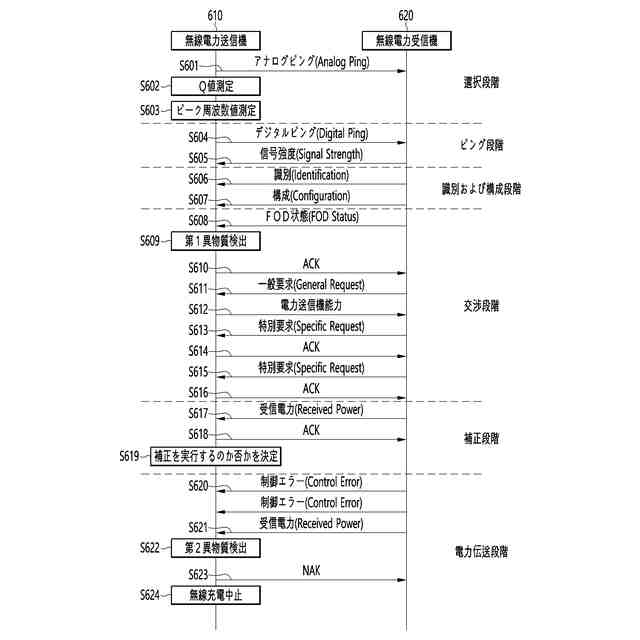
一般的に、無線充電システムは、無線電力伝送方式で電気エネルギーを供給する無線電
力送信機と無線電力送信機から供給される電気エネルギーを受信してバッテリーを充電す
る無線電力受信機から構成される。
【0006】
このような無線充電システムは、少なくとも1つの無線電力伝送方式(例えば、電磁誘
導方式、電磁共鳴方式、RF無線電力伝送方式など)によって電力を伝送することができ
る。
【0007】
一例として、無線電力伝送方式は、電力送信機コイルから磁場を発生させ、その磁場の
影響で受信コイルで電気が誘導される電磁誘導の原理を利用して充電する電磁誘導方式に
基づいた様々な無線電力伝送標準が用いられる。ここで、電磁誘導方式の無線電力伝送標
準は、WPC(Wireless Power Consortium)とAir Fuel Alliance(旧PMA、Power Matters All
iance)で定義された電磁誘導方式の無線充電技術を含むことができる。
【0008】
別の一例として、無線電力伝送方式は、無線電力送信機の送信コイルによって発生する
磁場を、特定の共振周波数に同調して近距離に位置した無線電力受信機に電力を伝送する
電磁共鳴(Electromagnetic Resonance)方式が用いられることもある。ここで、電磁共鳴
方式は、無線充電技術の標準機構であるAir Fuel Alliance(旧A4WP、Alliance for Wirel
ess Power)標準機構で定義された共振方式の無線充電技術を含むことができる。
【0009】
別の一例として、無線電力伝送方式は、RF信号に低電力のエネルギーを乗せて遠距離
に位置した無線電力受信機に電力を伝送するRF無線電力伝送方式が用いられることもあ
る。
【0010】
一方、無線充電システムは、無線電力送信機と無線電力受信機との間に金属などの磁場
を吸収する異物質が存在する場合、発熱現象、充電効率の減少、消費電力の増加の問題が
発生するので、正確な異物質検出方法が必要な実情である。
【発明の概要】
【発明が解決しようとする課題】
(【0011】以降は省略されています)
この特許をJ-PlatPat(特許庁公式サイト)で参照する
関連特許
個人
電源装置
15日前
個人
永久磁石モーター
1か月前
個人
バッテリ内蔵直流電源
14日前
株式会社FUJI
制御盤
4日前
オムロン株式会社
電源回路
8日前
オムロン株式会社
電源回路
8日前
オムロン株式会社
電源回路
8日前
エイブリック株式会社
バッテリ装置
1か月前
日産自動車株式会社
電子機器
25日前
トヨタ自動車株式会社
回転子
今日
ニデック株式会社
モータの制御方法
22日前
トヨタ自動車株式会社
回転子
15日前
東京応化工業株式会社
発電装置
8日前
ミサワホーム株式会社
居住設備
4日前
トヨタ自動車株式会社
溶接装置
28日前
大豊工業株式会社
モータ
14日前
井関農機株式会社
充電システム
25日前
三菱ケミカル株式会社
電池
1か月前
株式会社リコー
拡張アンテナ装置
7日前
ユタカ電業株式会社
ケーブルダクト
4日前
トヨタ自動車株式会社
ロータ
2日前
ニチコン株式会社
AC入力検出回路
今日
愛知電機株式会社
巻線方法および巻線装置
1か月前
富士電子工業株式会社
電力変換装置
16日前
日産自動車株式会社
ステータ
1日前
株式会社ダイヘン
電力変換装置
1か月前
株式会社アイシン
直流回転電機
28日前
株式会社正興電機製作所
地絡確認装置
7日前
NTN株式会社
モータユニット
4日前
株式会社大林組
可搬式充電設備
1日前
株式会社ミツバ
巻線装置
7日前
株式会社ダイヘン
電力管理装置
23日前
株式会社デンソー
電力変換装置
今日
住友電装株式会社
ワイヤハーネス
24日前
株式会社ダイヘン
変換装置集積体
1か月前
大阪瓦斯株式会社
蓄電装置
1か月前
続きを見る
他の特許を見る