TOP
|
特許
|
意匠
|
商標
特許ウォッチ
Twitter
他の特許を見る
10個以上の画像は省略されています。
公開番号
2025143070
公報種別
公開特許公報(A)
公開日
2025-10-01
出願番号
2024042787
出願日
2024-03-18
発明の名称
情報処理装置、情報処理方法、及び情報処理プログラム
出願人
株式会社ブリヂストン
代理人
弁理士法人太陽国際特許事務所
主分類
G01M
17/02 20060101AFI20250924BHJP(測定;試験)
要約
【課題】車両の走行に応じて変化する車両の乗員の視野を含んだ車両の乗員に対する入出力を考慮して、タイヤの評価に関係する情報を推定する。
【解決手段】情報処理装置は、車両の走行に応じて時系列に変化する乗員の視野に関する複数の一連の画像情報を取得する取得部と(S201)、その複数の一連の画像情報を入力とし、乗員の視野に関する特徴情報を出力とする画像特徴モデルを用いて、乗員の視野に関する画像特徴情報を生成する生成部と(S203)、その複数の画像特徴情報を入力とし、入力された情報に関して時系列に変化する特徴を示す情報を抽出可能である第1モデルを用いて、走行シーンにおける乗員の視野に関する複数の特徴情報を抽出する抽出部と(S206)、その特徴情報を入力とし、評価情報を出力とする第2モデルを用いて、走行シーンにおける評価情報と乗員の視野との関連情報を導出する導出部と(S212)、を備える。
【選択図】図10
特許請求の範囲
【請求項1】
タイヤが取り付けられている車両の走行に応じて時系列に変化し、かつ前記車両の乗員に対する入出力を示す情報のうち前記乗員の視野に関する複数の一連の画像情報を取得する取得部と、
前記取得部で取得された前記複数の一連の画像情報を入力とし、前記乗員の視野に関する特徴情報を出力とする画像特徴モデルを用いて、前記複数の一連の画像情報の各々における前記乗員の視野に関する特徴情報である画像特徴情報を生成する生成部と、
前記生成部で生成された画像特徴情報を入力とし、当該入力された情報に関して時系列に変化する特徴を示す情報を抽出可能である第1モデルを用いて、前記車両の走行を複数の時間区間に分割した複数の走行シーンの各々における前記乗員の視野に関する特徴を示す複数の特徴情報を抽出する抽出部と、
前記抽出部で抽出された前記複数の特徴情報を入力とし、前記タイヤに対する評価を示す評価情報を出力とする第2モデルを用いて、前記複数の走行シーンの各々における前記評価情報と前記乗員の視野との関連を示す関連情報を導出する導出部と、
を備えた情報処理装置。
続きを表示(約 1,900 文字)
【請求項2】
前記抽出部は、前記複数の走行シーンの各々に対応する予め定めた複数の異なるタイミングにおける前記第1モデルの内部状態を示す情報を前記複数の特徴情報として抽出する、
請求項1に記載の情報処理装置。
【請求項3】
前記導出部は、前記複数の走行シーンの各々における前記第2モデルの内部状態を示す情報に基づいて、前記評価情報に対する前記乗員の視野の関連性の度合いを示す重要度を前記関連情報として導出する、
請求項1に記載の情報処理装置。
【請求項4】
前記取得部は、
前記タイヤが取り付けられている車両の走行に応じて時系列に変化し、かつ前記乗員の視野に関する入出力以外の前記車両の乗員に対する入出力を示す複数の一連の時系列情報をさらに取得し、
前記抽出部は、
前記取得部で取得された前記複数の一連の画像情報および前記複数の一連の時系列情報を入力とし、前記第1モデルを用いて、前記複数の走行シーンの各々における前記乗員の入出力に対する特徴を示す情報を前記複数の特徴情報としてさらに抽出し、
前記導出部は、
前記抽出部で抽出された前記複数の特徴情報を入力とし、前記タイヤに対する評価を示す前記評価情報を出力とする前記第2モデルを用いて、前記複数の走行シーンの各々における前記評価情報と前記乗員に対する入出力との関連を示す情報を前記関連情報として導出する、
請求項1に記載の情報処理装置。
【請求項5】
前記画像特徴モデルは、変分オートエンコーダモデルであり、
前記第1モデルは、リカレントニューラルネットワークモデルであり、
前記第2モデルは、ランダムフォレストモデルである、
請求項1に記載の情報処理装置。
【請求項6】
前記時系列情報は、乗員の腕に関する入出力を示す腕部情報、乗員の腰への入力を示す腰部情報、および乗員の頭部への入力を示す頭部情報を含み、
前記腕部情報は、操舵角および操舵トルクの少なくとも一方を示すデータであり、前記腰部情報は、座席シート上の乗員の重心位置を示すデータであり、前記頭部情報は、頭部加速度および角速度を示すデータである、
請求項4に記載の情報処理装置。
【請求項7】
コンピュータが、
タイヤが取り付けられている車両の走行に応じて時系列に変化し、かつ前記車両の乗員に対する入出力を示す情報のうち前記乗員の視野に関する複数の一連の画像情報を取得し、
取得された前記複数の一連の画像情報を入力とし、前記乗員の視野に関する特徴情報を出力とする画像特徴モデルを用いて、前記複数の一連の画像情報の各々における前記乗員の視野に関する特徴情報である画像特徴情報を生成し、
生成された画像特徴情報を入力とし、当該入力された情報に関して時系列に変化する特徴を示す情報を抽出可能である第1モデルを用いて、前記車両の走行を複数の時間区間に分割した複数の走行シーンの各々における前記乗員の視野に関する特徴を示す複数の特徴情報を抽出し、
抽出された前記複数の特徴情報を入力とし、前記タイヤに対する評価を示す評価情報を出力とする第2モデルを用いて、前記複数の走行シーンの各々における前記評価情報と前記乗員の視野との関連を示す関連情報を導出する、
ことを処理する情報処理方法。
【請求項8】
コンピュータに
タイヤが取り付けられている車両の走行に応じて時系列に変化し、かつ前記車両の乗員に対する入出力を示す情報のうち前記乗員の視野に関する複数の一連の画像情報を取得し、
取得された前記複数の一連の画像情報を入力とし、前記乗員の視野に関する特徴情報を出力とする画像特徴モデルを用いて、前記複数の一連の画像情報の各々における前記乗員の視野に関する特徴情報である画像特徴情報を生成し、
生成された画像特徴情報を入力とし、当該入力された情報に関して時系列に変化する特徴を示す情報を抽出可能である第1モデルを用いて、前記車両の走行を複数の時間区間に分割した複数の走行シーンの各々における前記乗員の視野に関する特徴を示す複数の特徴情報を抽出し、
抽出された前記複数の特徴情報を入力とし、前記タイヤに対する評価を示す評価情報を出力とする第2モデルを用いて、前記複数の走行シーンの各々における前記評価情報と前記乗員の視野との関連を示す関連情報を導出する、
ことを処理させる、情報処理プログラム。
発明の詳細な説明
【技術分野】
【0001】
本開示は、情報処理装置、情報処理方法、及び情報処理プログラムに関する。
続きを表示(約 2,300 文字)
【背景技術】
【0002】
センサからの時系列データを用いて、当該時系列データを入力として利用するモデルの出力に対する重要度を算出する情報処理装置が知られている(例えば、特許文献1参照)。この技術では、処理対象に関する時系列データを取得し、取得された時系列データから所定の時間幅の時系列データを切り出して得られる、時間幅がそれぞれ異なる複数の時系列データをそれぞれグループとして設定する。そして、設定されたグループごとに、時系列データを入力値として利用するモデルの出力値に対する重要度に関するスコアを算出する。
【0003】
また、フレームごとの特徴ベクトルの系列から、時間区間ごとに特徴量を選択して代表特徴ベクトルを生成する生成装置が知られている(例えば、特許文献2参照)。この技術では、フレームごとの特徴ベクトルの系列から、時間区間ごとに、時間区間に含まれる複数のフレームの特徴ベクトルを選定する手段と、時間区間ごとに、選定された時間区間内の異なるフレームの特徴ベクトルから、特徴ベクトルの異なる次元の特徴量を選択し、時間区間を代表する代表特徴ベクトルを生成する手段とを備えている。
【先行技術文献】
【特許文献】
【0004】
特開2020-166442号
国際公開第2010/087125号
【発明の概要】
【発明が解決しようとする課題】
【0005】
ところで、車両に取り付けられたタイヤの性能、例えば、操縦安定性能は、車両が走行する状態で、車両の乗員による官能評価を行う場合がある。ところが、この官能評価は車両の乗員による走行の結果として得られるが、官能評価の結果に関する根拠,例えば、どのタイミングで、どの情報が寄与するのかを特定することが困難であった。また、近年の技術進歩に従って官能評価の結果を予測するモデルの開発が行われている。このモデルを用いて官能評価の結果を予測することが可能になる。ところが、このモデルを用いたとしても、官能評価の予測結果に関する根拠、例えば、どのタイミングで、どの情報が寄与するのかを特定することが困難であった。従って、車両に取り付けられたタイヤの性能を評価するのには改善の余地がある。
【0006】
本開示は、車両の走行に応じて変化する車両の乗員の視野を含んだ車両の乗員に対する入出力を考慮して、タイヤの評価に関係する情報を推定することができる情報処理装置、情報処理方法、及び情報処理プログラムを提供することを目的とする。
【課題を解決するための手段】
【0007】
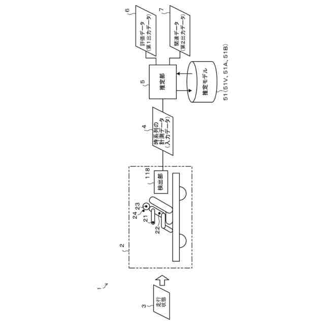
本開示の第1態様は、
タイヤが取り付けられている車両の走行に応じて時系列に変化し、かつ前記車両の乗員に対する入出力を示す情報のうち前記乗員の視野に関する複数の一連の画像情報を取得する取得部と、
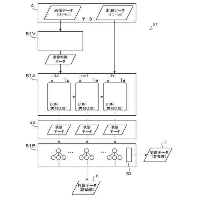
前記取得部で取得された前記複数の一連の画像情報を入力とし、前記乗員の視野に関する特徴情報を出力とする画像特徴モデルを用いて、前記複数の一連の画像情報の各々における前記乗員の視野に関する特徴情報である画像特徴情報を生成する生成部と、
前記生成部で生成された画像特徴情報を入力とし、当該入力された情報に関して時系列に変化する特徴を示す情報を抽出可能である第1モデルを用いて、前記車両の走行を複数の時間区間に分割した複数の走行シーンの各々における前記乗員の視野に関する特徴を示す複数の特徴情報を抽出する抽出部と、
前記抽出部で抽出された前記複数の特徴情報を入力とし、前記タイヤに対する評価を示す評価情報を出力とする第2モデルを用いて、前記複数の走行シーンの各々における前記評価情報と前記乗員の視野との関連を示す関連情報を導出する導出部と、
を備えた情報処理装置である。
【0008】
第2態様は、第1態様の情報処理装置において、
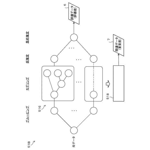
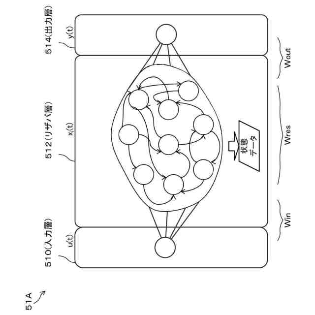
前記抽出部は、前記複数の走行シーンの各々に対応する予め定めた複数の異なるタイミングにおける前記第1モデルの内部状態を示す情報を前記複数の特徴情報として抽出する。
【0009】
第3態様は、第1態様または第2態様の情報処理装置において、
前記導出部は、前記複数の走行シーンの各々における前記第2モデルの内部状態を示す情報に基づいて、前記評価情報に対する前記乗員の視野の関連性の度合いを示す重要度を前記関連情報として導出する。
【0010】
第4態様は、第1態様から第3態様の何れか1態様の情報処理装置において、
前記取得部は、
前記タイヤが取り付けられている車両の走行に応じて時系列に変化し、かつ前記乗員の視野に関する入出力以外の前記車両の乗員に対する入出力を示す複数の一連の時系列情報をさらに取得し、
前記抽出部は、
前記取得部で取得された前記複数の一連の画像情報および前記複数の一連の時系列情報を入力とし、前記第1モデルを用いて、前記複数の走行シーンの各々における前記乗員の入出力に対する特徴を示す情報を前記複数の特徴情報としてさらに抽出し、
前記導出部は、
前記抽出部で抽出された前記複数の特徴情報を入力とし、前記タイヤに対する評価を示す前記評価情報を出力とする前記第2モデルを用いて、前記複数の走行シーンの各々における前記評価情報と前記乗員に対する入出力との関連を示す情報を前記関連情報として導出する。
(【0011】以降は省略されています)
この特許をJ-PlatPat(特許庁公式サイト)で参照する
関連特許
株式会社ブリヂストン
タイヤ
1日前
株式会社ブリヂストン
情報処理装置、情報処理方法、及び情報処理プログラム
3日前
個人
計量スプーン
25日前
個人
微小振動検出装置
1か月前
株式会社イシダ
X線検査装置
1か月前
日本精機株式会社
位置検出装置
3日前
日本精機株式会社
位置検出装置
3日前
日本精機株式会社
位置検出装置
3日前
大和製衡株式会社
組合せ秤
8日前
大和製衡株式会社
組合せ秤
8日前
アズビル株式会社
圧力センサ
2日前
株式会社東芝
センサ
8日前
トヨタ自動車株式会社
検査装置
5日前
エイブリック株式会社
磁気センサ回路
2日前
株式会社ユーシン
操作検出装置
5日前
株式会社東芝
センサ
1か月前
アンリツ株式会社
分光器
1か月前
アンリツ株式会社
分光器
1か月前
トヨタ自動車株式会社
表示装置
17日前
ダイハツ工業株式会社
測定用具
29日前
株式会社東芝
センサ
8日前
TDK株式会社
ガスセンサ
1か月前
株式会社ヨコオ
コンタクタ
29日前
株式会社ナリス化粧品
角層細胞採取用具
15日前
TDK株式会社
ガスセンサ
2日前
株式会社精工技研
光電圧プローブ
1か月前
東レエンジニアリング株式会社
計量装置
5日前
TDK株式会社
磁気センサ
25日前
TDK株式会社
磁気センサ
1か月前
個人
粘塑性を用いた有限要素法の定式化
17日前
株式会社東芝
重量測定装置
1日前
日本精工株式会社
分注装置
1か月前
TDK株式会社
ガスセンサ
1日前
株式会社カワタ
サンプリング装置
1か月前
三菱マテリアル株式会社
温度センサ
15日前
三菱マテリアル株式会社
温度センサ
15日前
続きを見る
他の特許を見る