TOP
|
特許
|
意匠
|
商標
特許ウォッチ
Twitter
他の特許を見る
10個以上の画像は省略されています。
公開番号
2025143069
公報種別
公開特許公報(A)
公開日
2025-10-01
出願番号
2024042786
出願日
2024-03-18
発明の名称
防災車両用シャックルおよびそれを備えた防災車両
出願人
帝国繊維株式会社
代理人
個人
主分類
B60D
1/02 20060101AFI20250924BHJP(車両一般)
要約
【課題】車両走行中の騒音発生がなく、作業性が良く、防災車両用シャックルの各部およびその周辺部の損傷を抑制可能な防災車両用シャックルおよびそれを備えた防災車両を提供する。
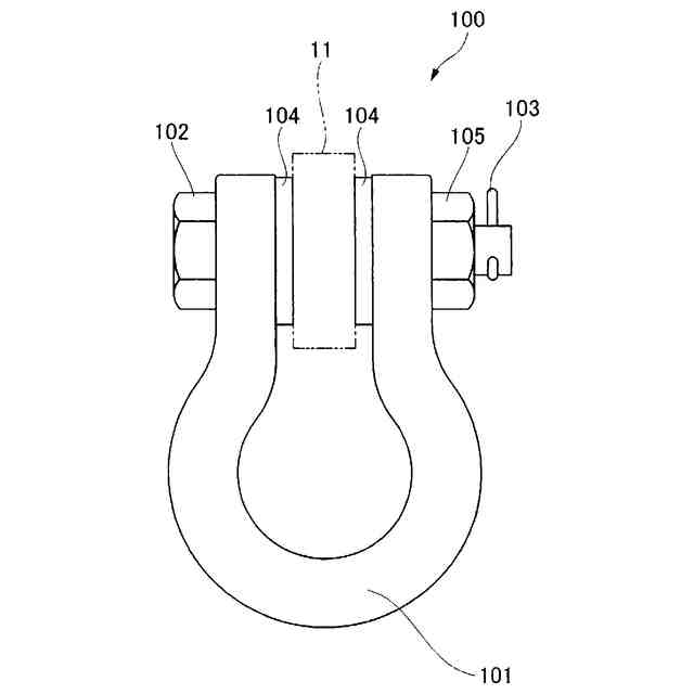
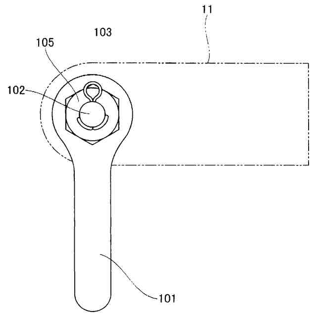
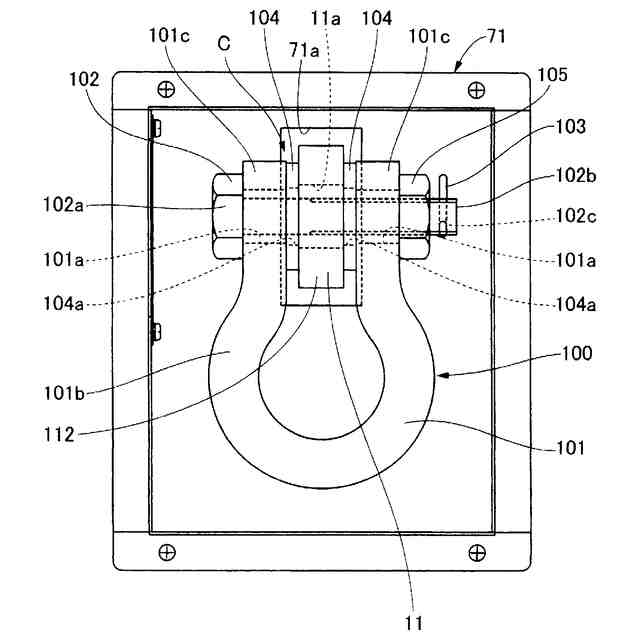
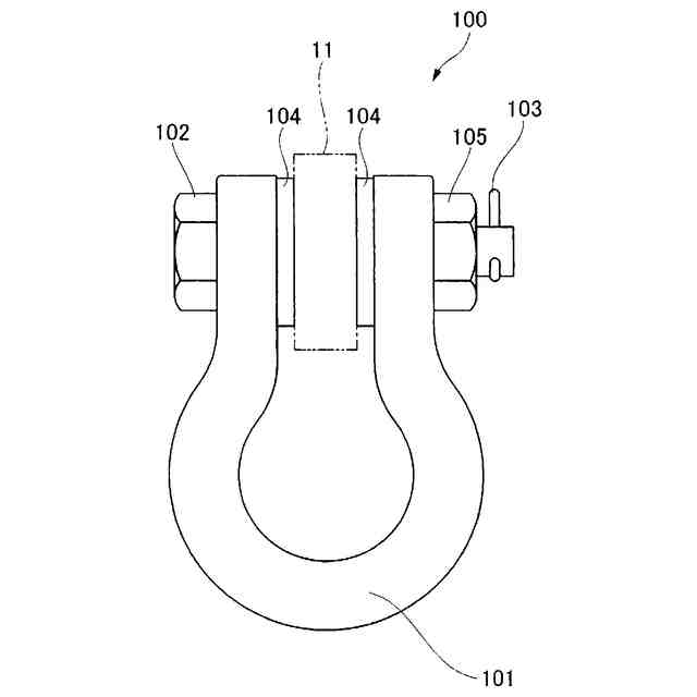
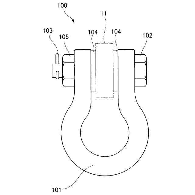
【解決手段】防災車両用シャックル100は、U字形状に形成される湾曲部101bと一対の軸部101c,101cと一対の軸部のそれぞれの端部に形成される本体用孔部101aとを有するシャックル本体101と、シャックル本体101の開放部を遮断状態Cにするシャックルボルト102と、遮断状態Cのシャックルボルト102に羅合されるナット部105と、一対の軸部101c,101cと取付部材11との間に配置される振止スペーサ104と、を備える。振止スペーサ104は、可撓性を有する部材から形成され、遮断状態Cでナット部105を締め付けることにより取付部材11に対するシャックル本体101の振れ止めを行うように構成されている。
【選択図】図6
特許請求の範囲
【請求項1】
防災車両に備わる取付部材に取り付けられる防災車両用シャックルであって、
U字形状に形成される湾曲部と前記湾曲部につながる一対の軸部と前記一対の軸部のそれぞれの端部に形成される本体用孔部とを有するシャックル本体と、
前記取付部材を前記一対の軸部の間に配置した状態で前記取付部材の取付用孔部と一対の前記本体用孔部とに挿通されることにより前記一対の軸部の間に形成される開放部を遮断状態にするシャックルボルトと、
前記遮断状態の前記シャックルボルトの雄ねじ部に羅合されるナット部と、
前記シャックルボルトに外嵌されるとともに前記一対の軸部と前記取付部材との間に配置される振止スペーサと、を備え、
前記振止スペーサは、可撓性を有する部材から形成され、前記遮断状態で前記ナット部を締め付けることにより前記取付部材に対する前記シャックル本体の振れ止めを行うように構成されている、
ことを特徴とする防災車両用シャックル。
続きを表示(約 490 文字)
【請求項2】
請求項1に記載の防災車両用シャックルを備えた防災車両であって、
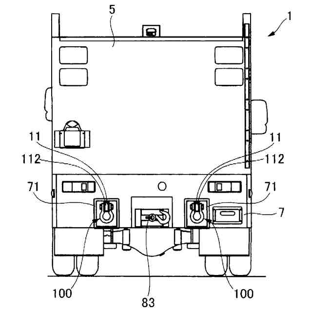
車両前後方向に延びるシャシフレームと、
前記シャシフレームの車両前後方向の端部に固定される取付ベースと、を備え、
前記取付部材は、前記取付用孔部と締結用孔部とを有するとともに帯板状に形成され、
前記取付用孔部は、前記取付部材の一端部に設けられ、
前記取付部材は、前記取付用孔部およびその近傍部分が車両外部に露出するとともに前記締結用孔部が車両内部に位置するように配置されて、前記取付ベースに対して前記締結用孔部を挿通する締結部材により取り付けられている、
ことを特徴とする防災車両。
【請求項3】
車両前端部および/または車両後端部にワイヤの車外引出部を有するウインチ装置を備え、
前記取付部材は、前記車外引出部の近傍に配置されている、
ことを特徴とする請求項2に記載の防災車両。
【請求項4】
前記車外引出部は、前記取付ベースに取り付けられている、
ことを特徴とする請求項3に記載の防災車両。
発明の詳細な説明
【技術分野】
【0001】
本発明は、救助活動や消火活動を行うための防災車両に取り付けられる防災車両用シャックル、およびそれを備えた防災車両に関する。
続きを表示(約 2,000 文字)
【背景技術】
【0002】
従来、火災や震災、事故等の災害発生時に救助活動や消火活動のために出動される防災車両がある。このような防災車両には、救助活動や消火活動を行うための装備品を収納する収納庫と、救助活動用のウインチ装置とを備えたものが知られている(例えば、特許文献1参照)。特許文献1の防災車両は、車両後輪よりも後方かつ収納庫の側壁よりも下方の位置に、ウインチ装置を備えている。このウインチ装置のワイヤは、車両前部の車外引出部に向かって車両前方に延びるように配置されている。そして、車両前部には、ワイヤの車外引出部が設けられている。
【0003】
ウインチ装置は、例えば交通事故を起こして事故車両の内部に閉じ込められた要救助者を救助するために使用される。この場合、車外引出部から引き出したワイヤのフックを事故車両の適切な場所に引っ掛けてウインチ装置を駆動することにより、事故車両の場所移動を行ったり、事故車両内の空間を拡げたりする。
【0004】
特許文献1のような従来の防災車両では、ロープを繋いだりフックをかけたりするための防災車両用シャックルが備わっていることがある。この防災車両用シャックルは、ウインチ装置の使用時に活用することができる。また、従来の防災車両では、このようなワイヤの車外引出部と防災車両用シャックルとを車両前部だけでなく車両後部に設けることがある。
【0005】
従来の防災車両用シャックルは、U字形状に形成されるとともに両端部のそれぞれに本体用孔部を有するシャックル本体と、シャックルピンとを備えている。防災車両用シャックルは、車両前部または車両後部に設けられた取付部材に対して取り付けられる。具体的には、取付部材をシャックル本体の両端部の間に配置した状態で取付部材の取付用孔部と一対の本体用孔部にシャックルピンを挿通させ、シャックル本体の開放部を遮断状態にすることにより、防災車両用シャックルは取付部材に対して取り付けられる。
【先行技術文献】
【特許文献】
【0006】
特開2023-160375号公報
【発明の概要】
【発明が解決しようとする課題】
【0007】
しかしながら、従来の防災車両用シャックルでは、取付部材に対するシャックル本体の振れ止めが全く行われていなかった。そのため、防災車両の走行中の車体の揺れによってシャックル本体が激しく揺さぶられ、シャックル本体が取付部材の周辺部に衝突することがあった。これにより、騒音が発生したり、取付部材の周辺部が損傷したりするおそれがあった。
【0008】
また、従来の防災車両用シャックルでは、シャックル本体は、自重によって常時取付部材から下方に吊り下げ状態となっていた。そのため、シャックル本体にロープを繋いだりフックをかけたりする作業を行う場合、シャックル本体の向きを変えてその状態を維持しつつ作業を行う必要があったので、煩雑であった。また、従来の防災車両用シャックルでは、シャックル本体にロープやフックからの荷重が加わるとシャックル本体および取付部材に高い応力が発生することにより、取付部材および防災車両用シャックルの各部を痛めやすいという問題点があった。
【0009】
本発明は、上記実情を考慮してなされたものであり、その目的は、車両走行中の騒音発生がなく、作業性が良く、防災車両用シャックルの各部およびその周辺部の損傷を抑制可能な防災車両用シャックルおよびそれを備えた防災車両を提供することである。
【課題を解決するための手段】
【0010】
上述の課題を解決するために本明細書に開示する発明は、以下のように構成されている。すなわち、第1の発明は、防災車両に備わる取付部材に取り付けられる防災車両用シャックルであって、U字形状に形成される湾曲部と前記湾曲部につながる一対の軸部と前記一対の軸部のそれぞれの端部に形成される本体用孔部とを有するシャックル本体と、前記取付部材を前記一対の軸部の間に配置した状態で前記取付部材の取付用孔部と一対の前記本体用孔部とに挿通されることにより前記一対の軸部の間に形成される開放部を遮断状態にするシャックルボルトと、前記遮断状態の前記シャックルボルトの雄ねじ部に羅合されるナット部と、前記シャックルボルトに外嵌されるとともに前記一対の軸部と前記取付部材との間に配置される振止スペーサと、を備え、前記振止スペーサは、可撓性を有する部材から形成され、前記遮断状態で前記ナット部を締め付けることにより前記取付部材に対する前記シャックル本体の振れ止めを行うように構成されている、ことを特徴とする。
(【0011】以降は省略されています)
この特許をJ-PlatPat(特許庁公式サイト)で参照する
関連特許
帝国繊維株式会社
検診コンテナおよびコンテナ運搬車
3か月前
帝国繊維株式会社
防災車両用シャックルおよびそれを備えた防災車両
1か月前
個人
タイヤレバー
3か月前
個人
前輪キャスター
3か月前
個人
上部一体型自動車
1か月前
個人
空間形成装置
24日前
個人
ルーフ付きトライク
3か月前
個人
タイヤ脱落防止構造
2か月前
個人
ホイルのボルト締結
4か月前
日本精機株式会社
表示装置
3か月前
日本精機株式会社
表示装置
3か月前
日本精機株式会社
表示装置
3か月前
個人
マスタシリンダ
1か月前
個人
車両通過構造物
3か月前
日本精機株式会社
表示装置
3か月前
日本精機株式会社
照明装置
19日前
個人
車両用スリップ防止装置
5か月前
個人
常設収納型サンバイザー
1か月前
個人
乗合路線バスの客室装置
4か月前
個人
アクセルのソフトウェア
5か月前
日本精機株式会社
車載表示装置
2か月前
日本精機株式会社
画像投映装置
1か月前
日本精機株式会社
車室演出装置
2か月前
日本精機株式会社
車載表示装置
4か月前
株式会社ニフコ
保持装置
4か月前
個人
回転窓ワイパー装置
24日前
株式会社ニフコ
収納装置
2か月前
個人
円湾曲ホイール及び球体輪
4か月前
日本精機株式会社
車載表示装置
25日前
個人
音声ガイド、音声サービス
4か月前
株式会社ニフコ
照明装置
3か月前
株式会社豊田自動織機
産業車両
3か月前
日本精機株式会社
車載表示装置
27日前
日本精機株式会社
車載表示装置
1か月前
株式会社豊田自動織機
産業車両
19日前
個人
車載小物入れ兼雨傘収納具
4か月前
続きを見る
他の特許を見る