TOP
|
特許
|
意匠
|
商標
特許ウォッチ
Twitter
他の特許を見る
10個以上の画像は省略されています。
公開番号
2025119321
公報種別
公開特許公報(A)
公開日
2025-08-14
出願番号
2024014161
出願日
2024-02-01
発明の名称
検診コンテナおよびコンテナ運搬車
出願人
帝国繊維株式会社
代理人
個人
主分類
B60P
3/00 20060101AFI20250806BHJP(車両一般)
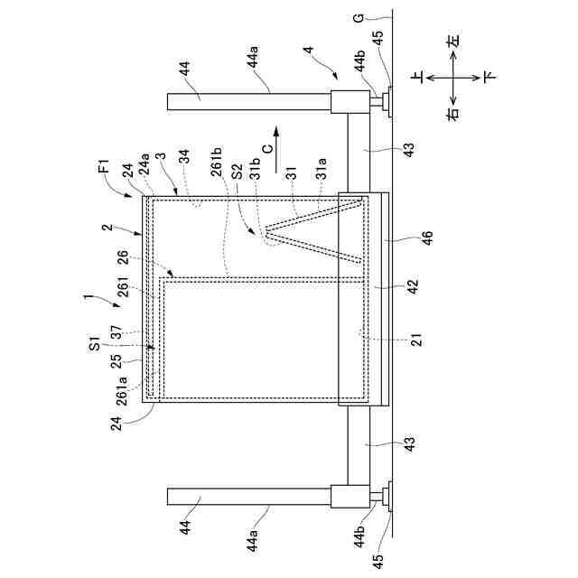
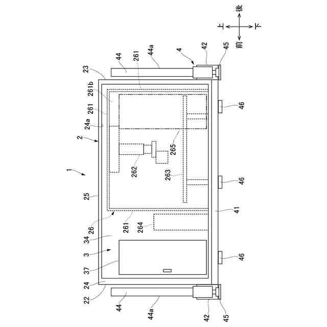
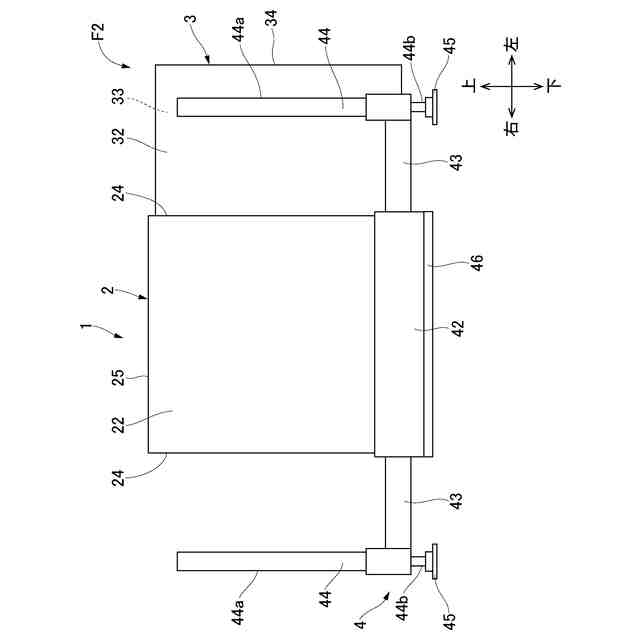
要約
【課題】移動と現地での検診業務とを効率的に行うとともに受診者の快適性を向上させ得る検診コンテナおよびコンテナ運搬車を提供する。
【解決手段】内部に画像診断室26を有するコンテナ本体2と、コンテナ本体2に対して左右方向に突出させた拡張状態またはコンテナ本体2の内部に収納した収納状態に変更自在な拡幅部3と、を備える。画像診断室26の内部には、画像診断装置262が設けられる。拡張状態の拡幅部3の内部には、画像診断室26の内部に入る順番を待つ人のための待機スペースおよび画像診断以外の検診を行うための一般検診スペースが設けられる。
【選択図】図1
特許請求の範囲
【請求項1】
内部に画像診断室を有するコンテナ本体と、前記コンテナ本体に対して左右方向に突出させた拡張状態または前記コンテナ本体の内部に収納した収納状態に変更自在な拡幅部と、を備え、
前記画像診断室の内部には、画像診断装置が設けられ、
前記拡張状態の前記拡幅部の内部には、前記画像診断室の内部に入る順番を待つ人のための待機スペースおよび/または画像診断以外の検診を行うための一般検診スペースが設けられる、
ことを特徴とする検診コンテナ。
続きを表示(約 920 文字)
【請求項2】
前記コンテナ本体および前記拡幅部を前記地面に対して昇降させるためのジャッキ装置を備え、
前記ジャッキ装置は、前記コンテナ本体の底部の4隅のそれぞれに配置されるジャッキシリンダと、各前記ジャッキシリンダを左右方向にスライドさせるためのスライド部材と、を備える、
ことを特徴とする請求項1に記載の検診コンテナ。
【請求項3】
前記画像診断室は、複数の間仕切り壁部により前記コンテナ本体の内部空間を仕切って形成され、
前記拡幅部は、拡幅用天井壁部と、前後方向のヒンジ軸まわりに折り畳み自在な拡幅用床壁部と、上端が前記拡幅用天井壁部に接続されるとともに下端が前記拡幅用床壁部と接続される拡幅用側壁部と、を有し、
前記拡幅用天井壁部は、前記収納状態において前記コンテナ本体の天井壁部と前記画像診断室の天井側の前記間仕切り壁部との間に形成される第1収納空間に収納され、
前記拡幅用床壁部は、前記収納状態において前記拡幅用側壁部と前記画像診断室の前記拡幅部側の前記間仕切り壁部との間に形成される第2収納空間に折り畳んで収納されるように構成した、
ことを特徴とする請求項2に記載の検診コンテナ。
【請求項4】
請求項1~請求項3のいずれか1項に記載の検診コンテナを荷台と地面との間で積み降ろしするとともに前記荷台に搭載状態の前記検診コンテナを運搬するコンテナ運搬車であって、
車両前部に、前席側空間と後席側空間とを有するダブルキャブを備える、
ことを特徴とするコンテナ運搬車。
【請求項5】
前記荷台は、長方形形状の床板部と、前記床板部の左右端に着脱自在に取り付けられる側板部と、前記床板部の後端に着脱自在に取り付けられる後板部と、を備え、
前記検診コンテナを運搬する場合、前記側板部および前記後板部を前記床板部から取り外して使用され、
前記検診コンテナを運搬しない場合、前記側板部および前記後板部を前記床板部に取り付けて使用されるように構成した、
ことを特徴とする請求項4に記載のコンテナ運搬車。
発明の詳細な説明
【技術分野】
【0001】
本発明は、X線撮影装置、コンピュータ断層撮影装置、磁気共鳴画像診断装置等の画像診断装置を備えた検診コンテナおよび検診コンテナを運搬するコンテナ運搬車に関する。
続きを表示(約 2,200 文字)
【背景技術】
【0002】
従来、巡回検診は、会社が主体となって工場やオフィス等の事業所で行われたり、自治体が主体となって地域で行われたりする。巡回検診は、受診者が検診のために病院へ移動する手間をなくし、効率的に検診を行えるというメリットがある。特に、過疎地域では、交通機関もあまり普及しておらず、高齢者が施設検診に自ら出向くことは難しいので、過疎地域における巡回検診は高齢者にとって非常に役立つものである。巡回検診では、レントゲン検診車が利用されている。従来のレントゲン検診車は、X線撮影装置およびその他の機器を車両の一室に設けて構成されている(例えば、特許文献1参照)。特許文献1には、自動車の車室を仕切壁によって3つの部屋に仕切り、前部の部屋に運転席とX線制御装置を配置し、中央の部屋に画像診断室(X線撮影室)を設けたレントゲン検診車が開示されている。
【先行技術文献】
【特許文献】
【0003】
特開平6-277203号公報
【発明の概要】
【発明が解決しようとする課題】
【0004】
しかしながら、特許文献1のような従来のレントゲン検診車は、エンジンやトランスミッション等の走行駆動部、運転席、X線制御装置およびX線撮影装置が一体に設けられて分離できないものであった。巡回検診は、事業所内や地域内の多くの受診者に順番で検診を受けさせるために、医療従事者にとっては1日がかりの業務となるとなることも多い。そのため、レントゲン検診車も1日中一つの場所に駐車状態に置かれることが多かった。レントゲン検診車が大型の場合、レントゲン検診車を車庫から巡回検診が行われる場所まで移動させるために大型免許が必要になる。一方、X線撮影装置を使用する人物は、診療放射線技師等の免許を取得した医療従事者である。仮に、レントゲン検診車の移動業務を行う人物と検診業務を行う人物とを同一人物で対応させようとした場合、免許取得の煩雑さ等から人材の確保がかなり難しい。また、レントゲン検診車の移動業務を行う人物を医療従事者と異なる運転専門の運転者にした場合には、当該運転者はレントゲン検診車を車庫から巡回検診が行われる場所まで運転した後、巡回検診が終わるまでの1日運転できない状態が続くので無駄が多くなるという問題点があった。
【0005】
また、特許文献1のような従来のレントゲン検診車は特殊仕様の車両なので、一般的な貨物自動車と比較して稼働率が低くなりがちである。そのため、エンジンやトランスミッション等の走行駆動部はあまり活用されないまま多くの歳月が過ぎてしまうという問題点があった。
【0006】
また、受診者の観点から見た場合、特許文献1のような従来のレントゲン検診車では、画像診断室の床面がトラックシャシ上の地面から高い位置にあった。画像診断室に入るには、傾斜が急な階段やスロープを使用する必要があった。そのため、特に高齢者にとっては、画像診断室に出入りすることが身体的に負担となっていた。
【0007】
また従来、例えばスーパーマーケット等の従業員の職場検診を行う際には、営業中であるため、もともと空いている屋内スペースは事務所内の狭いスペースしかない。そのため、当該従業員の待機や着替えのスペースが足りないという問題点があった。
【0008】
本発明は、上記実情を考慮してなされたものであり、その目的は、移動と現地での検診業務とを効率的に行い得るとともに受診者の快適性を向上させ得る検診コンテナおよびコンテナ運搬車を提供することである。
【課題を解決するための手段】
【0009】
上述の課題を解決するために本明細書に開示する発明は、以下のように構成されている。すなわち、第1の発明は、内部に画像診断室を有するコンテナ本体と、前記コンテナ本体に対して左右方向に突出させた拡張状態または前記コンテナ本体の内部に収納した収納状態に変更自在な拡幅部と、を備え、前記画像診断室の内部には、画像診断装置が設けられ、前記拡張状態の前記拡幅部の内部には、前記画像診断室の内部に入る順番を待つ人のための待機スペースおよび/または画像診断以外の検診を行うための一般検診スペースが設けられる、ことを特徴とする検診コンテナである。
【0010】
第1の発明によれば、画像診断装置用の画像診断室を有する検診コンテナにしたことにより、検診コンテナを移動させるためのコンテナ運搬車の走行駆動部や運転席を、画像診断装置と別体にすることができる。これにより、コンテナ運搬車は、検診コンテナを車庫から検診現場まで移動させた後、検診コンテナを検診現場に置いて別の場所へ移動することができる。これにより、検診コンテナをコンテナ運搬車で移動させる人物を医療従事者と異なる運転専門の運転者にした場合であっても、当該運転者は検診現場に留まる必要がなく、コンテナ運搬車の運転業務に専念することができる。医療従事者は、検診コンテナを移動させるために車両の大型免許を取得する必要がなく、画像診断装置を用いた検診業務に専念することができる。
(【0011】以降は省略されています)
この特許をJ-PlatPat(特許庁公式サイト)で参照する
関連特許
帝国繊維株式会社
防災車両用シャックルおよびそれを備えた防災車両
1か月前
個人
タイヤレバー
3か月前
個人
前輪キャスター
3か月前
個人
上部一体型自動車
1か月前
個人
タイヤ脱落防止構造
2か月前
個人
ルーフ付きトライク
3か月前
個人
空間形成装置
24日前
日本精機株式会社
表示装置
3か月前
日本精機株式会社
表示装置
3か月前
日本精機株式会社
照明装置
19日前
日本精機株式会社
表示装置
3か月前
日本精機株式会社
表示装置
3か月前
個人
マスタシリンダ
1か月前
個人
車両通過構造物
3か月前
個人
常設収納型サンバイザー
1か月前
個人
乗合路線バスの客室装置
4か月前
株式会社豊田自動織機
産業車両
3か月前
日本精機株式会社
車載表示装置
2か月前
個人
円湾曲ホイール及び球体輪
4か月前
株式会社ニフコ
収納装置
2か月前
個人
音声ガイド、音声サービス
4か月前
日本精機株式会社
車載表示装置
1か月前
日本精機株式会社
車室演出装置
2か月前
日本精機株式会社
画像投映装置
1か月前
日本精機株式会社
車載表示装置
25日前
日本精機株式会社
車載表示装置
27日前
個人
回転窓ワイパー装置
24日前
株式会社ニフコ
照明装置
3か月前
株式会社豊田自動織機
産業車両
19日前
個人
音による速度計とプログラム
1か月前
日本精機株式会社
車両用投射装置
1か月前
日本精機株式会社
車両用表示装置
3か月前
井関農機株式会社
作業車両
2か月前
株式会社SUBARU
車両
1か月前
日本無線株式会社
取付金具
4か月前
日本精機株式会社
車両用投影装置
2か月前
続きを見る
他の特許を見る