TOP
|
特許
|
意匠
|
商標
特許ウォッチ
Twitter
他の特許を見る
公開番号
2025142945
公報種別
公開特許公報(A)
公開日
2025-10-01
出願番号
2024042590
出願日
2024-03-18
発明の名称
樹脂筐体
出願人
Astemo株式会社
代理人
弁理士法人志賀国際特許事務所
主分類
H05K
5/15 20250101AFI20250924BHJP(他に分類されない電気技術)
要約
【課題】互いに締結される複数のパーツを有する樹脂筐体であって、嵌合片をパーツから離すように撓ませることなく、パーツ同士を締結可能とする。
【解決手段】樹脂ケース2が、天板部2aと、天板部2aの表面に立設された側壁部2bと、側壁部2bの表面から突出する突起部2cとを有し、樹脂カバー3が、天板部2aとの間に隙間を形成するように天板部2aに対向配置される底板部3aと、底板部3aの表面に立設され、側壁部2bの突起部2cが設けられた面と対向配置される嵌合片3bとを有し、嵌合片3bが、底板部3aの表面から嵌合片3bが延びる方向である延伸方向に沿って形成されると共に一端が開放端とされて延伸方向に突起部2cが挿抜可能な挿抜スリット30が設けられ、挿抜スリット30に挿入された突起部2cを、側壁部2bの表面から突起部2cが突出する方向と直交する方向から挟持する一対の挟持片31を有する。
【選択図】図2
特許請求の範囲
【請求項1】
互いに締結される第1パーツと第2パーツとを有する樹脂筐体であって、
前記第1パーツは、
第1平板部と、
前記第1平板部の表面に立設された立設板部と、
前記立設板部の表面から突出する突起部と
を有し、
前記第2パーツは、
前記第1平板部との間に隙間を形成するように前記第1平板部に対向配置される第2平板部と、
前記第2平板部の表面に立設され、前記立設板部の前記突起部が設けられた面と対向配置される嵌合片と
を有し、
前記嵌合片は、
前記第2平板部の前記表面から前記嵌合片が延びる方向である延伸方向に沿って形成されると共に一端が開放端とされて前記延伸方向に前記突起部が挿抜可能な挿抜スリットが設けられ、
前記挿抜スリットに挿入された前記突起部を、前記立設板部の前記表面から前記突起部が突出する方向と直交する方向から挟持する一対の挟持片を有する
ことを特徴とする樹脂筐体。
続きを表示(約 580 文字)
【請求項2】
前記挟持片は、前記立設板部の前記表面から前記突起部が突出する方向と直交する方向に弾性変形可能であることを特徴とする請求項1記載の樹脂筐体。
【請求項3】
前記突起部は、前記延伸方向に前記突起部を貫通する突起部スリットが設けられていることを特徴とする請求項1または2記載の樹脂筐体。
【請求項4】
前記突起部は、周面が前記挟持片との接触面である円柱状に形成されていることを特徴とする請求項1または2記載の樹脂筐体。
【請求項5】
前記立設板部は、前記嵌合片の少なくとも一部が収容可能な溝部を有し、
前記突起部は、前記溝部の底面から突出している
ことを特徴とする請求項1または2記載の樹脂筐体。
【請求項6】
前記立設板部の前記突起部が設けられた面と前記嵌合片の表面とが当接されていることを特徴とする請求項1または2記載の樹脂筐体。
【請求項7】
前記突起部と当該前記突起部を挟持する前記挟持片を有する前記嵌合片とを含む締結機構を複数備え、
前記延伸方向に沿った方向から見た樹脂筐体形状が多角形状であり、
前記多角形状の異なる辺の各々に前記締結機構が設けられている
ことを特徴とする請求項1または2記載の樹脂筐体。
発明の詳細な説明
【技術分野】
【0001】
本発明は、樹脂筐体に関するものである。
続きを表示(約 1,900 文字)
【背景技術】
【0002】
例えば、特許文献1には、樹脂ケースと、樹脂ケースに装着される樹脂カバーとを備える樹脂筐体が開示されている。特許文献1に開示されているように、各種の電子機器などでは、電子部品や電子回路がプリント回路基板に組み込まれた状態で樹脂筐体に収容されている。
【先行技術文献】
【特許文献】
【0003】
特開2014-194987号公報
【発明の概要】
【発明が解決しようとする課題】
【0004】
特許文献1では、樹脂カバーに嵌合片が設けられ、樹脂ケースに嵌合凸部が設けられている。樹脂カバーの嵌合片が樹脂ケースの嵌合凸部に嵌合することで、樹脂カバーが樹脂ケースに保持固定される。樹脂カバーを樹脂ケースに取り付ける場合には、嵌合片を樹脂ケースから離れる方向に撓ませる必要がある。このように、嵌合片を樹脂ケースから離れる方向に撓ませる必要がある場合には、嵌合片の厚み寸法を薄く形成する必要があり、嵌合片の剛性を高めることが困難となる。このため、例えば、多数の嵌合片を設ける必要が生じる。つまり、特許文献1のように、互いに締結される複数のパーツを有する樹脂筐体である場合に、一方のパーツに対して、他方のパーツから離れるように撓む嵌合片を設けると、嵌合片の剛性を確保しにくい。
【0005】
本発明は、上述する問題点に鑑みてなされたもので、互いに締結される複数のパーツを有する樹脂筐体であって、嵌合片をパーツから離すように撓ませることなく、パーツ同士を締結可能とすることを目的とする。
【課題を解決するための手段】
【0006】
本発明は、上記課題を解決するための手段として、以下の構成を採用する。
【0007】
本発明の第1の態様は、互いに締結される第1パーツと第2パーツとを有する樹脂筐体であって、上記第1パーツが、第1平板部と、上記第1平板部の表面に立設された立設板部と、上記立設板部の表面から突出する突起部とを有し、上記第2パーツが、上記第1平板部との間に隙間を形成するように上記第1平板部に対向配置される第2平板部と、上記第2平板部の表面に立設され、上記立設板部の上記突起部が設けられた面と対向配置される嵌合片とを有し、上記嵌合片が、上記第2平板部の上記表面から上記嵌合片が延びる方向である延伸方向に沿って形成されると共に上記延伸方向に上記突起部が挿抜可能な挿抜スリットが設けられ、上記挿抜スリットに挿入された上記突起部を、上記立設板部の上記表面から上記突起部が突出する方向と直交する方向から挟持する一対の挟持片を有するという構成を採用する。
【発明の効果】
【0008】
本発明によれば、第1パーツの突起部を第2パーツの挿抜スリットに挿入し、突起部を嵌合片に設けられた挟持片に挟持させることで、第1パーツと第2パーツとを締結できる。挿抜スリットは、嵌合片が伸びる方向に沿って形成されており、一端が開放端となるように形成されている。このため、突起部が設けられた立設板部から嵌合片を離すように撓ませることなく、第1パーツと第2パーツとを締結することができる。つまり、本発明は、互いに締結される複数のパーツを有する樹脂筐体であって、嵌合片をパーツから離すように撓ませることなく、パーツ同士を締結することができる。このような本発明によれば、嵌合片を厚く形成することができ、嵌合片の剛性を向上させることができる。
【図面の簡単な説明】
【0009】
本発明の第1実施形態における樹脂筐体を備えるバッテリマネジメントユニットの概略構成を示す斜視図である。
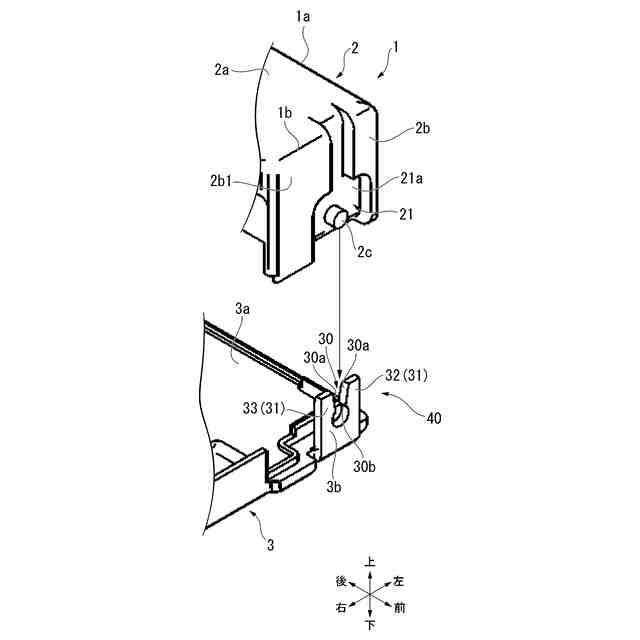
前壁部の1つの溝部を含む本発明の第1実施形態における樹脂筐体の分解拡大斜視図である。
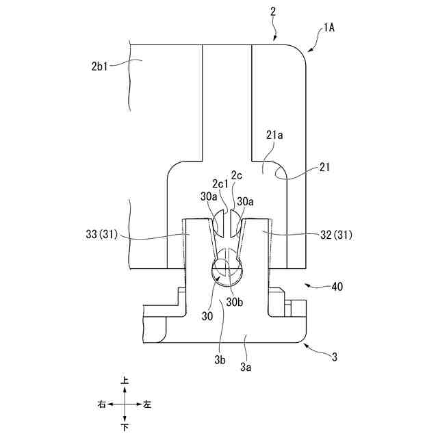
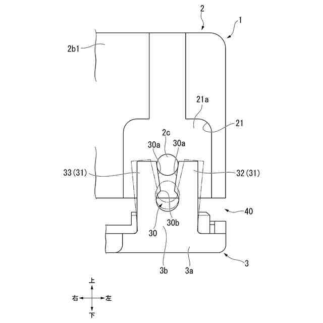
本発明の第1実施形態における樹脂筐体において、前方から見た、嵌合片を含む拡大正面図である。
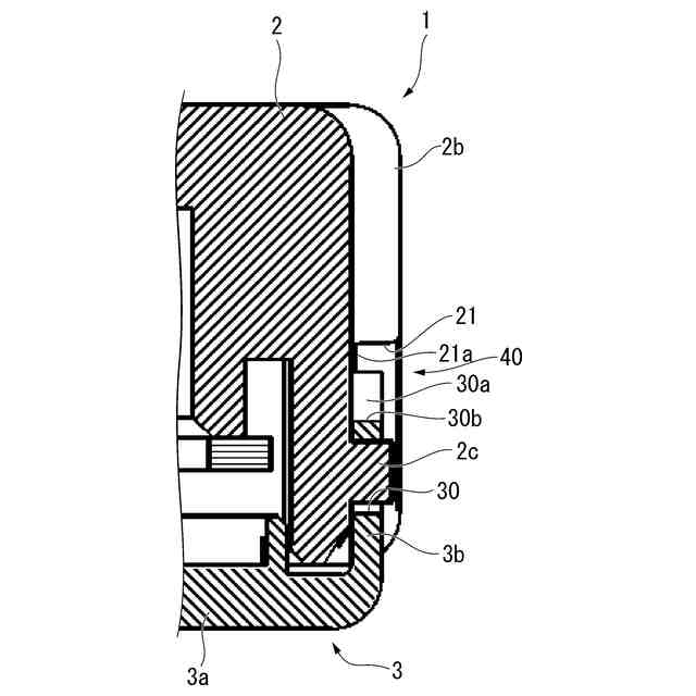
図1のA-A断面図である。
前壁部の1つの溝部を含む本発明の第2実施形態における樹脂筐体の分解拡大斜視図である。
本発明の第2実施形態における樹脂筐体において、前方から見た、嵌合片を含む拡大正面図である。
前壁部の1つの溝部を含む本発明の第3実施形態における樹脂筐体の分解拡大斜視図である。
本発明の第3実施形態における樹脂筐体において、前方から見た、嵌合片を含む拡大正面図である。
【発明を実施するための形態】
【0010】
以下、図面を参照して、本発明に係る樹脂筐体の一実施形態について説明する。
(【0011】以降は省略されています)
この特許をJ-PlatPat(特許庁公式サイト)で参照する
関連特許
Astemo株式会社
樹脂筐体
2日前
Astemo株式会社
半導体装置
8日前
Astemo株式会社
電池監視装置
2日前
Astemo株式会社
電動駆動装置
2日前
Astemo株式会社
電流検出装置
4日前
Astemo株式会社
電圧検出装置
4日前
Astemo株式会社
電動モータ装置
1日前
Astemo株式会社
バッテリー充電装置
4日前
Astemo株式会社
緩衝装置、懸架装置
2日前
Astemo株式会社
インバータ制御装置
14日前
Astemo株式会社
バンプストッパ、緩衝器
4日前
Astemo株式会社
支持ユニット、懸架装置
4日前
Astemo株式会社
放電装置及び電力変換装置
1日前
Astemo株式会社
インジェクタ故障検出装置
4日前
Astemo株式会社
制御装置及び鍵情報秘匿方法
4日前
Astemo株式会社
タスク処理方法および制御装置
4日前
Astemo株式会社
地絡検出装置及び地絡検出方法
8日前
Astemo株式会社
車両制御装置及び車両制御方法
8日前
Astemo株式会社
めっき部材およびその製造方法
15日前
Astemo株式会社
ナット部材、緩衝装置、加圧工具
1日前
Astemo株式会社
電池監視装置及び電池管理システム
2日前
Astemo株式会社
車両制御装置及びセンサデータ処理方法
2日前
Astemo株式会社
自動車用電子制御装置およびメモリ管理装置
4日前
Astemo株式会社
サーバ装置
14日前
Astemo株式会社
走行支援装置
14日前
Astemo株式会社
車両制御システム
3日前
Astemo株式会社
改善システム、改善方法
8日前
Astemo株式会社
サスペンション制御装置、サスペンション制御方法、およびサスペンション制御プログラム
2日前
株式会社コロナ
電気機器
2か月前
個人
電子部品の実装方法
2日前
日本精機株式会社
回路基板
3か月前
株式会社遠藤照明
照明装置
3か月前
日本精機株式会社
駆動装置
4か月前
個人
非衝突型ガウス加速器
1か月前
日本精機株式会社
回路基板
24日前
アイホン株式会社
電気機器
1か月前
続きを見る
他の特許を見る