TOP
|
特許
|
意匠
|
商標
特許ウォッチ
Twitter
他の特許を見る
公開番号
2025142931
公報種別
公開特許公報(A)
公開日
2025-10-01
出願番号
2024042559
出願日
2024-03-18
発明の名称
電池監視装置及び電池管理システム
出願人
Astemo株式会社
代理人
弁理士法人志賀国際特許事務所
主分類
H02J
7/00 20060101AFI20250924BHJP(電力の発電,変換,配電)
要約
【課題】電池モジュールから外部バッテリに送電可能であると共に、外部の者が外部バッテリの状態を把握可能とする。
【解決手段】電池モジュールMに接続されて電池モジュールMの監視を行う無線電池監視装置であって、電池モジュールMと異なる低電圧バッテリBの状態をユーザ端末Sに送信可能な無線通信部2bと、電池モジュールMの出力を降圧して低電圧バッテリBに送電可能な送電部2eと、無線通信部2bを介して入力されるユーザ端末Sからの指示に基づいて送電部2eに送電させる制御部2dとを備える。
【選択図】図1
特許請求の範囲
【請求項1】
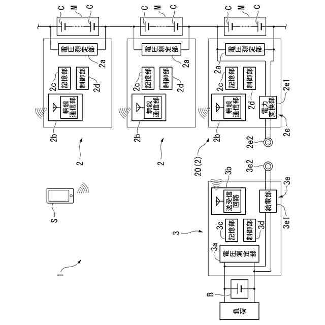
電池モジュールに接続されて前記電池モジュールの監視を行う電池監視装置であって、
前記電池モジュールと異なる外部バッテリの状態を外部端末に送信可能な通信部と、
前記電池モジュールの出力を降圧して前記外部バッテリに送電可能な送電部と、
前記通信部を介して入力される前記外部端末からの指示に基づいて前記送電部に送電させる制御部と
を備えることを特徴とする電池監視装置。
続きを表示(約 940 文字)
【請求項2】
各々が電池モジュールに接続されて前記電池モジュールの監視を行う複数の電池監視装置と、
複数の前記電池監視装置を介して前記電池モジュールの管理を行うと共に、前記電池モジュールと異なる外部バッテリに接続された管理ユニットと
を備え、
各々の前記電池監視装置は、前記外部バッテリの状態を外部端末に送信可能な通信部を備え、
複数の前記電池監視装置の少なくとも1つが送電用電池監視装置であり、
前記送電用電池監視装置は、
前記電池モジュールの出力を降圧して前記外部バッテリに送電可能な送電部と、
前記通信部を介して入力される前記外部端末からの指示に基づいて、前記送電部を介して前記電池モジュールから前記外部バッテリに送電させる制御部と
を備える
ことを特徴とする電池管理システム。
【請求項3】
前記管理ユニットは、通信可能な管理ユニット用通信部を備え、
前記電池監視装置の各々の前記通信部は、前記管理ユニット用通信部と通信可能である
ことを特徴とする請求項2記載の電池管理システム。
【請求項4】
前記送電用電池監視装置の前記送電部は、送電コイルを有し、
前記管理ユニットは、前記送電コイルから非接触で受電可能な受電コイルを有し、
前記送電用電池監視装置の前記制御部は、前記管理ユニットを介して、前記電池モジュールから前記外部バッテリに送電させる
ことを特徴とする請求項2または3記載の電池管理システム。
【請求項5】
前記電池監視装置は、前記管理ユニットから送信された情報を記憶可能な記憶部を備え、
接続された前記電池モジュールの電圧が最も高い前記電池監視装置が、外部バッテリの状態を示す外部バッテリ情報を前記管理ユニットから受信して記憶し、
前記外部バッテリ情報が記憶された前記電池監視装置は、前記外部端末と通信する
ことを特徴とする請求項2または3記載の電池管理システム。
【請求項6】
前記外部端末を備えることを特徴とする請求項2または3記載の電池管理システム。
発明の詳細な説明
【技術分野】
【0001】
本発明は、電池監視装置及び電池管理システムに関するものである。
続きを表示(約 1,900 文字)
【背景技術】
【0002】
例えば、特許文献1には、高圧電源と低圧電源とを備える電源装置が開示されている。特許文献1に開示された電源装置は、システム起動前に高圧電源を用いて低圧電源を充電する。特許文献1に開示された電源装置は、低出力電圧のバッテリと高出力電圧のバッテリとを接続するDC/DCコンバータを備えている。特許文献1に開示された電源装置は、車両のドアロックが解除された場合に高出力電圧のバッテリからDC/DCコンバータを貸しいて低出力電圧のバッテリの充電を開始する。
【先行技術文献】
【特許文献】
【0003】
特開2002-315219号公報
【発明の概要】
【発明が解決しようとする課題】
【0004】
例えば、電気自動車等に搭載されるバッテリマネジメントシステムは、高電圧を出力する電池モジュールの各々に接続される電池監視装置と、複数の電池監視装置を管理する管理ユニットとを備えている。電池監視装置は、電池モジュールから給電される電力によって駆動される。一方で、管理ユニットは、車両に搭載される低電圧バッテリから給電される電力によって駆動される。このため、低電圧バッテリが電力不足に陥ると、管理ユニットを起動することができず、電池モジュールに電力が蓄えられていても、車両を起動できなくなる。例えば、特許文献1のように、電池監視装置から電池モジュールの電力を低電圧バッテリに給電することも考えられる。しかしながら、このような場合には、ドアロックが解除される度に電池モジュールから低電圧バッテリに自動的に充電されることになり、仮に低電圧バッテリに電力不足の状態に陥っていても、その情報を車両ユーザ等が把握できない。
【0005】
本発明は、上述する問題点に鑑みてなされたもので、電池モジュールから外部バッテリに送電可能であると共に、外部の者が外部バッテリの状態を把握可能とすることを目的とする。
【課題を解決するための手段】
【0006】
本発明は、上記課題を解決するための手段として、以下の構成を採用する。
【0007】
本発明の第1の態様は、電池モジュールに接続されて上記電池モジュールの監視を行う電池監視装置であって、上記電池モジュールと異なる外部バッテリの状態を外部端末に送信可能な通信部と、上記電池モジュールの出力を降圧して上記外部バッテリに送電可能な送電部と、上記通信部を介して入力される上記外部端末からの指示に基づいて上記送電部に送電させる制御部とを備えるという構成を採用する。
【0008】
本発明の第2の態様は、電池管理システムであって、各々が電池モジュールに接続されて上記電池モジュールの監視を行う複数の電池監視装置と、複数の上記電池監視装置を介して上記電池モジュールの管理を行うと共に、上記電池モジュールと異なる外部バッテリに接続された管理ユニットとを備え、各々の上記電池監視装置が、上記外部バッテリの状態を外部端末に送信可能な通信部を備え、複数の上記電池監視装置の少なくとも1つが送電用電池監視装置であり、上記送電用電池監視装置が、上記電池モジュールの出力を降圧して上記外部バッテリに送電可能な送電部と、上記通信部を介して入力される上記外部端末からの指示に基づいて、上記送電部を介して上記電池モジュールから上記外部バッテリに送電させる制御部とを備えるという構成を採用する。
【発明の効果】
【0009】
本発明によれば、電池モジュールに接続された電池監視装置から、外部バッテリの状態が送信可能である。このため、外部バッテリが電力不足に陥った場合に、その情報を外部端末に送信することができる。さらに、本発明によれば、電池モジュールの出力を降圧して外部バッテリに送電可能である。したがって、本発明によれば、電池モジュールから外部バッテリに送電可能であると共に、外部の者が外部バッテリの状態を把握することが可能となる。
【図面の簡単な説明】
【0010】
本発明の一実施形態における電池管理システムの概略構成を示す模式図である。
本発明の一実施形態における電池管理システムの動作を説明するためのフローチャートである。
本発明の一実施形態における電池管理システムを用いて低電圧バッテリに給電する手順を示すフローチャートである。
【発明を実施するための形態】
(【0011】以降は省略されています)
この特許をJ-PlatPat(特許庁公式サイト)で参照する
関連特許
Astemo株式会社
緩衝器
1か月前
Astemo株式会社
緩衝器
21日前
Astemo株式会社
樹脂筐体
今日
Astemo株式会社
半導体装置
6日前
Astemo株式会社
燃料噴射弁
23日前
Astemo株式会社
電池監視装置
今日
Astemo株式会社
画像処理装置
1か月前
Astemo株式会社
電子制御装置
1か月前
Astemo株式会社
電力変換装置
1か月前
Astemo株式会社
電力変換装置
1か月前
Astemo株式会社
電力変換装置
1か月前
Astemo株式会社
電力変換装置
1か月前
Astemo株式会社
操舵入力装置
28日前
Astemo株式会社
電力変換装置
22日前
Astemo株式会社
電力変換装置
21日前
Astemo株式会社
電力変換装置
1か月前
Astemo株式会社
電流検出装置
2日前
Astemo株式会社
電動駆動装置
今日
Astemo株式会社
電圧検出装置
2日前
Astemo株式会社
車載電力供給網
22日前
Astemo株式会社
等速ジョイント
1か月前
Astemo株式会社
内燃機関制御装置
29日前
Astemo株式会社
バッテリー充電装置
2日前
Astemo株式会社
インバータ制御装置
12日前
Astemo株式会社
緩衝装置、懸架装置
今日
Astemo株式会社
緩衝装置、懸架装置
28日前
Astemo株式会社
カバー部材、緩衝装置
1か月前
Astemo株式会社
バンプストッパ、緩衝器
2日前
Astemo株式会社
支持ユニット、懸架装置
2日前
Astemo株式会社
電子機器及び電力変換装置
1か月前
Astemo株式会社
インジェクタ故障検出装置
2日前
Astemo株式会社
制御装置及び鍵情報秘匿方法
2日前
Astemo株式会社
車両制御装置及び車両制御方法
6日前
Astemo株式会社
地絡検出装置及び地絡検出方法
6日前
Astemo株式会社
セルバランス装置及び電源装置
23日前
Astemo株式会社
めっき部材およびその製造方法
13日前
続きを見る
他の特許を見る