TOP
|
特許
|
意匠
|
商標
特許ウォッチ
Twitter
他の特許を見る
公開番号
2025142803
公報種別
公開特許公報(A)
公開日
2025-10-01
出願番号
2024042373
出願日
2024-03-18
発明の名称
フローティング求心装置
出願人
株式会社デンソー
代理人
弁理士法人服部国際特許事務所
主分類
H01R
13/631 20060101AFI20250924BHJP(基本的電気素子)
要約
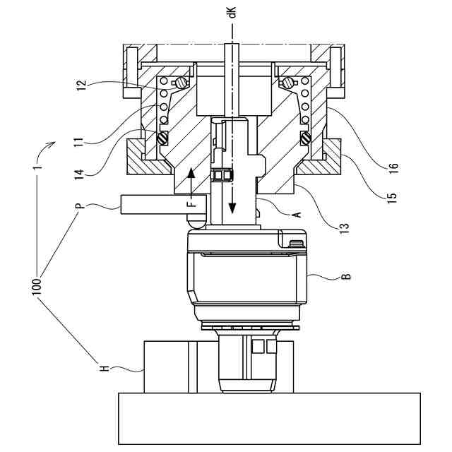
【課題】結合解除後に精度よく位置を元に戻すことができ、嵌合方向に制約がないフローティング求心装置を提供する。
【解決手段】フローティング求心装置1は、ベース10と、ばね11と、設備側コネクタ保持部13と、プレート15と、ピン17とを備える。ばね11は、ベース10に支持され、設備側コネクタ保持部13をワーク側コネクタB側に付勢する。設備側コネクタ保持部13は、設備側コネクタAが固定される固定部130、ロール軸方向dZに広がるピン受け溝137及び凸テーパ部131を有する。プレート15は、凸テーパ部131に当接し、設備側コネクタAを、ロール軸Zと直交するピッチ軸X及びヨー軸Yに求心させる凹テーパ部151を有する。ピン17は、ピン受け溝137に差し込まれ、設備側コネクタAを、ロール軸Zに求心させる。
【選択図】 図1
特許請求の範囲
【請求項1】
駆動装置によりワーク側コネクタ(B)との嵌合方向であるロール軸方向(dZ)に駆動されて設備側コネクタ(A)を嵌合する装置において、前記設備側コネクタ(A)の位置を調整して前記設備側コネクタ(A)の駆動方向(dK)をロール軸方向(dZ)と同軸にするフローティング求心装置(1)であって、
ベース(10)と、
前記ベースに支持され、設備側コネクタ保持部(13)を前記ワーク側コネクタ(B)側に付勢するばね(11)と、
前記設備側コネクタ(A)が固定される固定部(130)、ロール軸方向(dZ)に広がるピン受け溝(137)及び凸テーパ部(131)を有する前記設備側コネクタ保持部(13)と、
前記凸テーパ部(131)に当接し、前記設備側コネクタ(A)を、ロール軸(Z)と直交するピッチ軸(X)及びヨー軸(Y)に求心させる凹テーパ部(151)を有する前記プレート(15)と、
前記ピン受け溝(137)に差し込まれ、前記設備側コネクタ(A)を、前記ロール軸(Z)に求心させるピン(17)と、
を備えるフローティング求心装置。
続きを表示(約 270 文字)
【請求項2】
前記ベース(10)と前記設備側コネクタ保持部(13)との間に、前記設備側コネクタ保持部(13)をフローティング可能に支持するボール&リテーナ(12)をさらに備える請求項1に記載のフローティング求心装置。
【請求項3】
前記ベース(10)に固定され、前記設備側コネクタ保持部(13)を収容する筒状のハウジング(16)と、
前記ハウジング(16)の内周壁と前記設備側コネクタ保持部(13)の外周壁との間に設けられるOリング(14)と、
をさらに備える請求項1又は2に記載のフローティング求心装置。
発明の詳細な説明
【技術分野】
【0001】
本発明は、フローティング求心装置に関する。
続きを表示(約 1,000 文字)
【背景技術】
【0002】
従来、ワークをフローティング嵌合により設備側に接続する装置が知られている。例えば、特許文献1に開示されたコネクタは、コネクタ同士の結合時は誤差を吸収するため一定範囲で自由に動き、結合解除時は中心位置に戻すことで、最小限隙間で確実に接離可能なコネクタである。
【先行技術文献】
【特許文献】
【0003】
特開2005-129453号公報
【発明の概要】
【発明が解決しようとする課題】
【0004】
特許文献1に係る発明は、ばねによる復元力を有するものの、求心機能がないため、嵌合解除後にコネクタ位置を元に戻す精度が悪かった。また、自重の影響を避けるため、上から下に嵌合する必要があり、嵌合方向の制約があった。
【0005】
本発明は上記の課題に鑑みてなされたものであり、その目的は、コネクタ同士の結合解除後に精度よくコネクタ位置を元に戻すことができ、嵌合方向に制約がないフローティング求心装置を提供することにある。
【課題を解決するための手段】
【0006】
本発明は、駆動装置によりワーク側コネクタ(B)との嵌合方向であるロール軸方向(dZ)に駆動されて設備側コネクタ(A)を嵌合する装置において、設備側コネクタ(A)の位置を調整して設備側コネクタ(A)の駆動方向(dK)をロール軸方向(dZ)と同軸にするフローティング求心装置(1)である。
【0007】
フローティング求心装置(1)は、ベース(10)と、ばね(11)と、設備側コネクタ保持部(13)と、プレート(15)と、ピン(17)とを備える。
【0008】
ばね(11)は、ベース(10)に支持され、設備側コネクタ保持部(13)をワーク側コネクタ(B)側に付勢する。
【0009】
設備側コネクタ保持部(13)は、設備側コネクタ(A)が固定される固定部(130)、ロール軸方向(dZ)に広がるピン受け溝(137)及び凸テーパ部(131)を有する。
【0010】
プレート(15)は、凸テーパ部(131)に当接し、設備側コネクタ(A)を、ロール軸(Z)と直交するピッチ軸(X)及びヨー軸(Y)に求心させる凹テーパ部(151)を有する。
(【0011】以降は省略されています)
この特許をJ-PlatPat(特許庁公式サイト)で参照する
関連特許
個人
フレキシブル電気化学素子
5日前
株式会社ユーシン
操作装置
5日前
ローム株式会社
半導体装置
7日前
日新イオン機器株式会社
イオン源
1日前
太陽誘電株式会社
コイル部品
5日前
株式会社GSユアサ
蓄電設備
5日前
オムロン株式会社
電磁継電器
6日前
株式会社GSユアサ
蓄電設備
5日前
トヨタ自動車株式会社
バッテリ
6日前
トヨタ自動車株式会社
蓄電装置
5日前
サクサ株式会社
電池の固定構造
5日前
ノリタケ株式会社
熱伝導シート
5日前
日東電工株式会社
積層体
6日前
株式会社ダイヘン
搬送装置
5日前
ベストテック株式会社
装置支持具
5日前
東レエンジニアリング株式会社
実装装置
6日前
古河電気工業株式会社
端子
5日前
日本製紙株式会社
導電性フィルム
6日前
日本製紙株式会社
導電性フィルム
6日前
SMK株式会社
キートップ及びスイッチ
7日前
ローム株式会社
半導体装置
6日前
ローム株式会社
半導体装置
7日前
ローム株式会社
半導体装置
7日前
APB株式会社
二次電池モジュール
5日前
APB株式会社
二次電池モジュール
5日前
エイブリック株式会社
半導体集積回路装置
1日前
太陽誘電株式会社
コイル部品
1日前
太陽誘電株式会社
コイル部品
5日前
日本電気株式会社
レーザモジュール
6日前
太陽誘電株式会社
コイル部品
6日前
太陽誘電株式会社
セラミック電子部品
5日前
IDEC株式会社
装着型アンテナ装置
8日前
本田技研工業株式会社
固体電池
5日前
株式会社AESCジャパン
電池パック
1日前
TDK株式会社
電子部品
5日前
本田技研工業株式会社
二次電池
1日前
続きを見る
他の特許を見る