TOP
|
特許
|
意匠
|
商標
特許ウォッチ
Twitter
他の特許を見る
公開番号
2025142595
公報種別
公開特許公報(A)
公開日
2025-10-01
出願番号
2024042043
出願日
2024-03-18
発明の名称
折畳み式五徳
出願人
南杜合同会社
代理人
個人
,
個人
主分類
F24C
15/10 20060101AFI20250924BHJP(加熱;レンジ;換気)
要約
【課題】複数の同じ形状及びサイズの天面部材の組合せ利用で部品の種類を抑えながら構成された、折畳み式の五徳の提供。
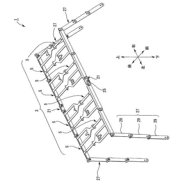
【解決手段】天面部材5と天面部材5の端側は、前後方向で重なり合って、リンク結合され、このときには、奥側の天面部材5の係止爪部11が前側の天面部材5の縁面部15の片面15bの切欠き9の縁に当たって係止される。中央部材21は天面部材5の短尺タイプになっており、その左右両側にそれぞれ天面部材5が係止される。前後方向で、挿通軸19は挿通穴17g、17dに挿通されることで、前後の天面部材5、5どうしは連係されている。中央部材21の左右両側で天面部材5、5どうしは二つ折りされるが、中央部材21側に対しても折り返され、中央部材21の縁面部25が背表紙部になった状態で折り畳まれる。
【選択図】 図4
特許請求の範囲
【請求項1】
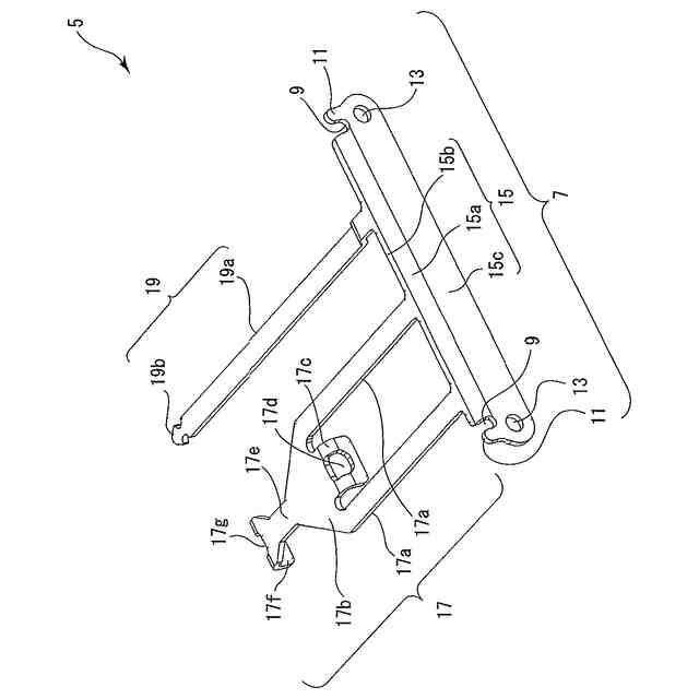
一枚の板材の打抜き及び曲げにより立体成形された天面部材は、帯状部位の長さ方向中間でその幅方向に曲げられて前記長さ方向に直交する断面がL形をなす縁面部と、前記長さ方向両端側でそれぞれ前記幅方向一端から他端側に向かって延びる切欠き乃至切込みを介して前記縁面部に対して部分的に分離されて前記長さ方向に直交する断面がI形をなす係止爪部と、前記係止爪部と前記幅方向他端との間に設けられたリンク穴と、前記縁面部の前記切欠き等により分離された側の片から前記直交方向に向かって前記長さ方向に間隔をあけながらそれぞれ延出した挿通ガイド部及び挿通軸を有しており、
前記リンク穴を利用してリンク結合され、前記天面部材どうしが、前記長さ方向側では、一方の天面部材の係止爪部が他方の天面部材の縁面部の縁に当たることで回動が阻止され、前記直交方向側では、前記挿通ガイド部に前記挿通軸が挿通され連係されて平面状の天板が形成されることで、折畳み可能な天面部になっていることを特徴とする折畳み式五徳。
続きを表示(約 1,100 文字)
【請求項2】
請求項1に記載した折畳み式五徳において、
天面部材の長さ方向両端側の係止爪部と前記係止爪部寄りの部分だけの縁面部で構成された短尺の中央部材が前記天面部材の代わりにリンク結合され、
天面部が折畳まれたときに、前記中央部材の縁面部が背表紙部となることを特徴とする折畳み式五徳。
【請求項3】
請求項1または2に記載した折畳み式五徳において、
天面部材の挿通ガイド部に挿通される挿通軸は、前記挿通ガイド部に対して挿通深さが調整可能になっていることを特徴とする折畳み式五徳。
【請求項4】
請求項3に記載した折畳み式五徳において、
曲げにより、挿通ガイド部の挿通穴は直交方向を向き、挿通軸は前記挿通穴の挿通方向に位置することを特徴とする折畳み式五徳。
【請求項5】
請求項4に記載した折畳み式五徳において、
天面部材の係止爪部は切込みを介して縁面部に対して部分的に分離されており、
脚部は一枚の板材の打抜き及び曲げにより立体成形された脚部材のリンク結合により構成され、
前記脚部材は、帯状部位の長さ方向一端側から延びて同じ方向に起立した係止爪部と、係止爪部の基端側に設けられた係止側リンク穴と、長さ方向他端側に設けられた受け側リンク穴と、前記受け側リンク穴寄りの長さ方向一端側に設けられた挿通穴を有しており、
前記脚部材どうしが、前記リンク穴を利用してリンク結合され、一方の脚部材の一方の係止爪部が他方の脚部材の前記挿通穴に挿通されて他方の係止爪部と共に前記他方の脚部材を挟むことで回動が阻止され、
前記天面部材に対して前記脚部材は、前記リンク穴を利用してリンク結合され、前記脚部材の一方の係止爪部が前記切欠きに入り込んで他方の係止爪部と共に前記天面部材を挟むことで回動が阻止されることを特徴とする折畳み式五徳。
【請求項6】
請求項5に記載した折畳み式五徳において、
脚部材の帯状部位の長さ方向一端側は幅方向に延出して他方の係止爪部がその延出部分から長さ方向に延び、同じ幅方向側で長さ方向他端側はリンク穴と挿通穴の間が凹部になっており、
前記脚部材どうしは、一方の脚部材の他方の係止爪部が他方の脚部材の凹部に係止されることで、展開状態では直状に近い状態で連なることを特徴とする折畳み式五徳。
【請求項7】
請求項6に記載した折畳み式五徳において、
脚部が折り畳まれたときに、脚部材は天面部材の縁面部に寄せて重ね合されることを特徴とする折畳み式五徳。
発明の詳細な説明
【技術分野】
【0001】
本発明は折畳み式の五徳に関するものである。
続きを表示(約 1,900 文字)
【背景技術】
【0002】
キャンプ等の屋外調理に用いられる五徳として、携帯し易いように、特許文献1に記載のように、組立て式のものが提案されている。
また、特許文献2では、複数の五徳を上下に積み重ねて、火力の異なる調整を可能とすることも提案されている。
【先行技術文献】
【特許文献】
【0003】
特開2022-35732号公報
特開2023-14707号公報
【発明の概要】
【発明が解決しようとする課題】
【0004】
しかしながら、特許文献1に記載の五徳では、縁にやかん等を載せるようになっており、載せるやかん等のサイズが制限されるだけでなく、載った状態も不安定化し易い。
一方、特許文献2に記載の五徳は分解したり折畳んだりすることが想定されていない。
更に、この種の物品は価格競争が厳しく、上記のような課題の解決のために安易に製造コストを引き上げることはできない。
【0005】
本発明は上記従来の問題点に着目して為されたものであり、複数の同じ形状の部材の組合せ利用が可能で、折畳み式で使用しないときにはコンパクト化でき、その一方で、使用するときにはやかん等のサイズにある程度の幅があっても安定的に載せることができる、新規且つ有用な折畳み式五徳を提供することを、その目的とする。
【課題を解決するための手段】
【0006】
本発明は上記従来の問題点に着目して為されたものであり、一枚の板材の打抜き及び曲げにより立体成形された天面部材は、帯状部位の長さ方向中間でその幅方向に曲げられて前記長さ方向に直交する断面がL形をなす縁面部と、前記長さ方向両端側でそれぞれ前記幅方向一端から他端側に向かって延びる切欠き乃至切込みを介して前記縁面部に対して部分的に分離されて前記長さ方向に直交する断面がI形をなす係止爪部と、前記係止爪部と前記幅方向他端との間に設けられたリンク穴と、前記縁面部の前記切欠き等により分離された側の片から前記直交方向に向かって前記長さ方向に間隔をあけながらそれぞれ延出した挿通ガイド部及び挿通軸を有しており、前記リンク穴を利用してリンク結合され、前記天面部材どうしが、前記長さ方向側では、一方の天面部材の係止爪部が他方の天面部材の縁面部の縁に当たることで回動が阻止され、前記直交方向側では、前記挿通ガイド部に前記挿通軸が挿通され連係されて平面状の天板が形成されることで、折畳み可能な天面部になっていることを特徴とする折畳み式五徳である。
【0007】
好ましくは、天面部材の長さ方向両端側の係止爪部と前記係止爪部寄りの部分だけの縁面部で構成された短尺の中央部材が前記天面部材の代わりにリンク結合され、天面部が折畳まれたときに、前記中央部材の縁面部が背表紙部となる。
【0008】
好ましくは、天面部材の挿通ガイド部に挿通される挿通軸は、前記挿通ガイド部に対して挿通深さが調整可能になっている。
好ましくは、曲げにより、挿通ガイド部の挿通穴は直交方向を向き、挿通軸は前記挿通穴の挿通方向に位置する。
【0009】
好ましくは、天面部材の係止爪部は切込みを介して縁面部に対して部分的に分離されており、脚部は一枚の板材の打抜き及び曲げにより立体成形された脚部材のリンク結合により構成され、前記脚部材は、帯状部位の長さ方向一端側から延びて同じ方向に起立した係止爪部と、係止爪部の基端側に設けられた係止側リンク穴と、長さ方向他端側に設けられた受け側リンク穴と、前記受け側リンク穴寄りの長さ方向一端側に設けられた挿通穴を有しており、前記脚部材どうしが、前記リンク穴を利用してリンク結合され、一方の脚部材の一方の係止爪部が他方の脚部材の前記挿通穴に挿通されて他方の係止爪部と共に前記他方の脚部材を挟むことで回動が阻止され、前記天面部材に対して前記脚部材は、前記リンク穴を利用してリンク結合され、前記脚部材の一方の係止爪部が前記切欠きに入り込んで他方の係止爪部と共に前記天面部材を挟むことで回動が阻止される。
【0010】
好ましくは、脚部材の帯状部位の長さ方向一端側は幅方向に延出して他方の係止爪部がその延出部分から長さ方向に延び、同じ幅方向側で長さ方向他端側はリンク穴と挿通穴の間が凹部になっており、前記脚部材どうしは、一方の脚部材の他方の係止爪部が他方の脚部材の凹部に係止されることで、展開状態では直状に近い状態で連なる。
(【0011】以降は省略されています)
この特許をJ-PlatPat(特許庁公式サイト)で参照する
関連特許
南杜合同会社
折畳み式五徳
9日前
個人
空気調和機
4か月前
個人
エアコン室内機
4か月前
株式会社コロナ
加湿装置
4か月前
株式会社コロナ
空調装置
3か月前
株式会社コロナ
給湯装置
2か月前
株式会社コロナ
空調装置
1か月前
株式会社コロナ
加湿装置
21日前
株式会社コロナ
空調装置
1日前
株式会社コロナ
空調装置
1か月前
株式会社コロナ
空調装置
11日前
個人
住宅換気空調システム
1か月前
株式会社コロナ
空気調和機
1か月前
株式会社コロナ
空気調和機
2か月前
株式会社コロナ
空気調和機
5か月前
株式会社コロナ
風呂給湯機
29日前
株式会社コロナ
直圧式給湯機
3か月前
株式会社コロナ
貯湯式給湯機
7日前
株式会社コロナ
暖房システム
11日前
株式会社コロナ
直圧式給湯機
1か月前
株式会社コロナ
貯湯式給湯機
15日前
株式会社コロナ
貯湯式給湯機
4か月前
ホーコス株式会社
排気フード
2か月前
株式会社パロマ
給湯器
3か月前
株式会社コロナ
輻射式冷房装置
1か月前
ホーコス株式会社
換気扇取付枠
1か月前
株式会社コロナ
貯湯式給湯装置
4か月前
株式会社コロナ
貯湯式給湯装置
3か月前
株式会社コロナ
貯湯式給湯装置
4か月前
三菱電機株式会社
送風機
5か月前
株式会社ノーリツ
給湯装置
3か月前
三菱電機株式会社
送風装置
2か月前
株式会社パロマ
給湯暖房機
3か月前
株式会社パロマ
給湯暖房機
4か月前
株式会社ノーリツ
燃焼装置
4か月前
株式会社コロナ
開放式燃焼暖房機
2か月前
続きを見る
他の特許を見る