TOP
|
特許
|
意匠
|
商標
特許ウォッチ
Twitter
他の特許を見る
10個以上の画像は省略されています。
公開番号
2025142334
公報種別
公開特許公報(A)
公開日
2025-09-30
出願番号
2025127447,2020206161
出願日
2025-07-30,2020-12-11
発明の名称
ロータリ圧縮機
出願人
三菱重工サーマルシステムズ株式会社
代理人
個人
,
個人
,
個人
主分類
F04C
29/00 20060101AFI20250919BHJP(液体用容積形機械;液体または圧縮性流体用ポンプ)
要約
【課題】軸受等を製造する工程を容易化することを目的とする。
【解決手段】ロータリ圧縮機1は、外殻を為す密閉ハウジング2と、電動モータ5と、密閉ハウジング2に収容され、電動モータ5からの駆動力によって冷媒を圧縮する圧縮機構6と、電動モータ5と圧縮機構6とを連結し、上下方向に沿って延在する中心軸線を中心として回転する駆動軸14と、を備えている。圧縮機構6は、駆動軸14と連結され上部シリンダ室31に収容される上部ロータ33と、上部シリンダ室31の半径方向の外側を区画する上部シリンダ本体部34と、駆動軸14を回転可能に支持し上部シリンダ室31の上下方向を区画する上部軸受部35と、を有し、回転する上部ロータ33と上部シリンダ本体部34との間で冷媒を圧縮し、上部軸受部35及び上部シリンダ本体部34は、強化繊維で樹脂を強化した複合材で形成されている。
【選択図】図1
特許請求の範囲
【請求項1】
外殻を為す筐体と、
駆動源と、
前記筐体に収容され、前記駆動源からの駆動力によって冷媒を圧縮する圧縮機構と、
前記駆動源と前記圧縮機構とを連結し、所定方向に沿って延在する中心軸線を中心として回転する駆動軸と、を備え、
前記圧縮機構は、前記駆動軸と連結されシリンダ室に収容されるロータと、前記シリンダ室の半径方向の外側を区画するシリンダと、前記駆動軸を回転可能に支持し前記シリンダ室の前記所定方向を区画する軸受と、を有し、回転する前記ロータと前記シリンダとの間で前記冷媒を圧縮し、
前記シリンダは、強化繊維で樹脂を強化した複合材で形成され、
前記シリンダは、前記冷媒を前記シリンダ室へ導く吸入口と、前記吸入口の前記半径方向の外側に設けられ他の領域よりも前記半径方向の外側に突出する余肉部と、を有しているロータリ圧縮機。
続きを表示(約 1,100 文字)
【請求項2】
前記軸受及び前記シリンダは、前記複合材で形成されていて、
前記軸受と前記シリンダとは、一体的に形成されている請求項1に記載のロータリ圧縮機。
【請求項3】
前記駆動源は、前記駆動軸が固定される回転子と、前記回転子を囲う固定子とを有し、
前記圧縮機構は、前記所定方向に並ぶ複数の前記シリンダ室及び各前記シリンダ室に収容される前記ロータを有し、
前記所定方向に隣接する前記シリンダ室は、セパレータによって隔てられていて、
一体的に形成された前記軸受及び前記シリンダは、前記セパレータに固定され、
前記セパレータは、金属材料で形成され、前記筐体に固定されている請求項2に記載のロータリ圧縮機。
【請求項4】
前記圧縮機構へ前記冷媒を導く吸入管を備え、
前記吸入管は、前記セパレータに接続されていて、
前記圧縮機構は、前記吸入管から供給された前記冷媒を前記シリンダ室へ導く冷媒流路を有している請求項3に記載のロータリ圧縮機。
【請求項5】
前記冷媒流路は、下流端部が前記シリンダ室に開口する吸入口に接続され、
前記吸入口は、前記所定方向の一側が前記軸受によって区画され、前記所定方向の他側が前記セパレータによって区画されている請求項4に記載のロータリ圧縮機。
【請求項6】
一体的に形成された前記軸受及び前記シリンダと、前記セパレータとを固定する締結具を備え、
一体的に形成された前記軸受及び前記シリンダは、前記軸受を補強するリブと、前記締結具が挿通する締結穴を区画する締結部と、を有し、
前記締結部は、前記リブに接続されている請求項3から請求項5のいずれかに記載のロータリ圧縮機。
【請求項7】
前記締結穴の内周面と前記締結具との間には、金属材料で形成されたスリーブが設けられている請求項6に記載のロータリ圧縮機。
【請求項8】
前記リブは、板厚が一定の板状の部材であって、円筒状の前記軸受の外周面から半径方向に延びている請求項6または請求項7に記載のロータリ圧縮機。
【請求項9】
前記リブは、複数設けられていて、
複数の前記リブは、前記軸受の周方向に所定の間隔で並んで配置されている請求項8に記載のロータリ圧縮機。
【請求項10】
前記軸受と前記駆動軸との間に設けられ、金属材料で形成された軸受耐摩耗部を備え、
前記軸受は、前記複合材で形成され、
前記軸受耐摩耗部は、前記軸受の前記所定方向の両端部に設けられている請求項1から請求項9のいずれかに記載のロータリ圧縮機。
(【請求項11】以降は省略されています)
発明の詳細な説明
【技術分野】
【0001】
本開示は、ロータリ圧縮機に関するものである。
続きを表示(約 2,100 文字)
【背景技術】
【0002】
空気調和機等に用いられる圧縮機としてロータリ式の圧縮機が知られている(例えば、特許文献1)。特許文献1には、密閉容器内に収容されたモータと、モータにより駆動されるロータリ式の圧縮機構と、モータの駆動力を圧縮機構に伝達する駆動軸と、を備えているロータリ圧縮機が開示されている。ロータリ式の圧縮機構は、駆動軸に連結されるローラがシリンダ室内で回転移動することで冷媒を圧縮する。このシリンダ室は、シリンダ本体と、シリンダ本体の上方及び下方に設けられ駆動軸を支持する軸受とセパレータとによって区画されている。
【先行技術文献】
【特許文献】
【0003】
特開2016-160911号公報
【発明の概要】
【発明が解決しようとする課題】
【0004】
このようなロータリ圧縮機において、シリンダ室を区画する軸受及び/又はシリンダ本体(以下、「軸受等」と称する。)を金属材料で形成した場合には、シリンダ室内を回転移動するロータと軸受等とが接触した際に、各部材の損傷や騒音が発生する可能性がある。一方、軸受等とロータとの間に大きな隙間が形成されると、隙間から冷媒が漏洩してしまうため圧縮効率が低減してしまう可能性がある。このため、軸受等とロータとの間に形成される隙間を厳密に管理する必要がある。このため、軸受等を精度よく製造しなければならず、軸受等の製造が難しかった。
【0005】
本開示は、このような事情に鑑みてなされたものであって、軸受等を製造する工程を容易化することができるロータリ圧縮機を提供することを目的とする。
【課題を解決するための手段】
【0006】
上記課題を解決するために、本開示のロータリ圧縮機は以下の手段を採用する。
本開示の一態様に係るロータリ圧縮機は、外殻を為す筐体と、駆動源と、前記筐体に収容され、前記駆動源からの駆動力によって冷媒を圧縮する圧縮機構と、前記駆動源と前記圧縮機構とを連結し、所定方向に沿って延在する中心軸線を中心として回転する駆動軸と、を備え、前記圧縮機構は、前記駆動軸と連結されシリンダ室に収容されるロータと、前記シリンダ室の半径方向の外側を区画するシリンダと、前記駆動軸を回転可能に支持し前記シリンダ室の前記所定方向を区画する軸受と、を有し、回転する前記ロータと前記シリンダとの間で前記冷媒を圧縮し、前記シリンダは、強化繊維で樹脂を強化した複合材で形成され、前記シリンダは、前記冷媒を前記シリンダ室へ導く吸入口と、前記吸入口の前記半径方向の外側に設けられ他の領域よりも前記半径方向の外側に突出する余肉部と、を有している。
【発明の効果】
【0007】
本開示によれば、軸受等を製造する工程を容易化することができる。
【図面の簡単な説明】
【0008】
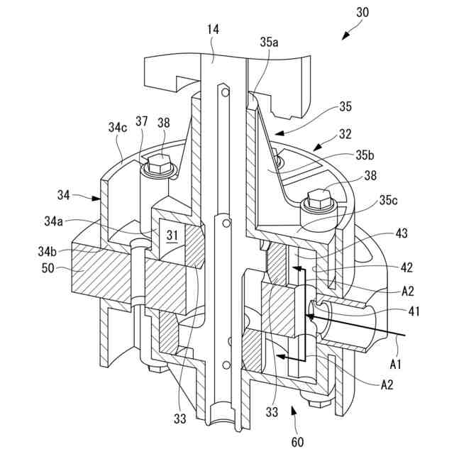
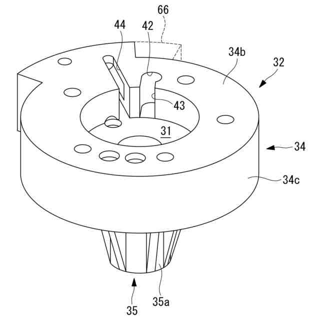
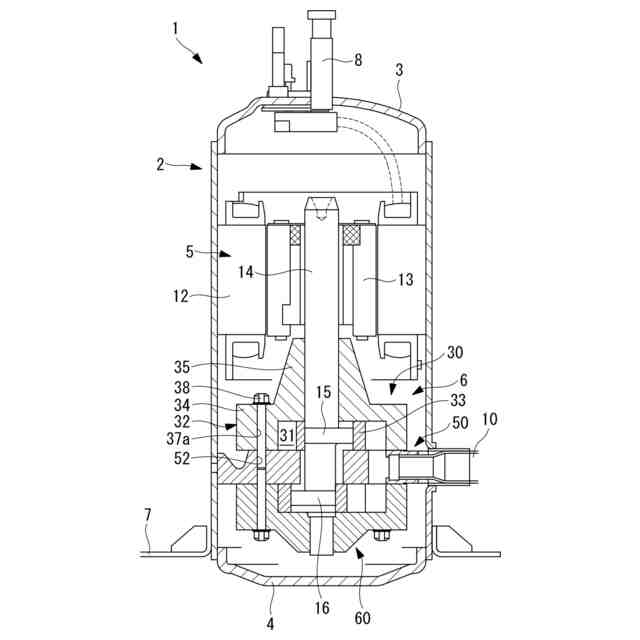
本開示の実施形態に係る圧縮機の縦断面図である。
図1のロータリ圧縮機に設けられる上部軸受シリンダ部の斜視図である。
図1のロータリ圧縮機に設けられるロータリ圧縮機構の縦断面斜視図である。
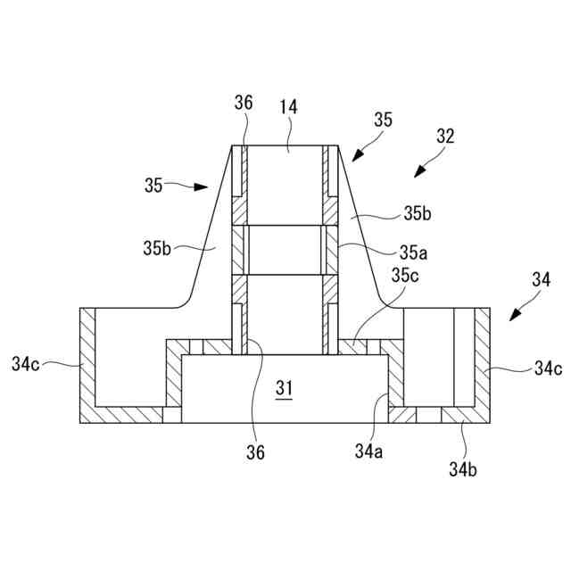
図2の上部軸受シリンダの縦断面図である。
図4のメタルブッシュを示す斜視図である。
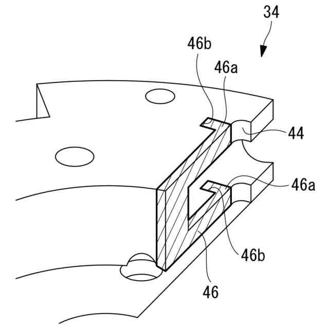
図1のロータリ圧縮機に設けられる上部軸受シリンダ部の斜視図である。
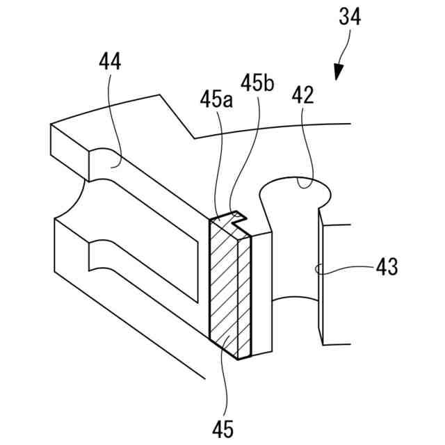
図6の要部拡大図である。
図6の要部拡大図である。
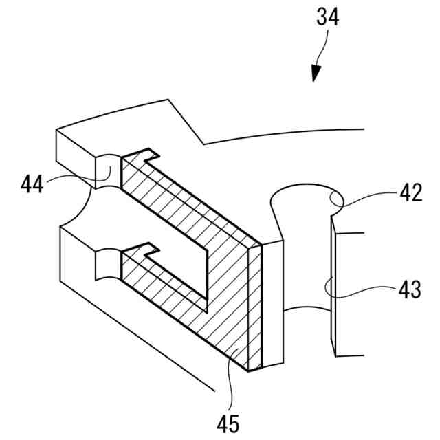
図7の変形例を示す図である。
図1のロータリ圧縮機に設けられるセパレータプレートの平面図である。
図1のロータリ圧縮機に設けられる上部軸受シリンダ部とセパレータプレートとを締結するボルトを示す模式的な斜視図である。
図1の変形例を示す図である。
【発明を実施するための形態】
【0009】
以下に、本開示に係るロータリ圧縮機の一実施形態について、図面を参照して説明する。
ロータリ圧縮機1は、図1に示すように、上部および下部がカバー3,4により密閉され、外殻を為す円筒状の密閉ハウジング(筐体)2を備えている。密閉ハウジング2の内部の上方部位に電動モータ5が設置され、下方部位に電動モータ(駆動源)5によって駆動される圧縮機構6が設置されている。ロータリ圧縮機1は、密閉型構造の電動圧縮機とされている。密閉ハウジング2の下部外周には、複数の据え付け脚7が設けられており、また、密閉ハウジング2の上部には、上部カバー3を貫通するように吐出配管8が設けられ、圧縮機構6により圧縮されて密閉ハウジング2内に吐出された高圧の冷媒ガスを、圧縮機外部(冷凍サイクル)へと送出可能な構成とされている。
【0010】
密閉ハウジング2の外周部には、アキュームレータ(図示省略)が一体に組み付けられている。アキュームレータは、冷凍サイクル側からリターンされてくる低圧の冷媒ガス中に含まれる油、液冷媒等の液分を分離し、ガス分のみが吸入管10を介して圧縮機構6側に吸入されるようにしている。
(【0011】以降は省略されています)
この特許をJ-PlatPat(特許庁公式サイト)で参照する
関連特許
個人
海流製造装置。
14日前
株式会社ツインバード
送風装置
12日前
ダイニチ工業株式会社
空調装置
3か月前
株式会社ツインバード
送風装置
12日前
カヤバ株式会社
電動ポンプ
1か月前
株式会社不二越
蓄圧装置
2か月前
ビッグボーン株式会社
送風装置
1か月前
株式会社ニクニ
液封式ポンプ装置
3か月前
個人
携帯型扇風機用の送風ノズル
4か月前
株式会社酉島製作所
ポンプ
3か月前
株式会社ノーリツ
ロータリ圧縮機
28日前
株式会社酉島製作所
ポンプ
4か月前
小倉クラッチ株式会社
ルーツブロア
2か月前
株式会社坂製作所
スクロール圧縮機
3か月前
株式会社ノーリツ
ロータリー圧縮機
3か月前
株式会社不二越
油圧ユニット
4か月前
株式会社不二越
ベーンポンプ
2か月前
エドワーズ株式会社
真空ポンプ
6日前
株式会社島津製作所
真空ポンプ
1か月前
株式会社チロル
送風機、送風機付衣服
1か月前
株式会社豊田自動織機
流体機械
26日前
個人
連結式螺旋翼体及び流体移送装置
4か月前
株式会社島津製作所
真空ポンプ
12日前
株式会社コスメック
ピストン型ポンプ
3か月前
株式会社アイシン
ポンプケース
5日前
株式会社豊田自動織機
電動圧縮機
1か月前
株式会社豊田自動織機
電動圧縮機
1か月前
株式会社神戸製鋼所
ターボ圧縮機
4か月前
株式会社豊田自動織機
電動圧縮機
2か月前
株式会社豊田自動織機
電動圧縮機
1か月前
株式会社豊田自動織機
電動圧縮機
22日前
株式会社豊田自動織機
遠心圧縮機
3か月前
株式会社豊田自動織機
電動圧縮機
22日前
已久工業股ふん有限公司
空気圧縮機構造
1か月前
株式会社豊田自動織機
電動圧縮機
1か月前
株式会社ナノバブル研究所
気液駆動装置
6日前
続きを見る
他の特許を見る