TOP
|
特許
|
意匠
|
商標
特許ウォッチ
Twitter
他の特許を見る
公開番号
2025142054
公報種別
公開特許公報(A)
公開日
2025-09-29
出願番号
2025119588,2024509215
出願日
2025-07-16,2023-03-23
発明の名称
熱硬化性プリプレグ及びその製造方法
出願人
帝人株式会社
代理人
個人
,
個人
,
個人
,
個人
,
個人
,
個人
主分類
C08J
5/10 20060101AFI20250919BHJP(有機高分子化合物;その製造または化学的加工;それに基づく組成物)
要約
【課題】本発明は、良好な機械特性を有し、特には良好な取扱い性を有する熱硬化性プリプレグを提供することを目的とする。
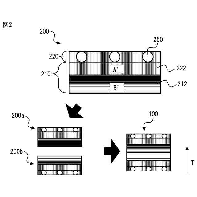
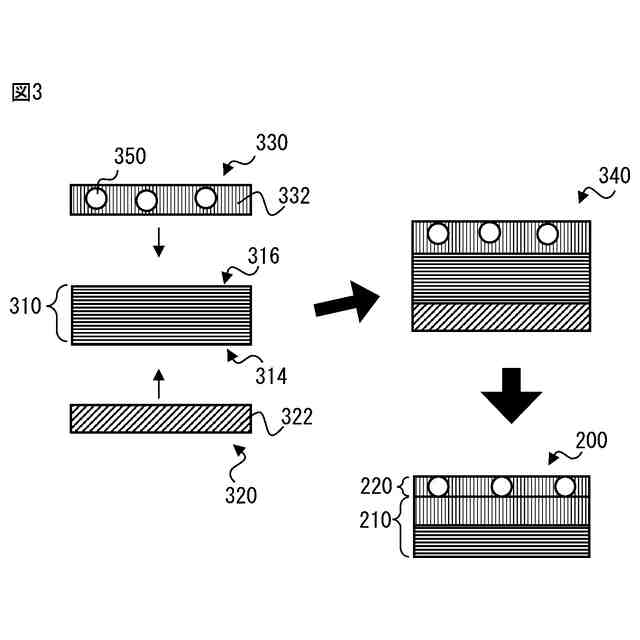
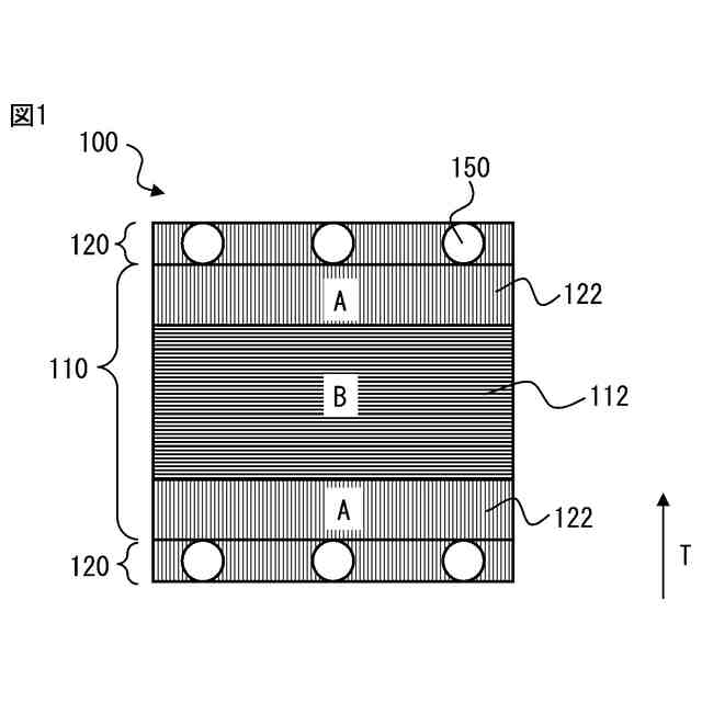
【解決手段】本発明は、熱硬化性プリプレグに関し、これは、繊維シート、繊維シートの面方向に垂直な断面において繊維シートの厚み方向の中心領域に含浸している第1の熱硬化性樹脂組成物、及び繊維シートの面方向に垂直な断面において繊維シートの厚み方向の外側領域に含浸している第2の熱硬化性樹脂組成物、を有し、かつ第1及び第2の熱硬化性樹脂組成物が、それぞれ、熱硬化性樹脂、及び硬化剤を含み、第1の熱硬化性樹脂組成物における硬化剤の当量比が、第2の熱硬化性樹脂組成物における硬化剤の当量比よりも大きい。
【選択図】図1
特許請求の範囲
【請求項1】
熱硬化性プリプレグであって、
繊維シート、
前記繊維シートの面方向に垂直な断面において、前記繊維シートの厚み方向の中心領域に含浸している第1の熱硬化性樹脂組成物、及び
前記繊維シートの面方向に垂直な断面において、前記繊維シートの厚み方向の外側領域に含浸している第2の熱硬化性樹脂組成物、
を有し、かつ
前記第1及び第2の熱硬化性樹脂組成物が、それぞれ、熱硬化性樹脂及び硬化剤を含み、
前記第1の熱硬化性樹脂組成物における前記硬化剤の当量比が、前記第2の熱硬化性樹脂組成物における前記硬化剤の当量比よりも大きい、熱硬化性プリプレグ。
続きを表示(約 930 文字)
【請求項2】
前記繊維シートの面方向に垂直な断面において、前記中心領域と前記外側領域との合計厚さに対する前記中心領域の厚さの割合が、10~90%である、請求項1に記載の熱硬化性プリプレグ。
【請求項3】
前記第1及び第2の熱硬化性樹脂組成物が、それぞれ、熱可塑性樹脂及び導電材をさらに含む、請求項1又は2に記載の熱硬化性プリプレグ。
【請求項4】
前記第2の熱硬化性樹脂組成物が、前記繊維シートの外側領域に含浸しているのと合わせて、前記繊維シートの表面上に配置されている、請求項1~3のいずれか一項に記載の熱硬化性プリプレグ。
【請求項5】
前記繊維シートの表面上に配置されている前記第2の熱硬化性樹脂組成物が、樹脂粒子を有している、請求項4に記載の熱硬化性プリプレグ。
【請求項6】
前記繊維シートの表面上に配置されている前記第2の熱硬化性樹脂組成物が、追加の導電材を含んでいる、請求項4又は5に記載の熱硬化性プリプレグ。
【請求項7】
前記第1の熱硬化性樹脂組成物の50℃での粘度が、前記第2の熱硬化性樹脂組成物の50℃での粘度よりも高い、
請求項1~6のいずれか一項に記載の熱硬化性プリプレグ。
【請求項8】
前記第1の熱硬化性樹脂組成物の50℃での粘度が、500~10000Pa・sであり、
前記第2の熱硬化性樹脂組成物の50℃での粘度が、100~1000Pa・sである、
請求項1~7のいずれか一項に記載の熱硬化性プリプレグ。
【請求項9】
前記熱硬化性プリプレグを180℃で120分にわたって熱硬化処理した場合に、
前記繊維シートの面方向に垂直な断面において、前記繊維シートの厚み方向の中心から表面に向かって、前記熱硬化性樹脂の架橋密度が減少する領域が存在する、
請求項1~8のいずれか一項に記載の熱硬化性プリプレグ。
【請求項10】
前記熱硬化性樹脂が、エポキシ樹脂である、請求項1~9のいずれか一項に記載の熱硬化性プリプレグ。
(【請求項11】以降は省略されています)
発明の詳細な説明
【技術分野】
【0001】
本開示は、熱硬化性プリプレグ及びその製造方法に関する。特に、本開示は、航空機等の用途に用いられる炭素繊維強化プラスチック(CFRP)の製造に用いることができる熱硬化性プリプレグ及びその製造方法に関する。
続きを表示(約 1,200 文字)
【背景技術】
【0002】
強化繊維としての炭素繊維とマトリックス樹脂とからなる炭素繊維強化複合材料(コンポジット、又はCFRPともいう)は、軽量、高強度、高弾性率などの特徴を有し、航空機、スポーツ・レジャー、一般産業などに広く応用されている。
【0003】
この複合材料は、多くの場合、あらかじめ炭素繊維とマトリックス樹脂とが一体化されているプリプレグを用いて製造される。例えば、複数のプリプレグを積層することによって、複合材料を製造することができる。
【0004】
プリプレグから製造される複合材料の性能を向上させるための開発が進められている。例えば、一般に、プリプレグを積層成形することによって製造される複合材料は、積層された炭素繊維層の層間にマトリックス樹脂からなる樹脂層を備えている。しかしながら、通常、複合材料に用いられるマトリックス樹脂は、導電性が低いため、複合材料の厚み方向の導電性が比較的低くなることがあった。
【0005】
特許文献1及び2は、複合材料のマトリックス樹脂に金属粒子、あるいはカーボン粒子を配合することを記載している。
【0006】
プリプレグとしては、熱硬化性プリプレグがある。熱硬化性プリプレグは、例えば、炭素繊維シートなどの強化繊維シート中にエポキシ樹脂等の熱硬化性樹脂が含浸した構成を有している。例えば、熱硬化性プリプレグを複数(例えば24層)積層し、その後で熱硬化処理を行うことによって、複合材料を製造することができる。
【0007】
特許文献3は、強化繊維と強化繊維層内に含浸された樹脂組成物(I)とからなる1次プリプレグと、この1次プリプレグの片面又は両面に形成される樹脂組成物(II)からなる表面層と、からなるプリプレグを記載している。特許文献3によれば、樹脂組成物(I)は、エポキシ樹脂及び熱可塑性樹脂を含み、樹脂組成物(II)は、エポキシ樹脂及び導電性粒子を含む。
【先行技術文献】
【特許文献】
【0008】
特開平6-344519号公報
特開平8-34864号公報
国際公開第2014/050896号
【発明の概要】
【発明が解決しようとする課題】
【0009】
従来の熱硬化性プリプレグでは、優れた機械特性を達成することは容易ではなかった。また、特に、従来の熱硬化性プリプレグでは、優れた機械特性に加えて、良好な取扱い性を達成することは容易ではなかった。
【0010】
本開示は、優れた機械特性を有し、特には良好な取扱い性をさらに有する、熱硬化性プリプレグ及びその製造方法を提供することを目的とする。
【課題を解決するための手段】
(【0011】以降は省略されています)
この特許をJ-PlatPat(特許庁公式サイト)で参照する
関連特許
帝人株式会社
衝撃吸収構造体
1か月前
帝人株式会社
複数の孔を有する成形品
1か月前
帝人株式会社
軽量ゴムおよびゴム成形体
3か月前
帝人株式会社
ゲル組成物及びその製造方法
1か月前
帝人株式会社
高視認性難燃布帛および繊維製品
26日前
帝人株式会社
コイルユニット、及びその製造方法
3か月前
帝人株式会社
繊維補強圧力容器及びその製造方法
2か月前
帝人株式会社
ポリカーボネート樹脂および光学部材
26日前
帝人株式会社
熱可塑性樹脂及びそれを含む光学部材
2か月前
帝人株式会社
熱履歴を検知できる布帛および繊維製品
2か月前
帝人株式会社
ポリオレフィン微多孔膜及びエアフィルタ
1か月前
学校法人大阪医科薬科大学
耐久性試験装置
2日前
帝人株式会社
ポリエチレン微多孔膜、及び、医療用デバイス
19日前
帝人株式会社
ポリカーボネート樹脂組成物およびその成形品
2か月前
帝人株式会社
ポリカーボネート樹脂組成物およびその成形品
2か月前
帝人株式会社
熱可塑性樹脂組成物およびそれよりなる成形品
3か月前
帝人株式会社
パラ型全芳香族ポリアミド溶液及びその製造方法
2か月前
帝人株式会社
ポリカーボネート樹脂およびそれからなる成形品
26日前
帝人株式会社
非水系二次電池用セパレータ及び非水系二次電池
26日前
帝人株式会社
非水系二次電池用セパレータ及び非水系二次電池
26日前
帝人株式会社
非水系二次電池用セパレータ及び非水系二次電池
2か月前
帝人株式会社
ポリカーボネート樹脂および該樹脂を用いた光学部材
2か月前
帝人株式会社
ポリエチレン微多孔膜、巻回体及び巻回体の製造方法
19日前
帝人株式会社
変形検出機構、移動体および変形検出機構の製造方法
19日前
帝人株式会社
ポリカーボネート樹脂および該樹脂を用いた光学部材
2か月前
帝人株式会社
ポリカーボネート樹脂組成物およびそれからなる成形品
2か月前
帝人株式会社
ポリカーボネート樹脂組成物およびそれからなる成形品
2か月前
帝人株式会社
ポリカーボネート樹脂組成物およびそれよりなる成形品
2か月前
帝人株式会社
ポリカーボネート樹脂組成物およびそれからなる成形品
1か月前
帝人株式会社
ポリカーボネート樹脂組成物およびそれよりなる成形品
1か月前
帝人株式会社
ポリカーボネート樹脂組成物およびそれよりなる成形品
1か月前
帝人株式会社
ポリカーボネート樹脂組成物およびそれからなる成形品
26日前
帝人株式会社
エポキシ樹脂組成物、プリプレグ、及び繊維強化複合材料
19日前
帝人株式会社
熱可塑性樹脂組成物の製造方法およびそれからなる成形品
12日前
帝人株式会社
半芳香族ポリアミド樹脂組成物およびそれよりなる成形品
3か月前
帝人株式会社
ポリエステル樹脂組成物およびそれを成形してなる成形品
3か月前
続きを見る
他の特許を見る