TOP
|
特許
|
意匠
|
商標
特許ウォッチ
Twitter
他の特許を見る
10個以上の画像は省略されています。
公開番号
2025153787
公報種別
公開特許公報(A)
公開日
2025-10-10
出願番号
2024056423
出願日
2024-03-29
発明の名称
変形検出機構、移動体および変形検出機構の製造方法
出願人
帝人株式会社
代理人
弁理士法人信栄事務所
主分類
G01N
27/20 20060101AFI20251002BHJP(測定;試験)
要約
【課題】物品の変形を正確に検出するための変形検出機構を提供する。
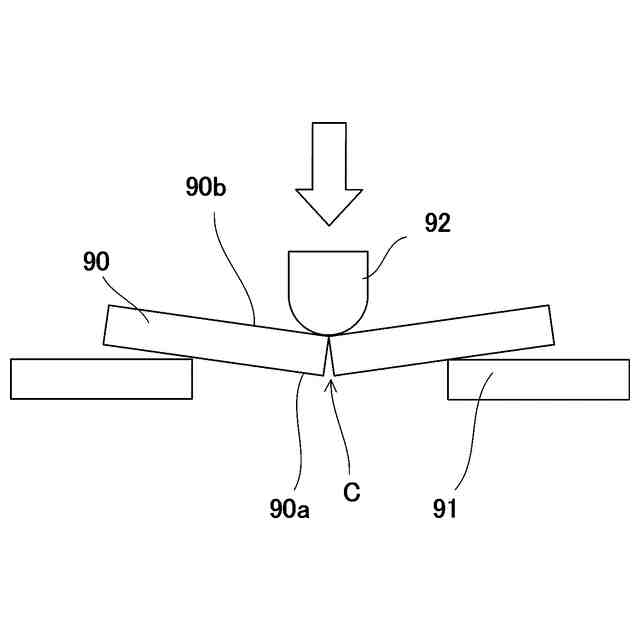
【解決手段】変形検出機構は、板状部材と、前記板状部材の第一の主面に配置されたセンサー部と、を備える面状体と、制御部を備える検出装置と、を備える。前記センサー部は導電性を有し、前記板状部材と前記センサー部とは電気的に絶縁されている。前記制御部は、前記センサー部と電気的に接続され、前記センサー部の電気特性を測定した結果に基づいて前記センサー部が不可逆的に変形したか否かを判定するように構成されている。JIS K 7074:1988で定められる三点曲げ試験手法により前記面状体の前記センサー部が配置された面とは反対側の面に曲げ荷重を加えていき、前記センサー部が不可逆的に変形したと前記制御部が判定したときの曲げ応力をF1(MPa)とし、前記面状体の曲げ強さをF2(MPa)としたとき、0.6<F1/F2<1.4の関係を満たす。
【選択図】図1
特許請求の範囲
【請求項1】
板状部材と、前記板状部材の第一の主面に配置されたセンサー部と、を備える面状体と、
制御部を備える検出装置と、
を備える変形検出機構であって、
前記センサー部は導電性を有し、
前記板状部材と前記センサー部とは電気的に絶縁されており、
前記制御部は、前記センサー部と電気的に接続され、前記センサー部の電気特性を測定した結果に基づいて前記センサー部が不可逆的に変形したか否かを判定するように構成されており、
JIS K 7074:1988で定められる三点曲げ試験手法により前記面状体の前記センサー部が配置された面とは反対側の面に曲げ荷重を加えていき、前記センサー部が不可逆的に変形したと前記制御部が判定したときの曲げ応力をF1(MPa)とし、前記面状体の曲げ強さをF2(MPa)としたとき、0.6<F1/F2<1.4の関係を満たす、変形検出機構。
続きを表示(約 870 文字)
【請求項2】
前記板状部材の比曲げ強度が5((Pa)
1/2
/(kg/m
3
))以上である、請求項1に記載の変形検出機構。
【請求項3】
前記センサー部に間欠的に通電するように構成されている、請求項1に記載の変形検出機構。
【請求項4】
前記センサー部の形態が、線状、繊維状、膜状、立体成形体状及びこれらの組み合わせからなる群より選ばれる1つ以上である、請求項1に記載の変形検出機構。
【請求項5】
前記センサー部の形態が膜状である、請求項4に記載の変形検出機構。
【請求項6】
前記センサー部の導電性成分が銅、銀、金、白金、鉄、錫、アルミニウム、ニッケル、導電性炭素からなる群より選ばれる少なくとも1種を含み、
前記センサー部における前記導電性成分の存在比が30質量%以下である請求項4に記載の変形検出機構。
【請求項7】
前記センサー部の前記導電性成分が、カーボンブラック、黒鉛、炭素繊維、グラフェン、カーボンナノチューブ、カーボンナノストラクチャからなる群より選ばれる少なくとも1種の導電性炭素を含み、
前記センサー部における前記導電性炭素の存在比が20質量%以下である、請求項6に記載の変形検出機構。
【請求項8】
前記センサー部の前記導電性成分が、前記導電性炭素として、黒鉛、炭素繊維、グラフェン、カーボンナノチューブおよびカーボンナノストラクチャからなる群より選ばれる少なくとも1種とカーボンブラックとの組み合わせを含む、請求項7に記載の変形検出機構。
【請求項9】
前記センサー部は、厚みが1.0mm以下、幅が20mm以下の部位を有する、請求項1に記載の変形検出機構。
【請求項10】
前記センサー部の少なくとも2つの部位が100mm以下の間隔を空けて存在している、請求項1に記載の変形検出機構。
(【請求項11】以降は省略されています)
発明の詳細な説明
【技術分野】
【0001】
本発明は、変形検出機構、移動体および変形検出機構の製造方法に関する。
続きを表示(約 1,900 文字)
【背景技術】
【0002】
物品の種類によらず、時間経過や使用による物品の劣化は避けられない。特に車両等の移動体を構成する部品では、動力機関から発生する熱、装置の駆動に伴う摩擦もしくは天候の影響、または飛来物の衝突もしくは移動体内で離脱した他の部品との接触等の原因により、部品に変形や破損が生じることがある。
【0003】
移動体部品の破損は事故の原因となりうるため、破損が生じた場合には直ちにそのことを検知して修理や部品交換を行うべきである。しかし、移動体部品の点検を行うことができるのは専門的な知識を有する技術者に限られ、かつ専門の技術者であっても複雑な構造を有する移動体において部品を点検するには手間が掛かる。したがって、移動体部品に破損が生じたことを直ちに検知し、移動体利用者、特に運転者に知らせる装置が移動体に備えられていることが好ましい。
【0004】
特許文献1には、車両のタイヤホイールなどの可動対象物においてそれらの動作中に発生する亀裂をリアルタイムに検出することができる亀裂検知システムが示されている。特許文献2には、電気自動車などに用いられるバッテリーパックに関し、電気絶縁体製の保護プレートに付与された導電性コーティングを含む変形センサーおよび当該変形センサーの電気抵抗の変化を検出する評価回路によって、保護プレートの破損を検知する技術が開示されている。特許文献3には、バッテリーと、当該バッテリーのある面に配置された保護プレートと、当該保護プレートに埋設された破損表示手段を有する破損検出装置からなる自動車用のバッテリー機構が開示されている。
【先行技術文献】
【特許文献】
【0005】
特開2010-44007号公報
欧州特許出願公開第3392070号明細書
米国特許出願公開第2022/0029215号明細書
【発明の概要】
【発明が解決しようとする課題】
【0006】
破損検出装置は、検出対象の部品が破損した場合に確実にセンサーが反応することが求められる。しかしながら、例えば移動体に外部から飛来物が衝突したときや移動体が縁石や落下物を乗り上げたとき、移動体部品の外観に異常がなくても、衝撃を受けた面と反対側にある、たとえば電気自動車のバッテリーのような重要機能部品に破損が生じている場合がある。そのため、移動体部品などに用いられる破損検出装置は、衝撃を受ける面の反対側に生じる破損を正しく検出できることが好ましい。しかしながら、従来技術では部品が完全に破損した場合にしか検出できないなど、上記の課題についての検討が十分でない。
【0007】
また、破損検出装置では、実際には部品が破損していないにもかかわらずセンサーが反応してしまう誤検知を防ぐことが重要である。しかしながら、従来技術ではそのような誤検知の防止に関する検討が十分でない。
【0008】
本発明は、物品の変形を正確に検出するための変形検出機構を提供することを目的とする。
【課題を解決するための手段】
【0009】
本発明の一実施形態に係る変形検出機構は、
板状部材と、前記板状部材の第一の主面に配置されたセンサー部と、を備える面状体と、
制御部を備える検出装置と、
を備える変形検出機構であって、
前記センサー部は導電性を有し、
前記板状部材と前記センサー部とは電気的に絶縁されており、
前記制御部は、前記センサー部と電気的に接続され、前記センサー部の電気特性を測定した結果に基づいて前記センサー部が不可逆的に変形したか否かを判定するように構成されており、
JIS K 7074:1988で定められる三点曲げ試験手法により前記面状体の前記センサー部が配置された面とは反対側の面に曲げ荷重を加えていき、前記センサー部が不可逆的に変形したと前記制御部が判定したときの曲げ応力をF1(MPa)とし、前記面状体の曲げ強さをF2(MPa)としたとき、0.6<F1/F2<1.4の関係を満たす。
【0010】
本発明の一実施形態に係る移動体は、本発明の一実施形態に係る変形検出機構を有する移動体であって、
前記移動体部品は、前記移動体の底部に配置されるバッテリーハウジング、バッテリー保護プレート、および充電用コイルハウジングからなる群より選ばれる1つ以上であり、
前記板状部材の前記第一の主面が前記移動体の室内を向くように前記変形検出機構が配置されている。
(【0011】以降は省略されています)
この特許をJ-PlatPat(特許庁公式サイト)で参照する
関連特許
帝人株式会社
複数の孔を有する成形品
2か月前
帝人株式会社
ゲル組成物及びその製造方法
2か月前
帝人株式会社
高視認性難燃布帛および繊維製品
2か月前
帝人株式会社
ポリカーボネート樹脂および光学部材
2か月前
帝人株式会社
ポリオレフィン微多孔膜及びエアフィルタ
2か月前
学校法人大阪医科薬科大学
耐久性試験装置
1か月前
帝人株式会社
ポリエチレン微多孔膜、及び、医療用デバイス
1か月前
帝人株式会社
非水系二次電池用セパレータ及び非水系二次電池
2か月前
帝人株式会社
非水系二次電池用セパレータ及び非水系二次電池
2か月前
帝人株式会社
ポリカーボネート樹脂およびそれからなる成形品
2か月前
帝人株式会社
ポリエチレン微多孔膜、巻回体及び巻回体の製造方法
1か月前
帝人株式会社
変形検出機構、移動体および変形検出機構の製造方法
1か月前
帝人株式会社
ポリカーボネート樹脂組成物およびそれからなる成形品
2か月前
帝人株式会社
ポリカーボネート樹脂組成物およびそれからなる成形品
2か月前
帝人株式会社
ポリカーボネート樹脂組成物およびそれよりなる成形品
2か月前
帝人株式会社
エポキシ樹脂組成物、プリプレグ、及び繊維強化複合材料
1か月前
帝人株式会社
熱可塑性樹脂組成物の製造方法およびそれからなる成形品
1か月前
帝人株式会社
蒸着成形品用ポリカーボネート樹脂組成物および蒸着成形品
2か月前
帝人株式会社
難燃性ポリカーボネート樹脂組成物およびそれよりなる成形品
2か月前
帝人株式会社
ポリカーボネート樹脂組成物およびそれを成形してなる成形品
1か月前
帝人株式会社
ポリカーボネート樹脂組成物およびそれを成形してなる成形品
27日前
帝人株式会社
多孔膜捲回体、フィルター用基材、及びカートリッジフィルター
1か月前
帝人株式会社
多孔膜捲回体、フィルター用基材、及びカートリッジフィルター
1か月前
帝人株式会社
折り曲げ加工によって第一部材と、第二部材とが組み合わされた接合部材
20日前
帝人株式会社
リチウム二次電池、リチウム二次電池用セパレータ、及び負極の多孔質化の抑制方法
25日前
帝人株式会社
熱硬化性プリプレグ及びその製造方法
2か月前
帝人株式会社
ポリカーボネート-ポリシロキサン樹脂
2か月前
東京電力ホールディングス株式会社
足場装置
1か月前
帝人株式会社
熱成形用シート、加飾シートおよびこれらを用いた成形体
2か月前
帝人株式会社
熱成形用シート、加飾シートおよびこれらを用いた成形体
2か月前
帝人株式会社
エポキシ樹脂組成物、エポキシ樹脂硬化物、プリプレグ、繊維強化複合材料、エポキシ樹脂硬化物の修復方法、繊維強化複合材料の修復方法、エポキシ樹脂硬化物の再成形方法、繊維強化複合材料の再成形方法、エポキシ樹脂硬化物の分解方法、及び繊維強化複合材料の強化繊維回収方法
1か月前
帝人株式会社
エポキシ樹脂組成物、エポキシ樹脂硬化物、プリプレグ、繊維強化複合材料、エポキシ樹脂硬化物の修復方法、繊維強化複合材料の修復方法、エポキシ樹脂硬化物の再成形方法、繊維強化複合材料の再成形方法、エポキシ樹脂硬化物の分解方法、及び繊維強化複合材料の強化繊維回収方法
1か月前
個人
採尿及び採便具
1か月前
日本精機株式会社
検出装置
27日前
個人
アクセサリー型テスター
1か月前
個人
高精度同時多点測定装置
1か月前
続きを見る
他の特許を見る