TOP
|
特許
|
意匠
|
商標
特許ウォッチ
Twitter
他の特許を見る
10個以上の画像は省略されています。
公開番号
2025168712
公報種別
公開特許公報(A)
公開日
2025-11-12
出願番号
2024073372
出願日
2024-04-30
発明の名称
折り曲げ加工によって第一部材と、第二部材とが組み合わされた接合部材
出願人
帝人株式会社
代理人
個人
主分類
B29C
65/02 20060101AFI20251105BHJP(プラスチックの加工;可塑状態の物質の加工一般)
要約
【課題】強化繊維と熱可塑性樹脂を用いて折り曲げ加工を行う事で、容易にヘミング形状に成形でき、接着剤を用いないことでリサイクルすることが容易な接合部材を作成する。
【解決手段】第一部材と、第二部材とが組み合わされた接合部材であって、前記第一部材は、強化繊維と熱可塑性樹脂を含み、前記接合部材の長手方向に垂直な断面において、前記第一部材と前記第二部材とによって閉断面形状が構成され、前記第一部材は、前記長手方向と直交する幅方向に一端部及び他端部を備え、前記第二部材は、前記長手方向と直交する幅方向に一端部及び他端部を備え、前記第一部材の一端部、又は前記第二部材の一端部において、第一折り曲げ部を有し、前記第一部材の他端部、又は前記第二部材の他端部において、第二折り曲げ部を有する、接合部材。
【選択図】図1
特許請求の範囲
【請求項1】
第一部材と、第二部材とが組み合わされた接合部材であって、
前記第一部材は、強化繊維と熱可塑性樹脂を含み、
前記接合部材の長手方向に垂直な断面において、前記第一部材と前記第二部材とによって閉断面形状が構成され、
前記第一部材は、前記長手方向と直交する幅方向に一端部及び他端部を備え、
前記第二部材は、前記長手方向と直交する幅方向に一端部及び他端部を備え、
前記第一部材の一端部、又は前記第二部材の一端部において、第一折り曲げ部を有し、
前記第一部材の他端部、又は前記第二部材の他端部において、第二折り曲げ部を有する、
接合部材。
続きを表示(約 1,700 文字)
【請求項2】
前記第二部材は、熱可塑性樹脂と強化繊維を含む、請求項1に記載の接合部材。
【請求項3】
前記第一部材の一端部と前記第二部材の一端部との接面は、折り重ねによって形成された接面領域A1と、A1以外の接面領域B1とを形成し、
前記第一部材の他端部と前記第二部材の他端部との接面は、折り重ねによって形成された接面領域A2と、A2以外の接面領域B2とを形成し、
前記接面領域A1及び/又は前記接面領域A2を接合部とする、前記第一部材と前記第二部材とが溶着された請求項1又は2のいずれか1項に記載の接合部材。
【請求項4】
前記接面領域A1及び/又は前記接面領域A2は溶着部である、請求項3に記載の接合部材。
【請求項5】
前記第一部材の一端部と、前記第二部材の一端部とは、折り重ねによって形成された接面領域A1と、A1以外の接面領域B1とを形成し、
前記第一部材の他端部と、前記第二部材の他端部とは、折り重ねによって形成された接面領域A2と、A2以外の接面領域B2とを形成し、
前記接面領域B1及び又は前記接面領域B2を溶着部とする、第一部材と第二部材とが溶着された請求項1乃至4のいずれか1項に記載の接合部材。
【請求項6】
第一部材と、第二部材との接合には接着剤を用いていない、
請求項1乃至5のいずれか1項に記載の接合部材。
【請求項7】
前記第一部材は強化繊維と熱可塑性樹脂を含み、
前記第一部材の一端部と前記第一部材の他端部が折り曲げ加工を施される事によって、前記第一折り曲げ部と前記第二折り曲げ部とをそれぞれ形成し、
前記第一折り曲げ部に、前記第二部材の一端部が挟み込まれ、
前記第二折り曲げ部に、前記第二部材の他端部が挟み込まれた、
請求項1乃至6のいずれか1項に記載の接合部材。
【請求項8】
前記第一部材及び前記第二部材は強化繊維と熱可塑性樹脂を含み、
前記第一部材の一端部と前記第二部材の他端部が折り曲げ加工を施された事によって、前記第一折り曲げ部と前記第二折り曲げ部とをそれぞれ形成し、
前記第一折り曲げ部に、前記第二部材の一端部が挟み込まれ、
前記第二折り曲げ部に、前記第一部材の他端部が挟み込まれた、
請求項1乃至6のいずれか1項に記載の接合部材。
【請求項9】
請求項1乃至8のいずれか1項に記載の接合部材の製造方法であって、
前記第一部材を形成するための第一部材前駆体と、前記第二部材を形成するための第二部材前駆体を準備し、
前記第一部材前駆体は、前記長手方向と直交する幅方向に一端部及び他端部を備え、
前記第二部材前駆体は、前記長手方向と直交する幅方向に一端部及び他端部を備え、
前記第一部材前駆体の一端部、又は前記第二部材前駆体の一端部を加熱して折り曲げて第一折り曲げ部を形成し、
前記第一部材前駆体の他端部、又は前記第二部材前駆体の他端部を加熱して折り曲げて第二折り曲げ部を形成する、
接合部材の製造方法。
【請求項10】
請求項9に記載の接合部材の製造方法であって、
前記第一部材前駆体の一端部、又は前記第二部材前駆体の一端部を加熱して折り曲げた際、折り重ねによって前記第一部材の一端部と前記第二部材の一端部とは接面領域A1を形成し、
前記第一部材前駆体の他端部、又は前記第二部材前駆体の他端部を加熱して折り曲げた際、折り重ねによって前記第一部材の他端部と前記第二部材の他端部とは接面領域A2を形成し、
前記接面領域A1及び又は前記接面領域A2において、加熱して折り曲げた前記第一部材前駆体又は前記第二部材前駆体に含まれる熱可塑性樹脂を、折り曲げ加工によって挟まれた前記第二部材前駆体又は前記第一部材前駆体それぞれに入れ込んで溶着する、
請求項8に記載の接合部材の製造方法。
(【請求項11】以降は省略されています)
発明の詳細な説明
【技術分野】
【0001】
本発明は、第一部材と第二部材とを接合した接合部材に関し、第一部材と第二部材は折り曲げ加工によって接合されている。
続きを表示(約 3,000 文字)
【背景技術】
【0002】
近年、強化繊維と熱可塑性樹脂を圧縮成形した成形品を利用して、接合部材の接合を行うための開発が進められている。特許文献1では、ハット形状の繊維強化熱可塑性樹脂成形品と金属成形品からなる構造体を迅速かつ容易に組み立て、高い接合強度を確保することを目指している。
【0003】
一方、特許文献2および3では、ハット形状の2つの部品を接合するための方法として、2つの鋼板製部材を折り曲げ加工によって接合する接合部材が開示されている。
【先行技術文献】
【特許文献】
【0004】
特開2016-34734号公報
特開2021-31028号公報
特開2018-114969号公報
【発明の概要】
【発明が解決しようとする課題】
【0005】
しかしながら、特許文献1に記載の接合体では、単に2つの成形体を溶着しているだけに過ない。単に溶着だけでは、例えば衝撃吸収部材として用いるとピール強度が不足するため、接合強度に劣る。
【0006】
特許文献2、3に記載の発明では金属を使用しているため、折り曲げ加工を行うためには多大な力が必要となり、製造コストがかかり過ぎる。更には折り曲げ加工した後に接着剤が必要となり、部品の重量が重くなる。更には接着剤と金属とを用いた製品となるため、リサイクル性に劣る。
【0007】
そこで本発明の目的は、強化繊維と熱可塑性樹脂を用いて折り曲げ加工を行う事で、容易にヘミング形状に成形でき、接着剤を用いないことでリサイクルすることが容易な接合部材を作成することにある。
【課題を解決するための手段】
【0008】
本発明者らは鋭意検討した結果、以下に示す手段により、上記課題を解決できることを見出し、本発明に到達した。
【0009】
1.
第一部材と、第二部材とが組み合わされた接合部材であって、
前記第一部材は、強化繊維と熱可塑性樹脂を含み、
前記接合部材の長手方向に垂直な断面において、前記第一部材と前記第二部材とによって閉断面形状が構成され、
前記第一部材は、前記長手方向と直交する幅方向に一端部及び他端部を備え、
前記第二部材は、前記長手方向と直交する幅方向に一端部及び他端部を備え、
前記第一部材の一端部、又は前記第二部材の一端部において、第一折り曲げ部を有し、
前記第一部材の他端部、又は前記第二部材の他端部において、第二折り曲げ部を有する、
接合部材。
2.
前記第二部材は、熱可塑性樹脂と強化繊維を含む、前記1に記載の接合部材。
3.
前記第一部材の一端部と前記第二部材の一端部との接面は、折り重ねによって形成された接面領域A1と、A1以外の接面領域B1とを形成し、
前記第一部材の他端部と前記第二部材の他端部との接面は、折り重ねによって形成された接面領域A2と、A2以外の接面領域B2とを形成し、
前記接面領域A1及び/又は前記接面領域A2を接合部とする、前記第一部材と前記第二部材とが溶着された前記1又は2のいずれか1つに記載の接合部材。
4.
前記接面領域A1及び/又は前記接面領域A2は溶着部である、前記3に記載の接合部材。
5.
前記第一部材の一端部と、前記第二部材の一端部とは、折り重ねによって形成された接面領域A1と、A1以外の接面領域B1とを形成し、
前記第一部材の他端部と、前記第二部材の他端部とは、折り重ねによって形成された接面領域A2と、A2以外の接面領域B2とを形成し、
前記接面領域B1及び又は前記接面領域B2を溶着部とする、第一部材と第二部材とが溶着された前記1乃至4のいずれか1つに記載の接合部材。
6.
第一部材と、第二部材との接合には接着剤を用いていない、
前記1乃至5のいずれか1つに記載の接合部材。
7.
前記第一部材は強化繊維と熱可塑性樹脂を含み、
前記第一部材の一端部と前記第一部材の他端部が折り曲げ加工を施される事によって、前記第一折り曲げ部と前記第二折り曲げ部とをそれぞれ形成し、
前記第一折り曲げ部に、前記第二部材の一端部が挟み込まれ、
前記第二折り曲げ部に、前記第二部材の他端部が挟み込まれた、
前記1乃至6のいずれか1つに記載の接合部材。
8.
前記第一部材及び前記第二部材は強化繊維と熱可塑性樹脂を含み、
前記第一部材の一端部と前記第二部材の他端部が折り曲げ加工を施された事によって、前記第一折り曲げ部と前記第二折り曲げ部とをそれぞれ形成し、
前記第一折り曲げ部に、前記第二部材の一端部が挟み込まれ、
前記第二折り曲げ部に、前記第一部材の他端部が挟み込まれた、
前記1乃至6のいずれか1つに記載の接合部材。
9.
前記1乃至8のいずれか1つに記載の接合部材の製造方法であって、
前記第一部材を形成するための第一部材前駆体と、前記第二部材を形成するための第二部材前駆体を準備し、
前記第一部材前駆体は、前記長手方向と直交する幅方向に一端部及び他端部を備え、
前記第二部材前駆体は、前記長手方向と直交する幅方向に一端部及び他端部を備え、
前記第一部材前駆体の一端部、又は前記第二部材前駆体の一端部を加熱して折り曲げて第一折り曲げ部を形成し、
前記第一部材前駆体の他端部、又は前記第二部材前駆体の他端部を加熱して折り曲げて第二折り曲げ部を形成する、
接合部材の製造方法。
10.
前記9に記載の接合部材の製造方法であって、
前記第一部材前駆体の一端部、又は前記第二部材前駆体の一端部を加熱して折り曲げた際、折り重ねによって前記第一部材の一端部と前記第二部材の一端部とは接面領域A1を形成し、
前記第一部材前駆体の他端部、又は前記第二部材前駆体の他端部を加熱して折り曲げた際、折り重ねによって前記第一部材の他端部と前記第二部材の他端部とは接面領域A2を形成し、
前記接面領域A1及び又は前記接面領域A2において、加熱して折り曲げた前記第一部材前駆体又は前記第二部材前駆体に含まれる熱可塑性樹脂を、折り曲げ加工によって挟まれた前記第二部材前駆体又は前記第一部材前駆体それぞれに入れ込んで溶着する、
前記8に記載の接合部材の製造方法。
【発明の効果】
【0010】
本発明の接合部材によれば、折り曲げ加工された部材に強化繊維と熱可塑性樹脂を含んでいるため、容易に折り曲げ加工を施すことができる。好ましくは強化繊維と熱可塑性樹脂を溶着により接合することで、接着剤を用いる必要がないため接合部材を軽量化することができる。また、接着剤を用いる必要が無いためにリサイクル性に優れる。
【図面の簡単な説明】
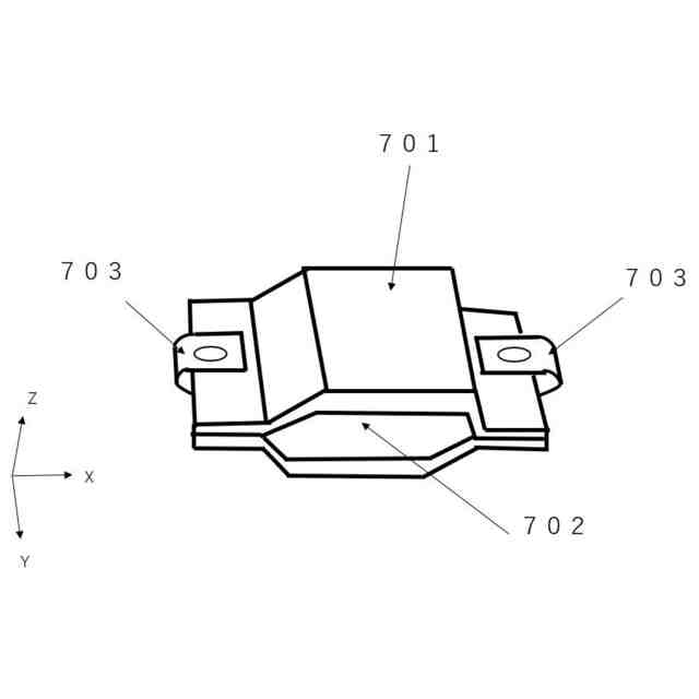
(【0011】以降は省略されています)
この特許をJ-PlatPat(特許庁公式サイト)で参照する
関連特許
帝人株式会社
衝撃吸収構造体
3か月前
帝人株式会社
複数の孔を有する成形品
2か月前
帝人株式会社
軽量ゴムおよびゴム成形体
4か月前
帝人株式会社
ゲル組成物及びその製造方法
2か月前
帝人株式会社
高視認性難燃布帛および繊維製品
2か月前
帝人株式会社
繊維補強圧力容器及びその製造方法
3か月前
帝人株式会社
熱可塑性樹脂及びそれを含む光学部材
3か月前
帝人株式会社
ポリカーボネート樹脂および光学部材
2か月前
帝人株式会社
熱履歴を検知できる布帛および繊維製品
4か月前
帝人株式会社
ポリオレフィン微多孔膜及びエアフィルタ
2か月前
学校法人大阪医科薬科大学
耐久性試験装置
1か月前
帝人株式会社
ポリカーボネート樹脂組成物およびその成形品
3か月前
帝人株式会社
熱可塑性樹脂組成物およびそれよりなる成形品
4か月前
帝人株式会社
ポリカーボネート樹脂組成物およびその成形品
3か月前
帝人株式会社
ポリエチレン微多孔膜、及び、医療用デバイス
1か月前
帝人株式会社
パラ型全芳香族ポリアミド溶液及びその製造方法
3か月前
帝人株式会社
非水系二次電池用セパレータ及び非水系二次電池
3か月前
帝人株式会社
非水系二次電池用セパレータ及び非水系二次電池
2か月前
帝人株式会社
非水系二次電池用セパレータ及び非水系二次電池
2か月前
帝人株式会社
ポリカーボネート樹脂およびそれからなる成形品
2か月前
帝人株式会社
ポリカーボネート樹脂および該樹脂を用いた光学部材
3か月前
帝人株式会社
変形検出機構、移動体および変形検出機構の製造方法
1か月前
帝人株式会社
ポリカーボネート樹脂および該樹脂を用いた光学部材
3か月前
帝人株式会社
ポリエチレン微多孔膜、巻回体及び巻回体の製造方法
1か月前
帝人株式会社
ポリカーボネート樹脂組成物およびそれからなる成形品
2か月前
帝人株式会社
ポリカーボネート樹脂組成物およびそれからなる成形品
3か月前
帝人株式会社
ポリカーボネート樹脂組成物およびそれよりなる成形品
3か月前
帝人株式会社
ポリカーボネート樹脂組成物およびそれよりなる成形品
2か月前
帝人株式会社
ポリカーボネート樹脂組成物およびそれよりなる成形品
3か月前
帝人株式会社
ポリカーボネート樹脂組成物およびそれからなる成形品
4か月前
帝人株式会社
ポリカーボネート樹脂組成物およびそれからなる成形品
2か月前
帝人株式会社
ポリカーボネート樹脂組成物フィルムおよび加飾フィルム
4か月前
帝人株式会社
ポリエステル樹脂組成物およびそれを成形してなる成形品
4か月前
帝人株式会社
熱可塑性樹脂組成物の製造方法およびそれからなる成形品
1か月前
帝人株式会社
エポキシ樹脂組成物、プリプレグ、及び繊維強化複合材料
1か月前
帝人株式会社
蒸着成形品用ポリカーボネート樹脂組成物および蒸着成形品
2か月前
続きを見る
他の特許を見る