TOP
|
特許
|
意匠
|
商標
特許ウォッチ
Twitter
他の特許を見る
公開番号
2025141753
公報種別
公開特許公報(A)
公開日
2025-09-29
出願番号
2024124806
出願日
2024-07-31
発明の名称
メタクリル酸メチル含有組成物の回収方法およびメタクリル樹脂組成物
出願人
旭化成株式会社
代理人
個人
,
個人
,
個人
,
個人
主分類
C08J
11/12 20060101AFI20250919BHJP(有機高分子化合物;その製造または化学的加工;それに基づく組成物)
要約
【課題】本発明の目的は、架橋部を含むメタクリル酸メチル共重合体、非架橋メタクリル酸メチル共重合体、無機フィラーよりなるアクリル樹脂から、メタクリル酸メチル含有組成物を効果的に回収することである。
【解決手段】架橋部を含むメタクリル酸メチル共重合体(A)と非架橋メタクリル酸メチル共重合体(B)が重量比として、A:B=95:5~5:95であり、架橋部を含むメタクリル酸メチル共重合体(A)と非架橋メタクリル酸メチル共重合体(B)の合計を100重量部に対して、無機フィラーを5重量部~80重量部含む組成物(1)を押出機にて熱分解してメタクリル酸メチル含有組成物を得る、メタクリル酸メチル含有組成物の回収方法。
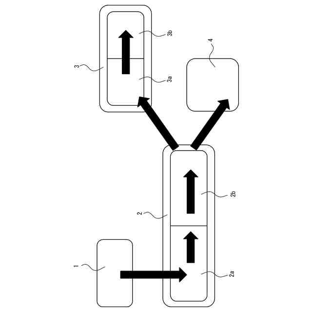
【選択図】図1
特許請求の範囲
【請求項1】
架橋部を含むメタクリル酸メチル共重合体(A)と非架橋メタクリル酸メチル共重合体(B)が重量比として、A:B=95:5~5:95であり、前記架橋部を含むメタクリル酸メチル共重合体(A)と前記非架橋メタクリル酸メチル共重合体(B)の合計を100重量部に対して、無機フィラーを5重量部~80重量部含む組成物(1)を押出機にて熱分解してメタクリル酸メチル含有組成物を得る、メタクリル酸メチル含有組成物の回収方法。
続きを表示(約 980 文字)
【請求項2】
前記非架橋メタクリル酸メチル共重合体(B)が重量平均分子量が50000以上、300000未満である成分を少なくとも含む、請求項1に記載のメタクリル酸メチル含有組成物の回収方法。
【請求項3】
前記架橋部を含むメタクリル酸メチル共重合体(A)が前記無機フィラーと共に粉砕されたもの(性状1)であり、前記非架橋メタクリル酸メチル共重合体(B)が少なくとも粉砕されたもの、球形状パウダー状またはペレット状のうち1種以上の形態(性状2)である、請求項1に記載のメタクリル酸メチル含有組成物の回収方法。
【請求項4】
前記架橋部を含むメタクリル酸メチル共重合体(A)と前記無機フィラーの合計100重量%に対して、展着剤を0.01~10重量%含む、請求項1または3に記載のメタクリル酸メチル含有組成物の回収方法。
【請求項5】
前記(性状1)と(性状2)は、ドライブレンドによって混合されている、請求項3に記載のメタクリル酸メチル含有組成物の回収方法。
【請求項6】
前記無機フィラーが水酸化アルミニウムまたはシリカよりなる、請求項1に記載のメタクリル酸メチル含有組成物の回収方法。
【請求項7】
前記押出機での熱分解部出口から排出された未分解成分を含む残渣成分を貯蔵タンク、熱分解により発生したリサイクルメタクリル酸メチルを含むガスを冷却により液体成分として回収タンクに分離する、請求項1に記載のメタクリル酸メチル含有組成物の回収方法。
【請求項8】
請求項7に記載の残渣成分に含まれる無機成分がアルミニウム化合物であり、残渣成分を焼成することで、有機成分が除去された酸化アルミニウム含有組成物を得る、請求項7に記載のメタクリル酸メチル含有組成物の回収方法。
【請求項9】
請求項7に記載の残渣成分に含まれる無機成分がケイ素化合物であり、残渣成分を焼成することで、有機成分が除去されたシリカを得る、請求項7に記載のメタクリル酸メチル含有組成物の回収方法。
【請求項10】
前記組成物(1)が、人工大理石の廃材よりなる、請求項1に記載のメタクリル酸メチル含有組成物の回収方法。
(【請求項11】以降は省略されています)
発明の詳細な説明
【技術分野】
【0001】
本発明は、メタクリル酸メチル共重合体からメタクリル酸メチル含有組成物を回収する方法ならびに回収されたメタクリル酸メチル含有組成物を用いて得られるメタクリル樹脂組成物に関する。
続きを表示(約 1,200 文字)
【背景技術】
【0002】
環境負荷を低減する観点から石油由来の合成樹脂に対するリサイクルのニーズが高まっている。リサイクルの種類としては、再度熱溶融を経て加工させるメカニカルリサイクルや熱分解により解重合して得た単量体を再利用するケミカルリサイクルが広く知られている。メタクリル酸メチル共重合体はその優れた透明性による意匠性や耐候性の観点から用いられることが多いが、メカニカルリサイクルではリサイクル材としての使用にあたり、添加剤等のコンパウンド品の選別や不純物の混在による意匠性の低下、熱履歴によるポリマーの物性劣化という点でリサイクルできる範囲に制限がある。一方、ケミカルリサイクルは解重合により単量体にすることにより、その単量体を使用して重合した際のメタクリル酸メチル共重合体の物性は、非リサイクル単量体を用いた共重合体の物性やリサイクル前の物性と同等にすることができるという利点がある。
【0003】
一方、メタクリル酸メチル共重合体は他の樹脂に比べ、解重合しやすい樹脂として知られているが、特に無機フィラーを含有した架橋メタクリル酸メチル共重合体のケミカルリサイクル方法については知られておらず、石油化学に対する社会的要請に応えるためにケミカルリサイクルによるメタクリル酸メチル含有組成物を回収する方法が求められる。
【0004】
特許文献1には外熱式ロータリーキルンを用い、メタクリル酸メチル共重合廃材を無機質材料または金属粉末と共存させることにより熱分解時の温度を安定化させ、高純度単量体を回収する方法が記載されている。
【0005】
特許文献2には第1の押出機、第2の押出機を用い、それらのシリンダ温度の設定により、廃プラスチック等の樹脂材料を効率的に処理する方法が記載されている。
【先行技術文献】
【特許文献】
【0006】
特許第1370656号
特開2024-1935号公報
【発明の概要】
【発明が解決しようとする課題】
【0007】
特許文献1では熱分解装置として押出機の使用は記載されていない。また、熱分解するメタクリル酸メチル共重合体の詳細については記載されておらず、汎用の非架橋PMMAが想定されている。
【0008】
特許文献2では樹脂を熱分解するための装置に関するものであり、熱分解原材料の詳細については記載されていない。
【0009】
そこで本発明においては、架橋部を含むメタクリル酸メチル共重合体、非架橋メタクリル酸メチル共重合体、無機フィラーよりなるアクリル樹脂から、メタクリル酸メチル含有組成物を効果的に回収する方法を提供することを課題とする。
【課題を解決するための手段】
【0010】
上記課題を解決するため、本発明者らは鋭意研究を重ねた結果、下記手段により課題を解決できることを見出した。
(【0011】以降は省略されています)
この特許をJ-PlatPat(特許庁公式サイト)で参照する
関連特許
旭化成株式会社
収納箱
1か月前
旭化成株式会社
検査装置
今日
旭化成株式会社
樹脂組成物
2か月前
旭化成株式会社
研磨パッド
1か月前
旭化成株式会社
ゴム組成物
27日前
旭化成株式会社
青果物輸送方法
1か月前
旭化成株式会社
紫外線照射装置
7日前
旭化成株式会社
積層体の製造方法
1か月前
旭化成株式会社
レーザダイオード
1か月前
旭化成株式会社
積層体及び光学部材
3日前
旭化成株式会社
紫外線照射システム
2か月前
旭化成株式会社
ポリアミドの製造方法
1か月前
旭化成株式会社
深紫外線光源検査装置
2か月前
旭化成株式会社
再生ABS系樹脂組成物
1か月前
旭化成株式会社
硬化性組成物及び合成皮革
1か月前
旭化成株式会社
ポリアセタール樹脂組成物
1か月前
旭化成株式会社
硬化性組成物及び合成皮革
1か月前
旭化成株式会社
樹脂製偏光ビームスプリッタ
1か月前
旭化成株式会社
検査装置および検査システム
13日前
旭化成株式会社
分岐ポリオキシメチレン樹脂
2か月前
旭化成株式会社
硬化性組成物、及びその硬化物
27日前
旭化成株式会社
イソシアネート化合物の製造方法
今日
旭化成株式会社
イソシアネート化合物の製造方法
今日
旭化成株式会社
車両用シートとその振動低減方法
1か月前
旭化成株式会社
ホルムアルデヒドガスの製造方法
1か月前
旭化成株式会社
水素製造システム及び水素製造方法
3日前
旭化成株式会社
塗料組成物、及び樹脂膜の製造方法
1か月前
旭化成株式会社
解析装置、システムおよびプログラム
6日前
旭化成株式会社
CNSLを用いたフェノールの製造方法
29日前
旭ファイバーグラス株式会社
断熱箱体
2か月前
旭化成株式会社
設計支援プログラムおよび設計支援装置
1か月前
旭化成株式会社
ポリアセタール樹脂組成物及びその成形品
3日前
旭化成株式会社
予測システム、プログラム、及び予測方法
27日前
旭化成株式会社
ポリアセタール樹脂組成物及び医療器具部品
3日前
旭化成株式会社
フィルム、成形体、及びフィルムの貼替方法
13日前
旭化成株式会社
セルロース微細繊維ウェットケークの梱包体
3日前
続きを見る
他の特許を見る