TOP
|
特許
|
意匠
|
商標
特許ウォッチ
Twitter
他の特許を見る
公開番号
2025141678
公報種別
公開特許公報(A)
公開日
2025-09-29
出願番号
2024041721
出願日
2024-03-15
発明の名称
車両の制御装置
出願人
トヨタ自動車株式会社
代理人
個人
,
個人
主分類
B60W
30/182 20200101AFI20250919BHJP(車両一般)
要約
【課題】スポーツ走行を実行する際に、不要なダウンシフトを抑制しつつ駆動トルクを確保し易くすることができる車両の制御装置を提供する。
【解決手段】自動変速機のシフトポジションが前進走行ポジションであるときに、スポーツ走行の実行中であると判定され、且つ、許可条件が成立していると判定された場合には、自動変速機のダウンシフトが実行される。これにより、スポーツ走行の実行中にダウンシフトが実行され、駆動トルクが確保され易くされる。又、許可条件が成立している場合に限定されるので、例えば横滑り抑制制御が作動している状態のときにはダウンシフトが実行されない。よって、スポーツ走行を実行する際に、不要なダウンシフトを抑制しつつ駆動トルクを確保し易くすることができる。スポーツ走行の実行中に車両姿勢のコントロールがし易くされる。又、旋回後の立ち上がりの加速性能が向上させられる。
【選択図】図2
特許請求の範囲
【請求項1】
動力源と、前記動力源と駆動輪との間の動力伝達経路に設けられた自動変速機と、を備えた車両の、制御装置であって、
旋回時に前記車両を横滑り状態で走行させるスポーツ走行の実行中であるか否かを判定するスポーツ走行判定部と、
車速が所定車速未満であり、且つ、横滑り抑制制御の作動が制限されている状態であるという許可条件が成立しているか否かを判定する条件成立判定部と、
前記自動変速機のシフトポジションが自動変速制御を実行して前進走行を可能とする前進走行ポジションであるときに、前記スポーツ走行の実行中であると判定され、且つ、前記許可条件が成立していると判定された場合には、前記自動変速機のダウンシフトを実行する変速機制御部と、
を含むことを特徴とする車両の制御装置。
続きを表示(約 650 文字)
【請求項2】
前記所定車速は、前記スポーツ走行の実行に必要となる駆動トルクを実現する前記動力源のトルクを発生可能な予め定められた前記車速の下限値であることを特徴とする請求項1に記載の車両の制御装置。
【請求項3】
前記自動変速機は、複数の係合装置のうちの何れかの係合によって複数のギヤ段のうちの何れかが形成される有段変速機であり、
前記ダウンシフトは、解放側の前記係合装置を解放した状態で前記動力源のトルクによって前記有段変速機の入力回転速度を前記ダウンシフト後の同期回転速度に向けて上昇させた後に、係合側の前記係合装置を係合するブリッピングダウンシフトであることを特徴とする請求項1又は2に記載の車両の制御装置。
【請求項4】
前記許可条件には、更に、前記自動変速機の変速作動に用いられる作動油の温度が前記ブリッピングダウンシフトを行うことが可能となる予め定められた下限油温以上であること、及びアクセル操作量が前記ブリッピングダウンシフトの過渡制御が可能となる予め定められた上限アクセル操作量以下であること、のうちの少なくとも一方が含まれていることを特徴とする請求項3に記載の車両の制御装置。
【請求項5】
前記許可条件には、更に、前記車両に設定された駆動モードがエネルギー効率よりも動力性能を優先した状態で運転可能なように走行を行うスポーツモードであることが含まれていることを特徴とする請求項1又は2に記載の車両の制御装置。
発明の詳細な説明
【技術分野】
【0001】
本発明は、旋回時に車両を横滑り状態で走行させるスポーツ走行中の制御を実行する車両の制御装置に関するものである。
続きを表示(約 1,900 文字)
【背景技術】
【0002】
動力源と、前記動力源と駆動輪との間の動力伝達経路に設けられた自動変速機と、を備えた車両の、制御装置が良く知られている。例えば、特許文献1に記載された車両の制御装置がそれである。この特許文献1には、エンジンと有段式変速機構とを備えた車両において、急減速が要求された場合に、ダウンシフトを実行することが開示されている。
【先行技術文献】
【特許文献】
【0003】
特開2023-157456号公報
【発明の概要】
【発明が解決しようとする課題】
【0004】
ここで、特許文献1に記載の技術を参照すると、コーナに入る前の強いブレーキ中にダウンシフトを実行することで、低車速側のギヤ段を形成することが可能である。一方で、旋回時に車両を横滑り状態で走行させるスポーツ走行の実行中に、車速やエンジン回転速度が低域まで下がってしまう場合がある。この場合、スポーツ走行の実行中の走行状態によっては、ダウンシフトが判断される領域に入らず、ダウンシフトが行われない可能性がある。そうすると、駆動トルクの不足などによって駆動輪がグリップしてしまい、スポーツ走行の実行中に車両姿勢例えば横滑り状態を上手く保つことができないおそれがある。又は、旋回後は、駆動トルクの不足状態からの加速となる為、再加速が鈍るおそれがある。
【0005】
本発明は、以上の事情を背景として為されたものであり、その目的とするところは、スポーツ走行を実行する際に、不要なダウンシフトを抑制しつつ駆動トルクを確保し易くすることができる車両の制御装置を提供することにある。
【課題を解決するための手段】
【0006】
第1の発明の要旨とするところは、(a)動力源と、前記動力源と駆動輪との間の動力伝達経路に設けられた自動変速機と、を備えた車両の、制御装置であって、(b)旋回時に前記車両を横滑り状態で走行させるスポーツ走行の実行中であるか否かを判定するスポーツ走行判定部と、(c)車速が所定車速未満であり、且つ、横滑り抑制制御の作動が制限されている状態であるという許可条件が成立しているか否かを判定する条件成立判定部と、(d)前記自動変速機のシフトポジションが自動変速制御を実行して前進走行を可能とする前進走行ポジションであるときに、前記スポーツ走行の実行中であると判定され、且つ、前記許可条件が成立していると判定された場合には、前記自動変速機のダウンシフトを実行する変速機制御部と、を含むことにある。
【発明の効果】
【0007】
前記第1の発明によれば、自動変速機のシフトポジションが前進走行ポジションであるときに、スポーツ走行の実行中であると判定され、且つ、許可条件が成立していると判定された場合には、自動変速機のダウンシフトが実行される。これにより、スポーツ走行の実行中にダウンシフトが実行され、駆動トルクが確保され易くされる。又、許可条件が成立している場合に限定されるので、例えば横滑り抑制制御が作動している状態のときにはダウンシフトが実行されない。よって、スポーツ走行を実行する際に、不要なダウンシフトを抑制しつつ駆動トルクを確保し易くすることができる。スポーツ走行の実行中に車両姿勢のコントロールがし易くされる。又、旋回後の立ち上がりの加速性能が向上させられる。
【図面の簡単な説明】
【0008】
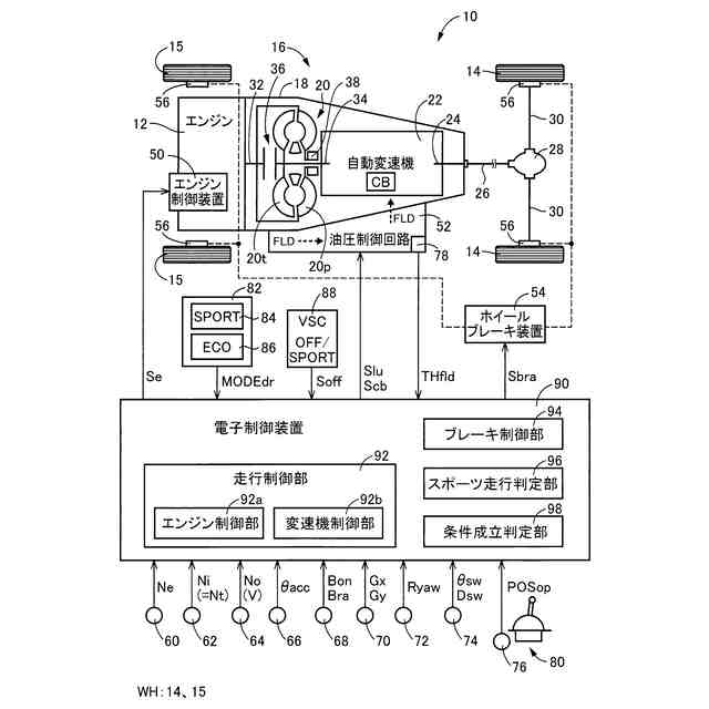
本発明が適用される車両の概略構成を説明する図であると共に、車両における各種制御の為の制御機能及び制御系統の要部を説明する図である。
電子制御装置の制御作動の要部を説明するフローチャートであり、ドリフト走行を実行する際に不要なダウンシフトを抑制しつつ駆動トルクを確保し易くする為の制御作動を説明するフローチャートである。
図2のフローチャートに示す制御作動を実行した場合のタイムチャートの一例を示す図である。
【発明を実施するための形態】
【0009】
以下、本発明の実施例を図面を参照して詳細に説明する。
【実施例】
【0010】
図1は、本発明が適用される車両10の概略構成を説明する図であると共に、車両10における各種制御の為の制御機能及び制御系統の要部を説明する図である。図1において、車両10は、動力源としてのエンジン12と、駆動輪14と、エンジン12と駆動輪14との間の動力伝達経路に設けられた動力伝達装置16と、を備えている。
(【0011】以降は省略されています)
この特許をJ-PlatPat(特許庁公式サイト)で参照する
関連特許
トヨタ自動車株式会社
電池
今日
トヨタ自動車株式会社
車両
5日前
トヨタ自動車株式会社
電池
1日前
トヨタ自動車株式会社
車両
5日前
トヨタ自動車株式会社
車両
9日前
トヨタ自動車株式会社
回転子
5日前
トヨタ自動車株式会社
ロータ
7日前
トヨタ自動車株式会社
電動車
1日前
トヨタ自動車株式会社
ケース
今日
トヨタ自動車株式会社
電解液
5日前
トヨタ自動車株式会社
電動車
5日前
トヨタ自動車株式会社
電動車
7日前
トヨタ自動車株式会社
電動車
5日前
トヨタ自動車株式会社
電動車
5日前
トヨタ自動車株式会社
制御装置
5日前
トヨタ自動車株式会社
蓄電装置
6日前
トヨタ自動車株式会社
電動車両
5日前
トヨタ自動車株式会社
蓄電装置
9日前
トヨタ自動車株式会社
蓄電セル
5日前
トヨタ自動車株式会社
駆動装置
5日前
トヨタ自動車株式会社
制御装置
9日前
トヨタ自動車株式会社
蓄電装置
5日前
トヨタ自動車株式会社
電源装置
5日前
トヨタ自動車株式会社
ロボット
1日前
トヨタ自動車株式会社
蓄電装置
6日前
トヨタ自動車株式会社
制御装置
今日
トヨタ自動車株式会社
育苗装置
6日前
トヨタ自動車株式会社
蓄電セル
7日前
トヨタ自動車株式会社
蓄電装置
今日
トヨタ自動車株式会社
蓄電セル
7日前
トヨタ自動車株式会社
路側装置
今日
トヨタ自動車株式会社
蓄電装置
7日前
トヨタ自動車株式会社
塗布装置
7日前
トヨタ自動車株式会社
切断装置
5日前
トヨタ自動車株式会社
電気自動車
7日前
トヨタ自動車株式会社
積層構造体
5日前
続きを見る
他の特許を見る