TOP
|
特許
|
意匠
|
商標
特許ウォッチ
Twitter
他の特許を見る
10個以上の画像は省略されています。
公開番号
2025141625
公報種別
公開特許公報(A)
公開日
2025-09-29
出願番号
2024041643
出願日
2024-03-15
発明の名称
シート給送装置およびシート給送装置を有する画像形成装置
出願人
キヤノン株式会社
代理人
個人
,
個人
,
個人
,
個人
,
個人
主分類
B65H
3/48 20060101AFI20250919BHJP(運搬;包装;貯蔵;薄板状または線条材料の取扱い)
要約
【課題】 シートにエア吹き付けして給送するシート給送装置において、シートの捌き不足によるシート給送不良の発生する虞がある。
【解決手段】 シート支持部と、シートを給送する給送ローラと、シートの側端部に向けて送風する送風部と、シートの給送異常を検知する検知手段と、シートの給送枚数をカウントするカウント手段と、シートの枚数を設定する設定手段と、エア給送動作を制御する制御部と、を備え、前記制御部は、前記検知手段によりシートの給送異常が検知された場合、前記カウント手段によるカウント値に基づいて、前記設定手段によって設定された給送枚数を減算し、前記減算された給送枚数で前記エア給送動作を実行する。
【選択図】 図9
特許請求の範囲
【請求項1】
シートを支持するシート支持部と、
前記シート支持部に支持されたシートに当接し、シートを給送する給送ローラと、
前記シート支持部に支持されたシートの側端部に向けて送風する送風部と、
前記給送ローラのシート給送方向の下流に設けられ、シートの給送異常を検知する検知手段と、
前記給送ローラによって給送されるシートの給送枚数をカウントするカウント手段と、
前記給送ローラによって給送されるシートの枚数を設定する設定手段と、
前記送風部によりシートの側端部に向けて送風させた後に、前記送風部による送風を停止した状態で前記設定手段に設定された給送枚数のシートを前記給送ローラにより給送させ、前記給送枚数のシートを前記給送ローラに給送させた後に、前記送風部によりシートの側端部に向けて送風させるエア給送動作を制御する制御部と、を備え、
前記制御部は、前記検知手段によりシートの給送異常が検知された場合、前記カウント手段によるカウント値に基づいて、前記設定手段によって設定された給送枚数を減算し、前記減算された給送枚数で前記エア給送動作を実行する、
ことを特徴とするシート給送装置。
続きを表示(約 700 文字)
【請求項2】
前記検知手段は、前記シート給送部から給送されたシートの重送を検知する重送検知手段であって、
前記制御部は、前記重送検知手段によりシートの重送を検知された場合、前記減算された給送枚数で前記エア給送動作を実行する、
ことを特徴とする請求項1に記載のシート給送装置。
【請求項3】
前記検知手段は、前記シート給送部から給送されたシートの端部を検知するシート検知手段であって、
前記制御部は、前記シート検知手段によりシートの遅延および滞留が検知された場合、前記減算された給送枚数で前記エア給送動作を実行する、
ことを特徴とする請求項1に記載のシート給送装置。
【請求項4】
請求項1乃至3の何れか1項に記載のシート給送装置と、
前記シート給送装置によって給送されるシートに画像を形成する画像形成部と、を備える画像形成装置。
【請求項5】
前記シート支持部に載置されるシートの有無を検知するシート有無検知手段と、
前記画像形成装置に電源を供給するためのスイッチ手段と、
前記減算された給送枚数および前記カウント手段によるカウント値を所定値にリセットするリセット手段と、を備え、
前記制御部は、前記スイッチ手段によりOFF状態からON状態に切り換えた場合、または、前記シート有無検知手段によってシートを検知した場合に、前記リセット手段によって前記減算された給送枚数および前記カウント値を前記所定値にリセットする、
ことを特徴とする請求項4に記載の画像形成装置。
発明の詳細な説明
【技術分野】
【0001】
本発明は、シート給送装置および画像形成装置に関する。
続きを表示(約 2,100 文字)
【背景技術】
【0002】
例えば複写機、ファクシミリ、プリンタ等の画像形成装置には、画像を形成する画像形成部に供給するシートの束をセットするシート給送装置が備えられている。シート給送装置は、画像形成装置本体の下部に設けられた給送カセット部や、画像形成装置本体の側面に設けられた手差し給送部等を有する。
【0003】
近年、多様な種類のシートに画像を形成する要望が増え、例えばコート紙等の平滑な表面性を有するシートが記録材として用いられることがある。このような表面が平滑なシートの束がシート給送装置にセットされた場合、シート同士の密着力が高く、シート束から1枚のシートを分離して給送することが困難になることも生じる。そのため、特許文献1には、シート同士の間にエアを吹き付け、シートを浮上させることでシートを捌くものが開示されている。
【0004】
また、特許文献2には、シート束にエアを吹き付け、シートを浮揚させた状態のまま給送を行った場合、シートが斜行し易くなる問題があるため、所定時間エア吹き付けを行った後にエア吹き付けを止めてからシートを給送するものが開示されている。
【先行技術文献】
【特許文献】
【0005】
特開平4-23747号公報
特開2023-102814号公報
【発明の概要】
【発明が解決しようとする課題】
【0006】
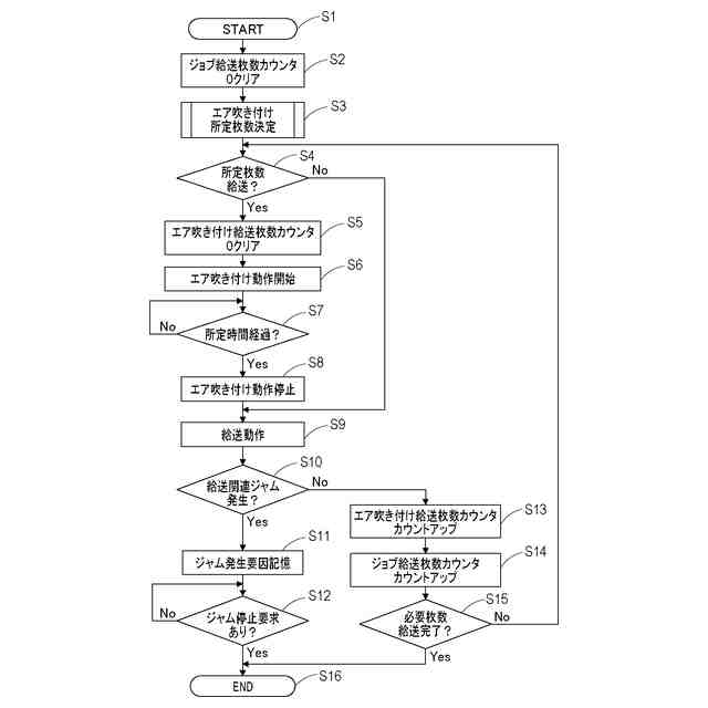
しかしながら、シートの種類に関して様々な物性値の異なるシートが多く存在するため、あるシートにおいてシート同士の密着力が想定以上に強くなる場合がある。特許文献2に開示されるように、給送動作を停止させた状態で所定時間(10秒間)シート束にエア吹き付けを行った後で所定枚数(例えば、10枚)給送する。その後、繰り返し、上記のエア吹き付けと給送動作を行った場合、シート束から所定枚数(10枚)のシートが浮揚せず捌き不足となり得る虞がある。この捌き不足が発生した場合、シート給送時にシート束から最上位のシートが分離せず所定の時間内にシートが画像形成装置内の搬送路の所定位置までに到達しない給送ジャムが発生する虞がある。また、最上位のシートとその下に在るシートが複数枚重なった状態で給送されてしまう重送ジャムも発生する虞がある。
【0007】
そこで本発明の目的は、シートにエア吹き付けして給送するシート給送装置において、シートの捌き不足によるシート給送不良の発生を低減することである。
【課題を解決するための手段】
【0008】
本発明の一態様は、シートを支持するシート支持部と、前記シート支持部に支持されたシートに当接し、シートを給送する給送ローラと、前記シート支持部に支持されたシートの側端部に向けて送風する送風部と、前記給送ローラのシート給送方向の下流に設けられ、シートの給送異常を検知する検知手段と、前記給送ローラによって給送されるシートの給送枚数をカウントするカウント手段と、前記給送ローラによって給送されるシートの枚数を設定する設定手段と、前記送風部によりシートの側端部に向けて送風させた後に、前記送風部による送風を停止した状態で前記設定手段に設定された給送枚数のシートを前記給送ローラにより給送させ、前記給送枚数のシートを前記給送ローラに給送させた後に、前記送風部によりシートの側端部に向けて送風させるエア給送動作を制御する制御部と、を備え、前記制御部は、前記検知手段によりシートの給送異常が検知された場合、前記カウント手段によるカウント値に基づいて、前記設定手段によって設定された給送枚数を減算し、前記減算された給送枚数で前記エア給送動作を実行する、ことを特徴とする。
【発明の効果】
【0009】
本発明では、エア吹き付けによるシートの捌き不足を解消し、シートの給送不良の発生を低減可能なシート給送装置を提供することができる。
【図面の簡単な説明】
【0010】
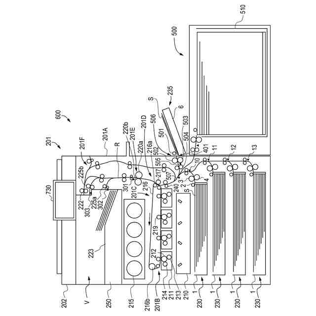
本発明の実施形態に係る画像形成装置の断面図。
本発明の実施形態に係るシート給送装置の制御ブロック図。
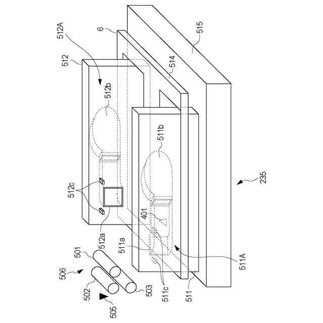
本発明の実施形態に係る手差し給送部の構成を示す模式図。
本発明の実施形態に係る手差し給送部において、エア吹き付け動作を実行した状態を示す模式図。
本発明の実施形態に係るシート情報の設定画面図。
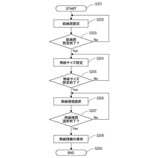
本発明の実施形態に係るシート種設定手順を示すフローチャート。
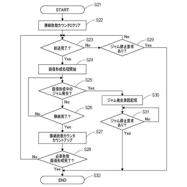
本発明の実施形態に係るシート給送制御を示すフローチャート。
本発明の実施形態に係る画像形成制御を示すフローチャート。
本発明の実施形態に係るエア吹き付け所定枚数設定制御を示すフローチャート。
本発明の実施形態に係るRAMに記憶されるエア吹き付け給送枚数カウンタ、エア吹き付け所定枚数、ジャム発生要因記憶領域の初期化制御を示すフローチャート。
ジャムコードの一覧を示す図である。
【発明を実施するための形態】
(【0011】以降は省略されています)
この特許をJ-PlatPat(特許庁公式サイト)で参照する
関連特許
キヤノン株式会社
トナー
今日
キヤノン株式会社
収容装置
8日前
キヤノン株式会社
記録装置
今日
キヤノン株式会社
表示装置
7日前
キヤノン株式会社
発光装置
7日前
キヤノン株式会社
電子機器
4日前
キヤノン株式会社
電子機器
2日前
キヤノン株式会社
撮像装置
今日
キヤノン株式会社
現像剤容器
1日前
キヤノン株式会社
半導体装置
2日前
キヤノン株式会社
映像表示装置
4日前
キヤノン株式会社
吐出素子基板
今日
キヤノン株式会社
画像表示装置
今日
キヤノン株式会社
画像形成装置
2日前
キヤノン株式会社
表示システム
1日前
キヤノン株式会社
画像処理装置
1日前
キヤノン株式会社
画像形成装置
4日前
キヤノン株式会社
画像形成装置
1日前
キヤノン株式会社
画像形成装置
1日前
キヤノン株式会社
画像形成装置
1日前
キヤノン株式会社
画像形成装置
1日前
キヤノン株式会社
画像形成装置
4日前
キヤノン株式会社
画像形成装置
4日前
キヤノン株式会社
画像形成装置
4日前
キヤノン株式会社
画像形成装置
4日前
キヤノン株式会社
画像形成装置
7日前
キヤノン株式会社
画像形成装置
7日前
キヤノン株式会社
画像形成装置
7日前
キヤノン株式会社
画像形成装置
4日前
キヤノン株式会社
画像形成装置
4日前
キヤノン株式会社
画像形成装置
今日
キヤノン株式会社
画像形成装置
4日前
キヤノン株式会社
画像形成装置
4日前
キヤノン株式会社
情報処理装置
今日
キヤノン株式会社
画像形成装置
4日前
キヤノン株式会社
画像形成装置
今日
続きを見る
他の特許を見る