TOP
|
特許
|
意匠
|
商標
特許ウォッチ
Twitter
他の特許を見る
10個以上の画像は省略されています。
公開番号
2025141577
公報種別
公開特許公報(A)
公開日
2025-09-29
出願番号
2024041585
出願日
2024-03-15
発明の名称
情報処理装置、インクジェット記録装置、情報処理方法、および、プログラム
出願人
キヤノン株式会社
代理人
弁理士法人大塚国際特許事務所
主分類
B41J
2/01 20060101AFI20250919BHJP(印刷;線画機;タイプライター;スタンプ)
要約
【課題】排紙部に後処理工程機構を装着すると、紙ジャムが発生しやすい。
【解決手段】情報処理装置は、記録媒体に画像を記録するとともに、前記画像が記録された記録媒体に後処理工程を実行する後処理工程機構を、前記記録媒体が排紙される排紙部に装着可能なインクジェット記録装置を制御する情報処理装置であって、前記画像を記録するための設定である記録設定を記憶する記憶手段と、前記記録設定を設定する制御手段と、を備え、前記制御手段は、前記後処理工程機構が装着されている場合、第1記録設定よりも前記記録媒体のカールが低減された状態で排紙する第2記録設定を記録設定として設定可能である。
【選択図】 図10
特許請求の範囲
【請求項1】
記録媒体に画像を記録するとともに、前記画像が記録された記録媒体に後処理工程を実行する後処理工程機構を、前記記録媒体が排紙される排紙部に装着可能なインクジェット記録装置を制御する情報処理装置であって、
前記画像を記録するための設定である記録設定を記憶する記憶手段と、
前記記録設定を設定する制御手段と、を備え、
前記制御手段は、前記後処理工程機構が装着されている場合、第1記録設定よりも前記記録媒体のカールが低減された状態で排紙する第2記録設定を記録設定として設定可能であることを特徴とする情報処理装置。
続きを表示(約 960 文字)
【請求項2】
前記制御手段は、前記後処理工程機構が装着されている場合、前記第2記録設定への変更をユーザが選択するユーザインターフェースを表示して、前記ユーザから前記第2記録設定への変更を受け付ける
ことを特徴とする請求項1に記載の情報処理装置。
【請求項3】
前記制御手段は、前記後処理工程機構が実行する処理として、シフトソート、ステイプル、および、パンチのいずれかを受け付ける
ことを特徴とする請求項1に記載の情報処理装置。
【請求項4】
前記制御手段は、前記第2記録設定において、前記第1記録設定よりも記録デューティーを下げるように設定する
ことを特徴とする請求項1に記載の情報処理装置。
【請求項5】
前記制御手段は、前記記録デューティーを下げるよう設定する場合、前記画像の記録濃度が下がる旨を表示する
ことを特徴とする請求項4に記載の情報処理装置。
【請求項6】
前記第2記録設定は、前記第1記録設定よりも記録時間が長い設定である
ことを特徴とする請求項1に記載の情報処理装置。
【請求項7】
前記制御手段は、前記記録時間を長く設定する場合、前記画像の記録中の待機時間を調整する
ことを特徴とする請求項6に記載の情報処理装置。
【請求項8】
前記制御手段は、前記記録時間を長く設定する場合、前記画像の記録速度を調整する
ことを特徴とする請求項6に記載の情報処理装置。
【請求項9】
前記制御手段は、記録媒体のジャムの発生の有無を示す発生情報を保存し、前記発生情報に基づいてジャムの発生を判定し、当該判定に基づいて、前記第2記録設定を受け付けるユーザインターフェースを表示する
ことを特徴とする請求項1に記載の情報処理装置。
【請求項10】
前記制御手段は、記録媒体のジャムの発生の有無を示す発生情報を保存し、記録動作中にジャムが発生した場合、前記発生情報に基づいて前記第2記録設定を設定して、再度、記録動作を行う
ことを特徴とする請求項1に記載の情報処理装置。
(【請求項11】以降は省略されています)
発明の詳細な説明
【技術分野】
【0001】
本発明は、情報処理装置、インクジェット記録装置、情報処理方法、および、プログラムに関するものである。
続きを表示(約 1,800 文字)
【背景技術】
【0002】
プリンタなどの記録装置を使用する際に、印刷後のホチキス止めなどの後処理工程に手間がかかる場合がある。この問題を解決するために、後処理工程機能が搭載された機構を独立して配置し、自動で後処理を実施することで生産性を向上させることができる。一方で、後処理工程の機構が独立していると配置スペースが大きくなることが課題となる。そこで、記録媒体が排紙される排紙部に小型の後処理工程機構を挿入することで、スペースの拡大なく後処理工程を実現する記録装置が提案されている。
【先行技術文献】
【特許文献】
【0003】
特開2022-70446号公報
【発明の概要】
【発明が解決しようとする課題】
【0004】
しかしながら、排紙部に後処理工程機構を装着すると、排紙口の高さが狭くなってしまい結果として紙ジャム(紙詰まりともいう)が発生しやすくなってしまうという課題がある。
【0005】
本発明は、以上のような状況を鑑み、後処理工程機構を排紙部に装着しても紙ジャムを低減するための情報処理装置、インクジェット記録装置、情報処理方法、および、プログラムを提供する。
【課題を解決するための手段】
【0006】
この課題を解決するため、例えば本発明の情報処理装置は以下の構成を備える。すなわち、
記録媒体に画像を記録するとともに、前記画像が記録された記録媒体に後処理工程を実行する後処理工程機構を、前記記録媒体が排紙される排紙部に装着可能なインクジェット記録装置を制御する情報処理装置であって、
前記画像を記録するための設定である記録設定を記憶する記憶手段と、
前記記録設定を設定する制御手段と、を備え、
前記制御手段は、前記後処理工程機構が装着されている場合、第1記録設定よりも前記記録媒体のカールが低減された状態で排紙する第2記録設定を記録設定として設定可能である。
【発明の効果】
【0007】
本発明によれば、後処理工程機構が排紙部に装着された場合でも、紙ジャムを低減することが可能となる。
【図面の簡単な説明】
【0008】
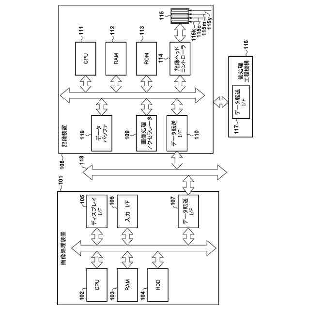
記録システムの制御系の全体構成を示すブロック図。
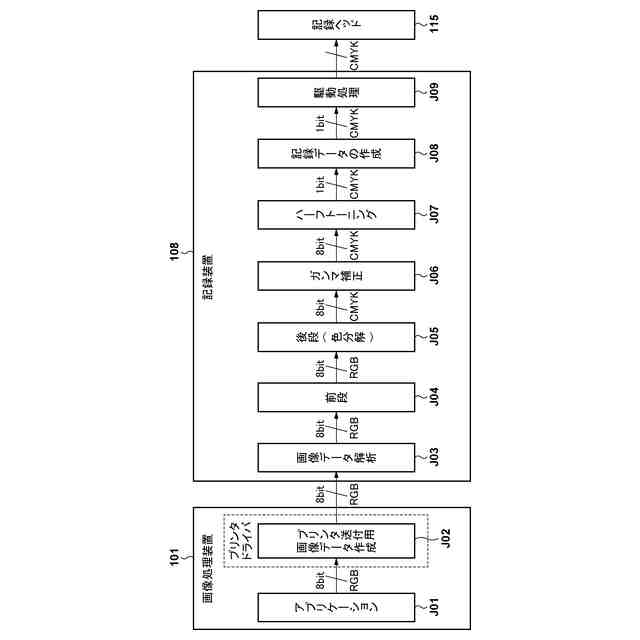
画像データ変換処理の流れを示したブロック図。
記録装置の全体構成を詳細に表した図。
印刷設定および後処理工程を設定するためのUIを示した図。
片面印刷時のカール状態を模式的に表した図。
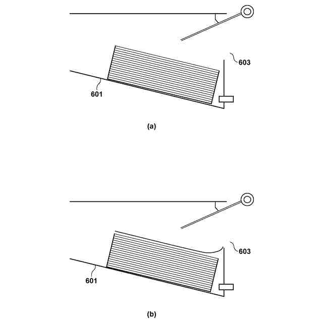
排紙トレイにおける記録媒体の変形を説明する図。
後処理工程機構が装着された排紙部近傍の図。
インク打ち込み量とカールの関係を示す図。
印刷時間とカール量との関係を示した図。
第一の実施形態の印刷処理を示すフローチャートの図。
印刷動作テーブルの図。
両面印刷時のカール状態を説明する図。
紙ジャム対策用の設定のためのUIを示した図。
第二の実施形態の印刷動作のフローチャートを示す図。
第二の実施形態の紙ジャム対策用の設定のためのUIを示した図。
紙ジャムの発生情報テーブルを示す図。
第三の実施形態の印刷処理を示すフローチャートの図。
【発明を実施するための形態】
【0009】
以下、添付図面を参照して実施形態を詳しく説明する。尚、以下の実施形態は特許請求の範囲に係る発明を限定するものでない。実施形態には複数の特徴が記載されているが、これらの複数の特徴の全てが発明に必須のものとは限らず、また、複数の特徴は任意に組み合わせられてもよい。さらに、添付図面においては、同一若しくは同様の構成に同一の参照番号を付し、重複した説明は省略する。
【0010】
(第一の実施形態)
図1は、本実施形態の記録システムの制御系の全体構成を説明するブロック図である。図1に示すように、記録システムは、画像処理装置101と、記録装置108と、後処理工程機構116とを備える。画像処理装置101および記録装置108は、ネットワーク118によって、互いに情報を送受信可能に接続されている。
(【0011】以降は省略されています)
この特許をJ-PlatPat(特許庁公式サイト)で参照する
関連特許
キヤノン株式会社
トナー
2日前
キヤノン株式会社
発光装置
9日前
キヤノン株式会社
記録装置
17日前
キヤノン株式会社
撮像装置
1か月前
キヤノン株式会社
電子機器
10日前
キヤノン株式会社
電子機器
10日前
キヤノン株式会社
撮像装置
17日前
キヤノン株式会社
撮像装置
10日前
キヤノン株式会社
電子機器
25日前
キヤノン株式会社
撮像装置
16日前
キヤノン株式会社
記録装置
2日前
キヤノン株式会社
収容装置
10日前
キヤノン株式会社
撮像装置
27日前
キヤノン株式会社
定着装置
25日前
キヤノン株式会社
定着装置
16日前
キヤノン株式会社
電子機器
4日前
キヤノン株式会社
電子機器
27日前
キヤノン株式会社
定着装置
25日前
キヤノン株式会社
定着装置
10日前
キヤノン株式会社
定着装置
25日前
キヤノン株式会社
電子機器
18日前
キヤノン株式会社
電子機器
1か月前
キヤノン株式会社
撮像装置
18日前
キヤノン株式会社
表示装置
9日前
キヤノン株式会社
撮像装置
2日前
キヤノン株式会社
光学装置
1か月前
キヤノン株式会社
電子機器
6日前
キヤノン株式会社
記録装置
18日前
キヤノン株式会社
半導体装置
4日前
キヤノン株式会社
現像剤容器
3日前
キヤノン株式会社
画像形成装置
27日前
キヤノン株式会社
画像形成装置
27日前
キヤノン株式会社
画像形成装置
6日前
キヤノン株式会社
画像形成装置
6日前
キヤノン株式会社
光学測定装置
25日前
キヤノン株式会社
画像形成装置
4日前
続きを見る
他の特許を見る