TOP
|
特許
|
意匠
|
商標
特許ウォッチ
Twitter
他の特許を見る
10個以上の画像は省略されています。
公開番号
2025141131
公報種別
公開特許公報(A)
公開日
2025-09-29
出願番号
2024040915
出願日
2024-03-15
発明の名称
電子機器
出願人
株式会社東海理化電機製作所
,
スズキ株式会社
代理人
弁理士法人信栄事務所
主分類
H05K
5/03 20060101AFI20250919BHJP(他に分類されない電気技術)
要約
【課題】意図しない操作による電池の脱落を抑制する機構が省スペースに設けられた電子機器を提供する。
【解決手段】
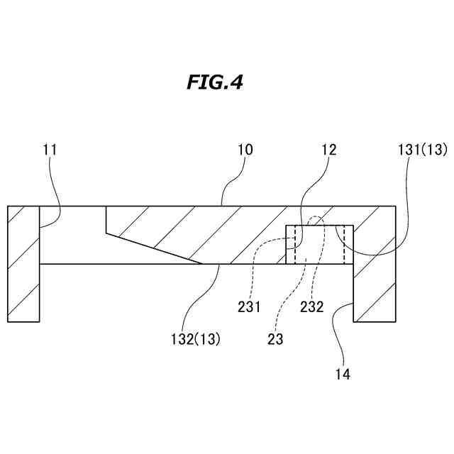
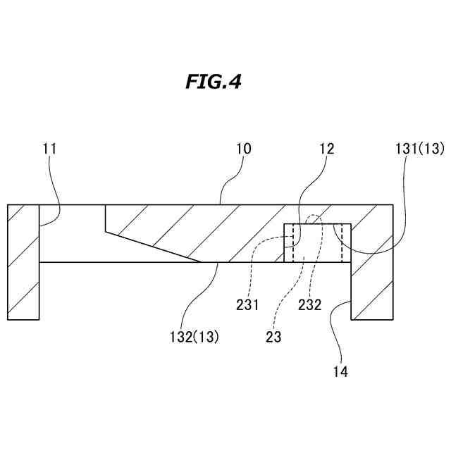
第一係合部231と回転規制部12との係合は、第一離脱操作OD1がなされることで解除される。第二係合部232と離脱規制部13との係合は、第一離脱操作OD1がなされた状態を維持しつつ第二離脱操作OD2がなされることで解除される。第二離脱操作OD2がなされることで、蓋体20はケース部10からの離脱が可能とされる。第一離脱操作OD1は、基部21の中心軸Axに沿う方向に蓋体20を変位させる操作である。第二離脱操作OD2は、中心軸Axを中心として蓋体20を回転させる操作である
【選択図】図4
特許請求の範囲
【請求項1】
円盤状の電池を着脱可能に収容する空間を区画するケース部と、
前記ケース部に装着されて前記空間を閉塞する蓋体と、
を備えており、
前記蓋体は、
円盤状の基部と、
前記基部から径方向に突出して形成されており、前記ケース部に係合することにより前記電池の前記空間から離脱する第一方向への変位を規制する爪部と、
を備えており、
前記爪部は、
前記ケース部に設けられた回転規制部と係合することにより前記基部の周方向への変位を規制する第一係合部と、
前記ケース部に設けられた離脱規制部と係合することにより前記基部の前記第一方向への変位を規制する第二係合部と、
を備えており、
前記第一係合部と前記回転規制部との係合は、第一操作がなされることで解除され、前記第二係合部と前記離脱規制部との係合は、前記第一操作がなされた状態を維持しつつ第二操作がなされることで解除され、
前記第二操作がなされることで、前記蓋体は前記ケース部からの離脱が可能とされ、
前記第一操作は、前記基部の中心軸に沿う方向に前記蓋体を変位させる操作であり、
前記第二操作は、前記中心軸を中心として前記蓋体を回転させる操作である、
電子機器。
続きを表示(約 640 文字)
【請求項2】
前記第一操作は、前記第一方向とは逆方向である第二方向へ前記蓋体を変位させる操作である、
請求項1に記載の電子機器。
【請求項3】
前記蓋体を覆うように配置されるカバーをさらに備えており、
前記蓋体は、前記第一方向に突出する突出部を備え、
前記カバーには、前記第一方向に凹んでいる窪み部が形成されており、
前記カバーが前記蓋体を覆うとき、前記突出部は、前記窪み部に収容されて前記蓋体が前記第二操作の方向に回転することを規制する、
請求項1または2に記載の電子機器。
【請求項4】
前記突出部は、寸法が相違する第一突出部と第二突出部を含んでおり、
前記窪み部は、寸法が相違する第一窪み部と第二窪み部を含んでおり、
前記第一窪み部の寸法は、前記第一突出部を収容可能かつ前記第二突出部を収容不能に定められており、
前記第二窪み部の寸法は、前記第一突出部が前記第一窪み部に収容された際に前記第二突出部を収容可能に定められている、
請求項3に記載の電子機器。
【請求項5】
前記爪部は、第一爪部と第二爪部を含んでおり、
前記回転規制部は、前記第一爪部と係合する第一回転規制部と、前記第二爪部と係合する第二回転規制部を含んでおり、
前記第二爪部は、前記第一爪部と前記中心軸を通る直線上に位置していない、
請求項4に記載の電子機器。
発明の詳細な説明
【技術分野】
【0001】
本開示は、電子機器に関連する。
続きを表示(約 2,100 文字)
【背景技術】
【0002】
特許文献1には、電池を保持する電池ホルダとケース本体とを備えている。電池ホルダとケース本体とは、係合された状態で固定されている。電池ホルダとケース本体との係合は、電池ホルダをケース本体に対して異なる二方向にスライド操作させることで解除される。
【先行技術文献】
【特許文献】
【0003】
特開2023-120634号公報
【発明の概要】
【発明が解決しようとする課題】
【0004】
意図しない操作による電池の脱落を抑制する機構が省スペースに設けられた電子機器の提供を目的とする。
【課題を解決するための手段】
【0005】
本開示により提供される態様例の一つは、
円盤状の電池を着脱可能に収容する空間を区画するケース部と、
前記ケース部に装着されて前記空間を閉塞する蓋体と、
を備えており、
前記蓋体は、
円盤状の基部と、
前記基部から径方向に突出して形成されており、前記ケース部に係合することにより前記電池の前記空間から離脱する第一方向への変位を規制する爪部と、
を備えており、
前記爪部は、
前記ケース部に設けられた回転規制部と係合することにより前記基部の周方向への変位を規制する第一係合部と、
前記ケース部に設けられた離脱規制部と係合することにより前記基部の前記第一方向への変位を規制する第二係合部と、
を備えており、
前記第一係合部と前記回転規制部との係合は、第一操作がなされることで解除され、前記第二係合部と前記離脱規制部との係合は、前記第一操作がなされた状態を維持しつつ第二操作がなされることで解除され、
前記第二操作がなされることで、前記蓋体は前記ケース部からの離脱が可能とされ、
前記第一操作は、前記基部の中心軸に沿う方向に前記蓋体を変位させる操作であり、
前記第二操作は、前記中心軸を中心として前記蓋体を回転させる操作である。
【0006】
上記の構成によれば、本実施形態の電子機器においては、第一操作がなされた状態を維持しつつ、第一操作とは異なる方向の操作である第二操作が行われなければ、蓋体はケース部から離脱できない。これにより、意図しない操作による電池の脱落を抑制することができる。また、第一操作は、蓋体を中心軸に沿って直線的に変位させる操作であり、第二操作は、蓋体を中心軸を中心として回転させる操作であるので、さらに、意図しない操作による電池の脱落を抑制することができる。加えて、蓋体は、第一操作および第二操作を通じて、基部の中心軸に沿う方向以外には変位しないので、電池の脱落を抑制するための機構が占有するスペースが基部の中心軸と交差する方向に増大することを抑制できる。したがって、意図しない操作による電池の脱落を抑制する機構が省スペースに設けられた電子機器を提供できる。
【図面の簡単な説明】
【0007】
図1は、一実施形態に係る電子機器を例示している。
図2は、蓋体が装着状態であるときの電子機器を例示している。
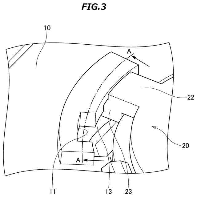
図3は、蓋体が装着状態であるときの係合部とケース部との拡大図である。
図4は、蓋体が装着状態から離脱状態に移行するための第一離脱操作および第二離脱操作を例示している。
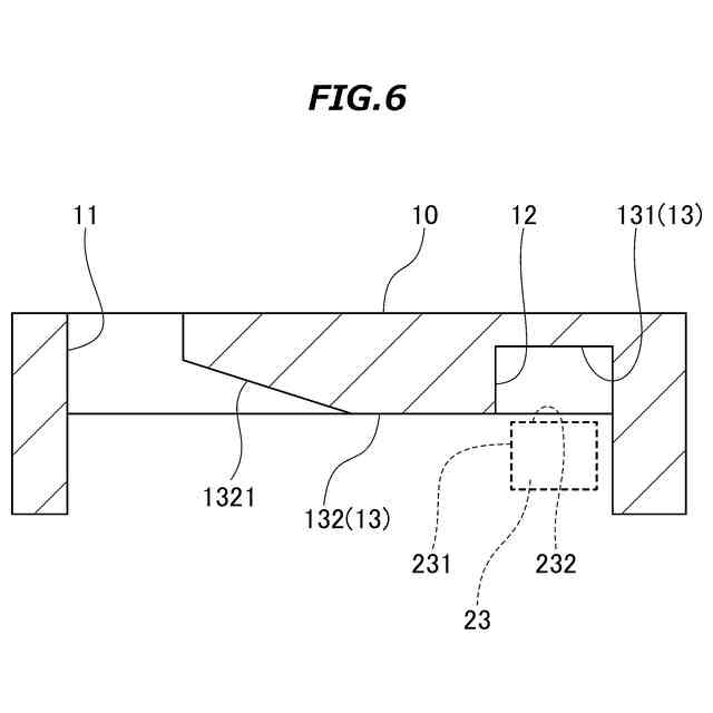
図5は、装着状態におけるケース部と係合部とを例示する模式図である。
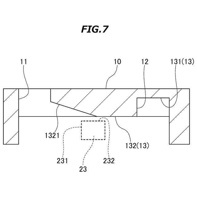
図6は、装着状態から離脱状態に移行中のケース部と係合部とを例示する模式図である。
図7は、装着状態から離脱状態に移行中のケース部と係合部とを例示する模式図である
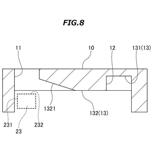
図8は、離脱状態におけるケース部と係合部とを例示する模式図である。
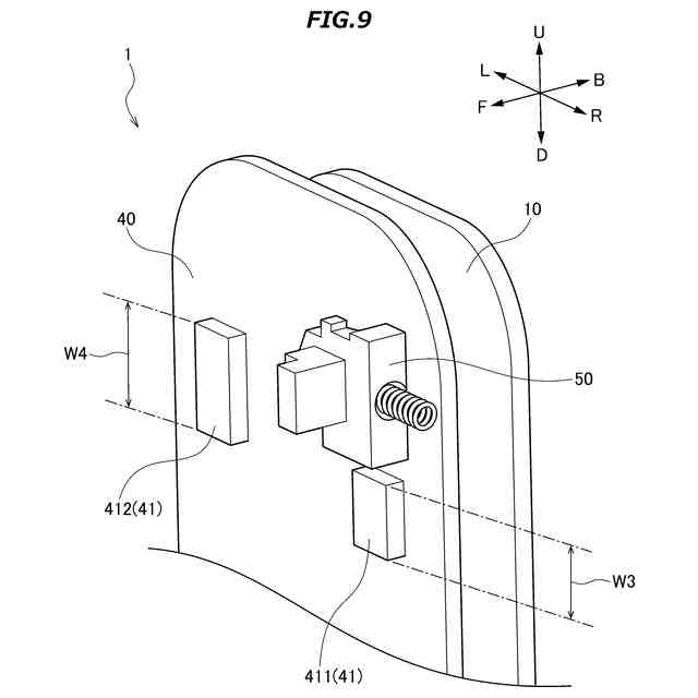
図9は、本実施形態に係るカバーを例示している。
図10は、蓋体の平面図である。
【発明を実施するための形態】
【0008】
以下、実施形態例について添付の図面を参照しながら説明する。以下の説明に用いられる各図面においては、各要素を認識可能な大きさとするために縮尺が適宜に変更されている。
【0009】
添付の図面において、矢印Fは、図示された構造の前方向を示している。矢印Bは、図示された構造の後方向を示している。矢印Uは、図示された構造の上方向を示している。矢印Dは、図示された構造の下方向を示している。矢印Rは、図示された構造の右方向を示している。矢印Lは、図示された構造の左方向を示している。これらの方向に係る表現は、説明の便宜のために用いるものであり、図示された構造の実際の使用状態における姿勢や方向を限定するものではない。
【0010】
また、本明細書で用いられる「前後方向」という語は、上記の前方向と後方向に沿う方向を意味している。「上下方向」という語は、上記の上方向と下方向に沿う方向を意味している。
(【0011】以降は省略されています)
この特許をJ-PlatPat(特許庁公式サイト)で参照する
関連特許
個人
電子部品の実装方法
1日前
株式会社コロナ
電気機器
2か月前
日本精機株式会社
回路基板
3か月前
株式会社遠藤照明
照明装置
3か月前
個人
非衝突型ガウス加速器
1か月前
日本精機株式会社
回路基板
23日前
日本放送協会
基板固定装置
21日前
キヤノン株式会社
電子機器
3か月前
キヤノン株式会社
電子機器
15日前
アイホン株式会社
電気機器
15日前
アイホン株式会社
電気機器
1か月前
個人
節電材料
1か月前
メクテック株式会社
配線基板
3か月前
メクテック株式会社
配線基板
1か月前
マクセル株式会社
配列用マスク
2か月前
東レ株式会社
霧化状活性液体供給装置
1か月前
サクサ株式会社
筐体の壁掛け構造
1か月前
イビデン株式会社
配線基板
1か月前
イビデン株式会社
プリント配線板
2か月前
イビデン株式会社
プリント配線板
3か月前
トキコーポレーション株式会社
照明器具
2か月前
イビデン株式会社
配線基板
1か月前
イビデン株式会社
プリント配線板
2か月前
イビデン株式会社
プリント配線板
21日前
FDK株式会社
基板
今日
株式会社電気印刷研究所
金属画像形成方法
2か月前
株式会社電気印刷研究所
金属画像形成方法
2か月前
日産自動車株式会社
電子部品
13日前
カシン工業株式会社
PTC発熱装置
2か月前
メクテック株式会社
配線モジュール
3か月前
メクテック株式会社
伸縮性配線基板
3か月前
株式会社レゾナック
冷却装置
今日
オムロン株式会社
端子折り曲げ治具
3日前
日産自動車株式会社
電子機器
2か月前
新電元工業株式会社
電子装置
15日前
新電元工業株式会社
充電装置
2か月前
続きを見る
他の特許を見る