TOP
|
特許
|
意匠
|
商標
特許ウォッチ
Twitter
他の特許を見る
10個以上の画像は省略されています。
公開番号
2025140973
公報種別
公開特許公報(A)
公開日
2025-09-29
出願番号
2024040649
出願日
2024-03-15
発明の名称
虚像表示装置及び光学ユニット
出願人
セイコーエプソン株式会社
代理人
個人
,
個人
主分類
G02B
27/02 20060101AFI20250919BHJP(光学)
要約
【課題】眼前の光学要素を薄くすること。
【解決手段】第1実施形態の虚像表示装置100A及び光学ユニット100は、表示器11と、表示器11からの第1偏光方向P1の直線偏光である映像光MLを反射によって偏向する透過型ミラー23と、透過型ミラー23で反射された映像光MLを逆進させる際に正のパワーを持つミラーのように作用する反射光学素子25とを備え、反射光学素子25は、透過型ミラー23からの順で、第1偏光回折レンズ31bを含み直線偏光に対して偏光方向の切替えによってパワーの正負を反転させ偏光方向を維持する第1タイプの第1レンズ機能部材31と、第1偏光方向P1の直線偏光を偏光方向を維持しつつ反射する第1光学素子32と、第2偏光回折レンズ33bを含み直線偏光に対して偏光方向の切替えによってパワーの正負を反転させ偏光方向を回転させる第2タイプの第2レンズ機能部材33と、第1偏光方向P1の直線偏光を選択的に透過させる第2光学素子34とを有する。
【選択図】図2
特許請求の範囲
【請求項1】
表示器と、
前記表示器からの第1偏光方向の直線偏光である映像光を反射によって偏向する透過型ミラーと、
前記透過型ミラーで反射された前記映像光を逆進させる際に正のパワーを持つミラーのように作用する反射光学素子と、を備え、
前記反射光学素子は、前記透過型ミラーからの順で、第1偏光回折レンズを含み偏光方向の切替えによってパワーの正負を反転させ偏光方向を維持する第1レンズ機能部材と、前記第1偏光方向の直線偏光を偏光方向を維持しつつ反射する第1光学素子と、第2偏光回折レンズを含み偏光方向の切替えによってパワーの正負を反転させ偏光方向を回転させる第2レンズ機能部材と、前記第1偏光方向の直線偏光を選択的に透過させる第2光学素子とを有する、
虚像表示装置。
続きを表示(約 1,200 文字)
【請求項2】
前記第1レンズ機能部材は、前記透過型ミラーからの順で、第1の1/4波長板と、前記第1偏光回折レンズと、前記第1の1/4波長板と同じ方向に速軸が設定された第2の1/4波長板とを有する、
請求項1に記載の虚像表示装置。
【請求項3】
前記第2レンズ機能部材は、前記透過型ミラーからの順で、第3の1/4波長板と、前記第2偏光回折レンズと、前記第3の1/4波長板と交差する方向に速軸が設定された第4の1/4波長板とを有する、
請求項2に記載の虚像表示装置。
【請求項4】
前記第1偏光回折レンズは、前記表示器側から入射する第1円偏光に対して正のパワーを有するとともに透過光を第2円偏光に変換し、前記第1光学素子によって反射されて外界側から入射する前記第2円偏光に対して正のパワーを有するとともに透過光を前記第1円偏光に変換する、
請求項2に記載の虚像表示装置。
【請求項5】
前記第2偏光回折レンズは、外界側から入射する第2円偏光に対して正のパワーを有するとともに透過光を第1円偏光に変換し、
前記第1偏光回折レンズは、前記第1光学素子を透過して外界側から入射する第1円偏光に対して負のパワーを有するとともに透過光を第2円偏光に変換する、
請求項4に記載の虚像表示装置。
【請求項6】
前記第1光学素子は、対象とする直線偏光のみを反射する反射型偏光素子である、
請求項1に記載の虚像表示装置。
【請求項7】
前記第1光学素子は、透過性を有するミラーである、
請求項1に記載の虚像表示装置。
【請求項8】
前記第2光学素子は、対象とする直線偏光のみを透過させる吸収型偏光素子である、
請求項1に記載の虚像表示装置。
【請求項9】
前記表示器と前記透過型ミラーとの間に、正のパワーを有するレンズが配置されている、
請求項1に記載の虚像表示装置。
【請求項10】
表示器と、
前記表示器からの第1偏光方向の直線偏光である映像光を反射によって偏向する透過型ミラーと、
前記透過型ミラーで反射された前記映像光を逆進させる際に正のパワーを持つミラーのように作用する反射光学素子と、を備え、
前記反射光学素子は、透過型ミラーからの順で、第1偏光回折レンズを含み偏光方向の切替えによってパワーの正負を反転させ偏光方向を維持する第1レンズ機能部材と、前記第1偏光方向の直線偏光を偏光方向を維持しつつ反射する第1光学素子と、第2偏光回折レンズを含み偏光方向の切替えによってパワーの正負を反転させ偏光方向を回転させる第2レンズ機能部材と、前記第1偏光方向の直線偏光を選択的に透過させる第2光学素子とを有する、
光学ユニット。
発明の詳細な説明
【技術分野】
【0001】
本発明は、虚像の観察を可能にする虚像表示装置及び光学ユニットに関し、特に外界像を視認可能にするシースルー型の虚像表示装置等に関する。
続きを表示(約 2,300 文字)
【背景技術】
【0002】
頭部装着型表示装置として、観察像を表示する画像表示装置と、画像表示装置からの光を部分透過及び部分反射させるための部分透過反射面と、部分透過反射面によって反射された光を観察者の眼球に導くように反射させる凹面鏡とを有する頭部装着式ディスプレイ装置であって、部分透過反射面を偏光ビームスプリッターによって形成するとともに、偏光ビームスプリッターと凹面鏡との間に1/4波長板を設けたものが公知となっている。このディスプレイ装置では、画像表示装置からの所定方向の直線偏光成分が減衰なしに全て観察者の眼に到達し、画像表示装置からの明るい電子像つまり表示画像を観察することができる(特許文献1参照)。
【先行技術文献】
【特許文献】
【0003】
特開平06-059217号公報
【発明の概要】
【発明が解決しようとする課題】
【0004】
頭部装着型表示装置については、メガネに近い外観を実現することが望まれているが、上記特許文献1の光学系では、メガネに近い外観を達成しているとは言えず、具体的には凡そ瞳孔から30mm離れた位置に凹面鏡の頂点が配置されるので、メガネが瞳孔から15mm程度離れていることと比較して大きな乖離がある。
【課題を解決するための手段】
【0005】
本発明の一側面における虚像表示装置及び光学ユニットは、表示器と、表示器からの第1偏光方向の直線偏光である映像光を反射によって偏向する透過型ミラーと、透過型ミラーで反射された映像光を逆進させる際に正のパワーを持つミラーのように作用する反射光学素子とを備え、反射光学素子は、透過型ミラーからの順で、第1偏光回折レンズを含み偏光方向の切替えによってパワーの正負を反転させ偏光方向を維持する第1レンズ機能部材と、第1偏光方向の直線偏光を偏光方向を維持しつつ反射する第1光学素子と、第2偏光回折レンズを含み偏光方向の切替えによってパワーの正負を反転させ偏光方向を回転させる第2レンズ機能部材と、第1偏光方向の直線偏光を選択的に透過させる第2光学素子とを有する。
【図面の簡単な説明】
【0006】
第1実施形態の虚像表示装置の装着状態を説明する外観の正面図である。
虚像表示装置の構造を説明する断面図である。
結像系における光線状態を説明する概念図である。
偏光回折レンズの機能を説明する概念的な斜視図である。
図3に示す虚像表示装置の変形例を説明する図である。
図3に示す虚像表示装置の別の変形例を説明する図である。
図3に示す虚像表示装置のさらに別の変形例を説明する図である。
第2実施形態の虚像表示装置を説明する側方断面図である。
第3実施形態の虚像表示装置を説明する概念図である。
【発明を実施するための形態】
【0007】
〔第1実施形態〕
以下、図1~3等を参照して、本発明に係る虚像表示装置の第1実施形態について説明する。
【0008】
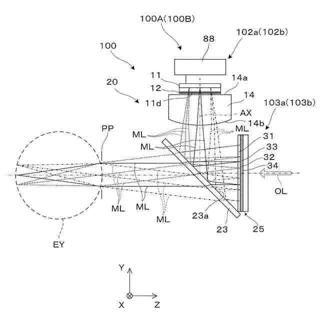
図1は、ヘッドマウントディスプレイ、すなわち頭部装着型表示装置200の装着状態を説明する正面図である。頭部装着型表示装置(以下、HMDとも称する。)200は、これを装着する観察者又は装着者USに虚像としての映像を認識させる。図1等において、X、Y、及びZは、直交座標系であり、+X方向は、HMD200を装着した観察者又は装着者USの両眼EYの並ぶ横方向に対応し、+Y方向は、装着者USにとっての両眼EYの並ぶ横方向に直交する上方向に相当し、+Z方向は、装着者USにとっての前方向又は正面方向に相当する。±Y方向は、鉛直軸又は鉛直方向に平行になっている。
【0009】
HMD200は、右眼用の第1虚像表示装置100Aと、左眼用の第2虚像表示装置100Bと、虚像表示装置100A,100Bを支持する一対のテンプル100Cと、情報端末であるユーザー端末90とを備える。第1虚像表示装置100Aは、上部に配置される第1表示駆動部102aと、眼前を覆う第1表示光学系103aとで構成される。第2虚像表示装置100Bは、上部に配置される第2表示駆動部102bと、眼前を覆う第2表示光学系103bとで構成される。第1虚像表示装置100Aと、第2虚像表示装置100Bとを組み合わせたHMD200は、広義の虚像表示装置でもある。一対のテンプル100Cは、装着者USの頭部に装着される装着部材又は支持装置106であり、外観上一体化されている表示駆動部102a,102bを介して一対の表示光学系103a,103bの上端側を支持している。一対の表示駆動部102a,102bを組み合わせたものを駆動装置102と呼ぶ。
【0010】
図2は、第1表示駆動部102aと第1表示光学系103aとに組み込まれた結像系等の構造を説明する側面図である。第1表示駆動部102aは、表示器11と、偏光フィルター12と、レンズ14と、表示制御装置88とを備える。第1表示光学系103aは、表示器11からの映像光MLを反射によって偏向する透過型ミラー23と、透過型ミラー23で反射された映像光MLを逆進させる際に正のパワーを持つミラーのように作用する反射光学素子25とを備える。これらのうち、レンズ14と、透過型ミラー23と、反射光学素子25とを組み合わせたものを結像光学系20と呼ぶ。
(【0011】以降は省略されています)
この特許をJ-PlatPat(特許庁公式サイト)で参照する
関連特許
東レ株式会社
積層フィルム
4日前
キヤノン株式会社
映像表示装置
23日前
アイカ工業株式会社
反射防止フィルム
10日前
スタンレー電気株式会社
照明装置
5日前
日本電気株式会社
光集積回路素子
2日前
インターマン株式会社
立体映像表示装置
23日前
日東電工株式会社
調光フィルム
3日前
住友化学株式会社
積層体
2日前
日本分光株式会社
赤外顕微鏡
9日前
日本精機株式会社
ヘッドアップディスプレイ装置
3日前
旭化成株式会社
成形体
9日前
旭化成株式会社
成形体
9日前
個人
透過型及び反射型顕微鏡
23日前
キヤノン株式会社
画像表示装置
9日前
住友ベークライト株式会社
積層体の製造方法
3日前
キヤノン株式会社
レンズ装置および撮像装置
3日前
キヤノン株式会社
レンズ装置および撮像装置
11日前
レーザーテック株式会社
検査装置及び検査方法
13日前
Orbray株式会社
MEMS光スイッチの制御方法
3日前
キヤノン株式会社
表示装置
16日前
住友化学株式会社
偏光板及び画像表示装置
4日前
古河電気工業株式会社
光モジュール、光接続構造
3日前
キヤノン株式会社
光学系及び撮像装置
17日前
日東電工株式会社
積層光学部材及び光学装置
2日前
東レ株式会社
先端に凸面を有する光ファイバ
23日前
TDK株式会社
メタサーフェスレンズ
2日前
株式会社小糸製作所
画像投影装置
24日前
住友ベークライト株式会社
光学シート
2日前
日東電工株式会社
光学積層体
24日前
京セラ株式会社
走査装置及び制御装置
2日前
京セラ株式会社
走査装置及び制御装置
2日前
株式会社小糸製作所
画像投影装置
23日前
株式会社精工技研
光コネクタプラグおよびロック工具
4日前
KDDI株式会社
光増幅器
23日前
KDDI株式会社
光増幅器
23日前
国立大学法人徳島大学
光共振器、及び光周波数コム発生装置
3日前
続きを見る
他の特許を見る