TOP
|
特許
|
意匠
|
商標
特許ウォッチ
Twitter
他の特許を見る
10個以上の画像は省略されています。
公開番号
2025140768
公報種別
公開特許公報(A)
公開日
2025-09-29
出願番号
2024040339
出願日
2024-03-14
発明の名称
管状細胞構造体の凍結保存方法、凍結保存具および凍結体
出願人
岩谷産業株式会社
,
株式会社サイフューズ
代理人
個人
,
個人
,
個人
主分類
A61J
3/00 20060101AFI20250919BHJP(医学または獣医学;衛生学)
要約
【課題】管状細胞構造体の凍結保存ができるようにする。
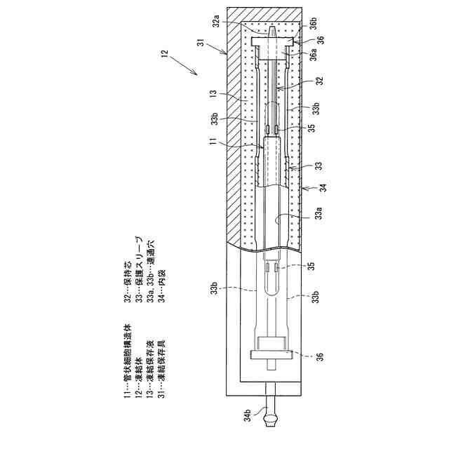
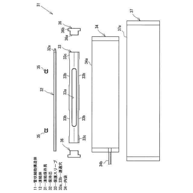
【解決手段】構造体保持工程と、構造体包囲工程と、保存液浸漬工程と、凍結工程を順に有し、構造体保持工程で、管状細胞構造体11の内周面を支える棒状をなす保持芯32の長手方向中間部に管状細胞構造体11を保持する。構造体包囲工程では、管状細胞構造体11よりも大径の筒状をなし内外に連通する連通穴33a,33bを側面に有した保護スリーブ33の軸心部に保持芯32を保持する。保存液浸漬工程では、保護スリーブ33で覆われた管状細胞構造体11を保持芯32ごと凍結保存液13と共に内袋34に封入する。
【選択図】図1
特許請求の範囲
【請求項1】
管状細胞構造体の内周面を支える棒状をなす保持芯の長手方向中間部に管状細胞構造体を保持する構造体保持工程と、
管状細胞構造体よりも大径の筒状をなし内外に連通する連通穴を側面に有した保護スリーブの軸心部に保持芯を保持する構造体包囲工程と、
保護スリーブで覆われた管状細胞構造体を保持芯ごと凍結保存液と共に内容器に封入する保存液浸漬工程と、
凍結を行う凍結工程を有する
管状細胞構造体の凍結保存方法。
続きを表示(約 630 文字)
【請求項2】
前記凍結工程において、前記内容器を有する凍結保存具を金属板で構成されたキャニスタで挟み付けて凍結する
請求項1に記載の管状細胞構造体の凍結保存方法。
【請求項3】
前記凍結工程が前記保持芯の長手方向を水平に向けて支持した状態で行われる
請求項1または請求項2に記載の管状細胞構造体の凍結保存方法。
【請求項4】
管状細胞構造体の内周面を支える棒状であり管状細胞構造体よりも長い保持芯と、
管状細胞構造体よりも大径の筒状をなし内外に連通する連通穴を側面に有して保持芯を軸心部に収納保持する保護スリーブと、
保持芯を結合した保護スリーブを収容可能であるとともに少なくとも一部が柔軟な材料で構成されて凍結保存液が充填される内容器を備えた
管状細胞構造体の凍結保存具。
【請求項5】
前記保護スリーブの太さが、凍結時において保護スリーブが圧迫されても管状細胞構造体との接触を回避できる範囲のうち最小に設定された
請求項4に記載の管状細胞構造体の凍結保存具。
【請求項6】
前記保護スリーブの連通穴が複数形成されるとともに分散配置された
請求項5に記載の管状細胞構造体の凍結保存具。
【請求項7】
請求項4または請求項5に記載の管状細胞構造体の凍結保存具を用いて凍結された
管状細胞構造体の凍結体。
発明の詳細な説明
【技術分野】
【0001】
この発明は、管状細胞構造体の凍結保存に関するものである。
続きを表示(約 1,400 文字)
【背景技術】
【0002】
管状細胞構造体は、細胞等を全部または一部に有した管状の構造体であり、たとえば血管や消化管、気管、リンパ管のように貫通した内腔を有する適宜長さのものである。管状細胞構造体には、生体細胞のみで成形する細胞製品(下記特許文献1参照)がある。このほか、生体細胞や生体組織由来物質、血漿成分由来物質等の生体素材と人工素材とを混成して得るハイブリッド製品、ヒトや動物の生体組織を処理して得た生体材料由来の人工製品もある。
【0003】
管状細胞構造体は、細胞保存液と共に容器に収納されて、調温された輸送容器に梱包されたのち一定温度帯に維持した状態で輸送される。しかし、単に細胞保存液に浸漬しただけでは、時間の経過に伴って内腔が潰れてしまい、管状の正常な形状を長時間維持することはできない。しかも、管状細胞構造体は製造に時間を要するので、移植手術に合わせて出荷することが難しい。
【0004】
細胞を長期保存するためには凍結保存がなされる。しかし、有底筒状をなす所定大の樹脂チューブや所定大の袋容器などの凍結容器に凍結保護液と共に管状細胞構造体を収納して凍結すると、管状細胞構造体は管状であるため形状の維持ができないうえに細胞が物理的また生化学的に損傷してしまう。下記特許文献2の容器のように、細胞の3D凝集体や細胞シートのような生体由来のサンプルを含む保存液を凍結保存するためのものは提案されているが、立体的な管状細胞構造体の凍結に適した容器はこれまでにない。
【先行技術文献】
【特許文献】
【0005】
特開2020-202785号公報
特許第7082377号公報
【発明の概要】
【発明が解決しようとする課題】
【0006】
そこで、この発明は管状細胞構造体の凍結保存ができるようにすることを主な課題とする。
【課題を解決するための手段】
【0007】
そのために、この発明は下記の凍結保存方法を提供する。
【0008】
この凍結保存方法は、構造体保持工程と、構造体包囲工程と、保存液浸漬工程と、凍結工程を順に有し、構造体保持工程で、管状細胞構造体の内周面を支える棒状をなす保持芯の長手方向中間部に管状細胞構造体を保持する。構造体包囲工程では、管状細胞構造体よりも大径の筒状をなし内外に連通する連通穴を側面に有した保護スリーブの軸心部に保持芯を保持する。保存液浸漬工程では、保護スリーブで覆われた管状細胞構造体を保持芯ごと凍結保存液と共に内容器に封入する。
【0009】
この構成では、保持芯が管状細胞構造体の内周面を支えて、凍結過程とその後に管状細胞構造体の内腔が変形するのを防止する。他方、管状細胞構造体の外周面は、保護スリーブが管状細胞構造体の周囲に空間を保つことによって、保護スリーブや内容器の接触による管状細胞構造体に対する圧迫を防止する。このようにして管状細胞構造体の形状が維持される。
【0010】
同時に、保護スリーブとこれを覆う内容器が管状細胞構造体を浸す凍結保存液の量を低減するとともに、保護スリーブの連通穴が液や熱の移動を可能にして、速やかで均一な凍結と解凍を行わせる。
【発明の効果】
(【0011】以降は省略されています)
この特許をJ-PlatPat(特許庁公式サイト)で参照する
関連特許
岩谷産業株式会社
燃料ガス充填設備
1か月前
岩谷産業株式会社
ガス漏洩検知システム
1か月前
岩谷産業株式会社
銅触媒による立体特異的シアノ化反応
2か月前
岩谷産業株式会社
液化水素の供給設備および液化水素の供給方法
19日前
三菱重工業株式会社
水素供給システムおよび方法
1か月前
岩谷産業株式会社
シールドガスおよびアルミニウム合金接合体の製造方法
27日前
岩谷産業株式会社
管状細胞構造体の凍結保存方法、凍結保存具および凍結体
1か月前
岩谷産業株式会社
空気分離装置、ならびに、液化酸素および液化窒素の製造方法
3か月前
岩谷産業株式会社
重水素化アンモニアの製造設備および重水素化アンモニアの製造方法
19日前
個人
貼付剤
1か月前
個人
簡易担架
12日前
個人
健康器具
9か月前
個人
足踏み器具
19日前
個人
短下肢装具
4か月前
個人
腋臭防止剤
12日前
個人
鼾防止用具
9か月前
個人
洗井間専家。
8か月前
個人
脈波測定方法
9か月前
個人
マッサージ機
9か月前
個人
排尿補助器具
1か月前
個人
前腕誘導装置
4か月前
個人
脈波測定方法
9か月前
個人
白内障治療法
8か月前
個人
嚥下鍛錬装置
4か月前
個人
導電香
9か月前
個人
矯正椅子
6か月前
個人
バッグ式オムツ
5か月前
個人
胸骨圧迫補助具
2か月前
個人
アイマスク装置
3か月前
個人
汚れ防止シート
1か月前
個人
歯の修復用材料
5か月前
個人
ウォート指圧法
1か月前
個人
ホバーアイロン
7か月前
個人
腰ベルト
1か月前
個人
湿布連続貼り機。
3か月前
個人
口内洗浄具
9か月前
続きを見る
他の特許を見る