TOP
|
特許
|
意匠
|
商標
特許ウォッチ
Twitter
他の特許を見る
公開番号
2025140645
公報種別
公開特許公報(A)
公開日
2025-09-29
出願番号
2024040174
出願日
2024-03-14
発明の名称
電動車両の制御装置
出願人
トヨタ自動車株式会社
代理人
個人
,
個人
主分類
B60L
3/00 20190101AFI20250919BHJP(車両一般)
要約
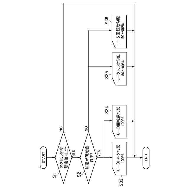
【課題】損失を低減して電費の向上が期待できる“低粘度油”を用いる場合であっても、摩耗や焼き付きなどの歯面の損傷を防止して、信頼性を確保することが可能な電動車両の制御装置を提供する。
【解決手段】駆動力源としてモータ1を搭載し、オイル7によりモータ1およびモータ1のトルクを伝達する歯車の潤滑を行う電動車両の制御装置において、オイル7の温度が所定油温以上である場合に、電動車両Veを加速走行させるためにモータ1の出力を増大する際の、モータ1のトルク上昇勾配または回転数上昇勾配の少なくともいずれかを所定勾配以下に制限する(ステップS4)。
【選択図】図2
特許請求の範囲
【請求項1】
駆動力源としてモータを搭載し、オイルにより前記モータおよび前記モータのトルクを伝達する歯車の潤滑を行う電動車両の制御装置であって、
前記オイルの温度を検出する油温センサーと、
前記モータを制御するコントロールユニットと、備え、
前記コントロールユニットは、
前記油温センサーにより検出された前記温度が所定油温以上である場合に、
前記電動車両を加速走行させるために前記モータの出力を増大する際の、前記モータのトルク上昇勾配または回転数上昇勾配の少なくともいずれかを所定勾配以下に制限する
ことを特徴とする電動車両の制御装置。
続きを表示(約 500 文字)
【請求項2】
請求項1に記載の電動車両の制御装置であって、
前記油温センサーは、
前記モータの回転速度を減速するリダクションギヤの近傍で、前記温度を検出し、
前記コントロールユニットは、
前記リダクションギヤの近傍で検出された前記温度が前記所定油温以上である場合に、
前記トルク上昇勾配または前記回転数上昇勾配の少なくともいずれかを前記所定勾配以下に制限する
ことを特徴とする電動車両の制御装置。
【請求項3】
請求項2に記載の電動車両の制御装置であって、
前記コントロールユニットは、
前記トルク上昇勾配または前記回転数上昇勾配の少なくともいずれかを、最大の上昇勾配の80%以下に制限する
ことを特徴とする電動車両の制御装置。
【請求項4】
請求項1から3のいずれか一項に記載の電動車両の制御装置であって、
前記オイルは、
油温が100℃の状態における動粘度が4.0mm
2
/s以下となる低粘度油である
ことを特徴とする電動車両の制御装置。
発明の詳細な説明
【技術分野】
【0001】
この発明は、モータを駆動力源として、オイル(潤滑油)でモータおよび歯車の潤滑(潤滑および冷却)を行う電動車両の制御装置に関するものである。
続きを表示(約 2,100 文字)
【背景技術】
【0002】
特許文献1には、電動モータおよび変速機の潤滑に用いられる潤滑油が記載されている。この特許文献1に記載された潤滑油は、電気モータおよび変速機を同一の潤滑油で潤滑することを目的として、電気絶縁性、耐焼き付き性、銅腐食防止性、ならびに、耐疲労性等をバランスよく備えた特性となるように、潤滑油の組成物およびその含有量等が規定されている。そして、この特許文献1に記載された潤滑油は、潤滑油の40℃における動粘度が4.0~20.0mm
2
/sとなり、潤滑油の100℃における動粘度が1.8~5.2mm
2
/sとなる特性を有している。
【0003】
なお、特許文献2には、電動モータ、電動モータの回転を減速してトルクを車輪に伝達する減速機、および、減速機に潤滑油を供給する潤滑油供給機構を備えたモータ駆動装置が記載されている。この特許文献2に記載されたモータ駆動装置は、潤滑油の温度が閾値を超えた場合に、電動モータの電流を制限する、すなわち、電動モータの出力(最大出力)を制限するように構成されている。
【先行技術文献】
【特許文献】
【0004】
特開2020-172642号公報
特開2017-17889号公報
【発明の概要】
【発明が解決しようとする課題】
【0005】
上記の特許文献1に記載された潤滑油は、従来の車両に用いられている一般的な潤滑油と比較して粘度が低い、いわゆる“低粘度油”である。そのような“低粘度油”を電動車両の駆動モータや歯車伝動機構の潤滑に用いることにより、潤滑油の粘性抵抗による損失を低減し、電動車両の電気的なエネルギ効率、すなわち、いわゆる電費の向上を図ることができる。その反面、特許文献1に記載されているように、潤滑油の温度が100℃を超える使用環境では、潤滑油の動粘度が低下し、特に、歯車の潤滑においては、歯面の油膜切れを起こしてしまい、歯面の摩耗や焼き付きが生じてしまうおそれがある。それに対しては、例えば、上記の特許文献2に記載されたモータ駆動装置のように、潤滑油の温度が閾値を超えるような高温となった場合に、モータの最大出力を制限することにより、潤滑油の温度上昇、および、温度上昇に伴う潤滑油の粘度低下を抑制し、上記のような摩耗や焼き付きを防止することができる。
【0006】
一方、上記のようなモータを駆動力源とする電動車両では、応答性やトルクの立ち上がりに優れたモータの特性を活かして、従来の一般的なエンジン車両と比較して、より俊敏な加速走行を行うことができる。但し、上記のような“低粘度油”を用いた電動車両で加速走行する場合は、加速走行のために駆動モータのトルクが急峻に立ち上がることに伴い、駆動モータのトルクを伝達する歯車に掛かる負荷も急激に増加する。そのため、特に、潤滑油の粘度が低下する高温時に加速走行が行われ、歯車の負荷が急増する状況では、上記のような歯面の摩耗や焼き付きが発生するリスクが高くなってしまう。
【0007】
この発明は上記の技術的課題に着目して考え出されたものであり、損失を低減して電費の向上が期待できる“低粘度油”を用いる場合であっても、摩耗や焼き付きなどの歯面の損傷を防止して、信頼性を確保することが可能な電動車両の制御装置を提供することを目的とするものである。
【課題を解決するための手段】
【0008】
上記の目的を達成するために、この発明は、駆動力源としてモータを搭載し、前記モータ、および、前記モータのトルクを伝達する歯車を、それぞれ、オイルにより潤滑する電動車両の制御装置であって、前記オイルの温度を検出する油温センサーと、前記モータを制御するコントロールユニットと、備え、前記コントロールユニットは、前記油温センサーにより検出された前記温度が所定油温以上である場合に、前記電動車両を加速走行させるために前記モータの出力を増大する際の、前記モータのトルク上昇勾配または回転数上昇勾配の少なくともいずれかを所定勾配以下に制限することを特徴とするものである。
【0009】
また、この発明における前記油温センサーは、前記モータの回転速度を減速するリダクションギヤの近傍で、前記リダクションギヤを潤滑する前記オイルの前記温度を検出し、この発明における前記コントロールユニットは、前記リダクションギヤの近傍で検出された前記温度が前記所定油温以上である場合に、前記トルク上昇勾配または前記回転数上昇勾配の少なくともいずれかを前記所定勾配以下に制限するように構成してもよい。
【0010】
また、この発明における前記コントロールユニットは、前記トルク上昇勾配または前記回転数上昇勾配の少なくともいずれかを、最大の上昇勾配の80%以下に制限するように構成してもよい。
(【0011】以降は省略されています)
この特許をJ-PlatPat(特許庁公式サイト)で参照する
関連特許
トヨタ自動車株式会社
車両
3日前
トヨタ自動車株式会社
電池
3日前
トヨタ自動車株式会社
ロータ
1日前
トヨタ自動車株式会社
サーバ
7日前
トヨタ自動車株式会社
電動車
1日前
トヨタ自動車株式会社
電動車
13日前
トヨタ自動車株式会社
電動車両
13日前
トヨタ自動車株式会社
加熱装置
13日前
トヨタ自動車株式会社
制御装置
3日前
トヨタ自動車株式会社
検査装置
3日前
トヨタ自動車株式会社
蓄電装置
3日前
トヨタ自動車株式会社
制御装置
13日前
トヨタ自動車株式会社
電動車両
13日前
トヨタ自動車株式会社
二次電池
3日前
トヨタ自動車株式会社
制御装置
13日前
トヨタ自動車株式会社
蓄電装置
3日前
トヨタ自動車株式会社
塗布装置
1日前
トヨタ自動車株式会社
蓄電セル
1日前
トヨタ自動車株式会社
冷却構造
6日前
トヨタ自動車株式会社
内燃機関
13日前
トヨタ自動車株式会社
蓄電セル
1日前
トヨタ自動車株式会社
蓄電装置
13日前
トヨタ自動車株式会社
蓄電装置
3日前
トヨタ自動車株式会社
制御装置
3日前
トヨタ自動車株式会社
冷却装置
13日前
トヨタ自動車株式会社
給電装置
13日前
トヨタ自動車株式会社
蓄電装置
7日前
トヨタ自動車株式会社
育苗装置
今日
トヨタ自動車株式会社
蓄電装置
3日前
トヨタ自動車株式会社
蓄電装置
今日
トヨタ自動車株式会社
制御装置
3日前
トヨタ自動車株式会社
蓄電装置
今日
トヨタ自動車株式会社
蓄電装置
3日前
トヨタ自動車株式会社
蓄電装置
1日前
トヨタ自動車株式会社
電池パック
7日前
トヨタ自動車株式会社
電池パック
7日前
続きを見る
他の特許を見る