TOP
|
特許
|
意匠
|
商標
特許ウォッチ
Twitter
他の特許を見る
公開番号
2025140237
公報種別
公開特許公報(A)
公開日
2025-09-29
出願番号
2024039487
出願日
2024-03-13
発明の名称
高周波拡散シート
出願人
住友ベークライト株式会社
代理人
個人
,
個人
,
個人
主分類
H05K
9/00 20060101AFI20250919BHJP(他に分類されない電気技術)
要約
【課題】高周波領域の電磁波を、優れた拡散性をもって拡散させることで、建築物内の広範囲において、高周波領域の電磁波であっても、通信機器により電磁波を良好に受信可能とし得る高周波拡散シートを提供すること。
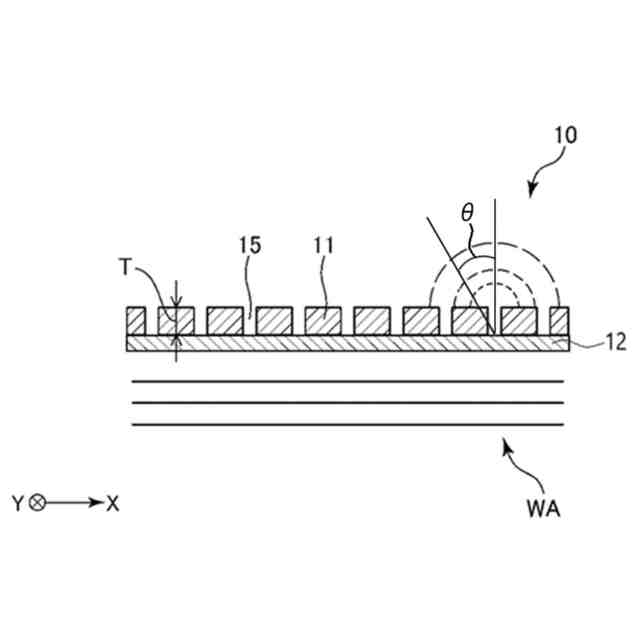
【解決手段】本発明の高周波拡散シート10は、高周波領域の電磁波を拡散させるために用いられ、電磁波遮蔽性を有する電磁波遮蔽層11を備えるものであり、高周波拡散シート10の平面視においてパターニングされており、電磁波遮蔽層11の厚さ方向に貫通する開口部15を有し、前記開口部の平均開口幅をW[mm]、隣接する前記開口部同士の平均離間距離をL[mm]、前記電磁波の波長をλ[mm]としたとき、W/λおよびL/λは、それぞれ、0.3≦W/λ≦1.5、および、0.2≦L/λ≦1.3の範囲内であることを満足する。
【選択図】図1
特許請求の範囲
【請求項1】
高周波領域の電磁波が透過する際に、該電磁波を拡散させるために用いられ、電磁波遮蔽性を有する電磁波遮蔽層を備える高周波拡散シートであって、
前記電磁波遮蔽層は、当該高周波拡散シートの平面視においてパターニングされており、前記電磁波遮蔽層の厚さ方向に貫通する複数の開口部を有し、
前記開口部の平均開口幅をW[mm]、隣接する前記開口部同士の平均離間距離をL[mm]、前記電磁波の波長をλ[mm]としたとき、W/λおよびL/λは、それぞれ、0.3≦W/λ≦1.5、および、0.2≦L/λ≦1.3の範囲内であることを特徴とする高周波拡散シート。
続きを表示(約 780 文字)
【請求項2】
前記電磁波が当該高周波拡散シートを透過した際に、前記開口部において拡散された前記電磁波のうち、最も高い強度で拡散された前記電磁波の放射角度θを、前記開口部から拡散されることなく直進する前記電磁波に対する傾斜角度としたとき、
前記放射角度θは、30°超90°以下である請求項1に記載の高周波拡散シート。
【請求項3】
前記開口部は、平面視形状が長方形状をなしている請求項1に記載の高周波拡散シート。
【請求項4】
前記電磁波遮蔽層は、前記電磁波を反射または吸収させることで前記電磁波を遮蔽するものである請求項1に記載の高周波拡散シート。
【請求項5】
前記電磁波遮蔽層は、金属薄膜層、または、金属粉とバインダー樹脂とを含んで構成される金属粉含有接着剤層である請求項1に記載の高周波拡散シート。
【請求項6】
当該高周波拡散シートは、透明性を有する樹脂フィルムを有し、前記電磁波遮蔽層は、前記樹脂フィルムに接合して設けられている請求項1に記載の高周波拡散シート。
【請求項7】
当該高周波拡散シートは、前記電磁波が透過する際に、前記開口部により、前記電磁波が回折されることで、拡散するよう構成されている請求項1に記載の高周波拡散シート。
【請求項8】
前記電磁波遮蔽層は、その平均厚さTが0.01μm以上70.0μm以下である請求項1に記載の高周波拡散シート。
【請求項9】
前記電磁波の周波数は、1GHz以上80GHz以下である請求項1に記載の高周波拡散シート。
【請求項10】
当該高周波拡散シートは、建築物が備える、前記電磁波の透過が許容される透過領域に貼付して使用される請求項1に記載の高周波拡散シート。
発明の詳細な説明
【技術分野】
【0001】
本発明は、高周波拡散シートに関する。
続きを表示(約 1,300 文字)
【背景技術】
【0002】
近年、携帯電話、スマートフォン、タブレット、モバイルパソコン等の通信機器の高速化、高容量化に伴い、これら通信機器で受信する電磁波(電磁信号)として、1GHz以上80GHz以下のような高周波領域のものを用いることが提案されている(例えば、特許文献1参照)。
【0003】
このような高周波領域の電磁波は、低周波領域のものと比較すると、直進性(指向性)が高い。そのため、建築物内において通信機器により電磁波を受信する際には、電磁波の透過が許容される窓部等の透過領域を透過した電磁波が拡散すなわち回折されず、その結果、建築物内の広範囲において、良好に電磁波を受信することができなくなると言う問題が生じる。
【先行技術文献】
【特許文献】
【0004】
特開2012-190920号公報
【発明の概要】
【発明が解決しようとする課題】
【0005】
本発明の目的は、高周波領域の電磁波を、優れた拡散性をもって拡散させることで、例えば、建築物内の広範囲において、高周波領域の電磁波であっても、通信機器により電磁波を良好に受信可能とし得る高周波拡散シートを提供することにある。
【課題を解決するための手段】
【0006】
このような目的は、下記(1)~(10)に記載の本発明により達成される。
(1) 高周波領域の電磁波が透過する際に、該電磁波を拡散させるために用いられ、電磁波遮蔽性を有する電磁波遮蔽層を備える高周波拡散シートであって、
前記電磁波遮蔽層は、当該高周波拡散シートの平面視においてパターニングされており、前記電磁波遮蔽層の厚さ方向に貫通する複数の開口部を有し、
前記開口部の平均開口幅をW[mm]、隣接する前記開口部同士の平均離間距離をL[mm]、前記電磁波の波長をλ[mm]としたとき、W/λおよびL/λは、それぞれ、0.3≦W/λ≦1.5、および、0.2≦L/λ≦1.3の範囲内であることを特徴とする高周波拡散シート。
【0007】
(2) 前記電磁波が当該高周波拡散シートを透過した際に、前記開口部において拡散された前記電磁波のうち、最も高い強度で拡散された前記電磁波の放射角度θを、前記開口部から拡散されることなく直進する前記電磁波に対する傾斜角度としたとき、
前記放射角度θは、30°超90°以下である上記(1)に記載の高周波拡散シート。
【0008】
(3) 前記開口部は、平面視形状が長方形状をなしている上記(1)または(2)に記載の高周波拡散シート。
【0009】
(4) 前記電磁波遮蔽層は、前記電磁波を反射または吸収させることで前記電磁波を遮蔽するものである上記(1)ないし(3)のいずれかに記載の高周波拡散シート。
【0010】
(5) 前記電磁波遮蔽層は、金属薄膜層、または、金属粉とバインダー樹脂とを含んで構成される金属粉含有接着剤層である上記(1)ないし(4)のいずれかに記載の高周波拡散シート。
(【0011】以降は省略されています)
この特許をJ-PlatPat(特許庁公式サイト)で参照する
関連特許
個人
電子部品の実装方法
2日前
株式会社コロナ
電気機器
2か月前
個人
非衝突型ガウス加速器
1か月前
日本精機株式会社
回路基板
24日前
アイホン株式会社
電気機器
1か月前
日本放送協会
基板固定装置
22日前
アイホン株式会社
電気機器
16日前
個人
節電材料
1か月前
キヤノン株式会社
電子機器
3か月前
キヤノン株式会社
電子機器
16日前
メクテック株式会社
配線基板
3か月前
メクテック株式会社
配線基板
1か月前
東レ株式会社
霧化状活性液体供給装置
1か月前
マクセル株式会社
配列用マスク
2か月前
イビデン株式会社
プリント配線板
3か月前
トキコーポレーション株式会社
照明器具
2か月前
イビデン株式会社
プリント配線板
2か月前
サクサ株式会社
筐体の壁掛け構造
1か月前
イビデン株式会社
配線基板
1か月前
イビデン株式会社
配線基板
1か月前
イビデン株式会社
プリント配線板
22日前
FDK株式会社
基板
1日前
イビデン株式会社
プリント配線板
2か月前
株式会社電気印刷研究所
金属画像形成方法
2か月前
新電元工業株式会社
電子装置
16日前
カシン工業株式会社
PTC発熱装置
2か月前
日産自動車株式会社
電子部品
14日前
日産自動車株式会社
電子機器
2か月前
株式会社レゾナック
冷却装置
1日前
新電元工業株式会社
充電装置
2か月前
メクテック株式会社
配線モジュール
3か月前
オムロン株式会社
端子折り曲げ治具
4日前
株式会社電気印刷研究所
金属画像形成方法
2か月前
富士電子工業株式会社
高周波焼入装置
1か月前
タイガー魔法瓶株式会社
加熱器
14日前
日本特殊陶業株式会社
配線基板
1か月前
続きを見る
他の特許を見る