TOP
|
特許
|
意匠
|
商標
特許ウォッチ
Twitter
他の特許を見る
公開番号
2025140088
公報種別
公開特許公報(A)
公開日
2025-09-29
出願番号
2024039261
出願日
2024-03-13
発明の名称
燃料電池車両
出願人
トヨタ自動車株式会社
代理人
弁理士法人 快友国際特許事務所
主分類
B60L
50/72 20190101AFI20250919BHJP(車両一般)
要約
【課題】燃料電池車両においてエアベアリングへの水の侵入を抑制する技術を提案する。
【解決手段】燃料電池車両は、エアベアリングを備えるエアコンプレッサと、前記エアコンプレッサから空気の供給を受ける燃料電池とを有している。また、燃料電池車両は、前記燃料電池から排出された空気を前記燃料電池車両の外部に排出する第1排出流路と、前記エアベアリングから排出された空気を前記燃料電池車両の外部に排出する第2排出流路と、を有している。前記第2排出流路の排出口は、前記第1排出流路の排出口よりも高い位置に配置されている。そのため、燃料電池車両が渡河する場合に、第2排出流路の排出口に水が流入し難い。このため、水が第2排出流路の排出口を介して、エアベアリングへ侵入することを抑制することができる。
【選択図】図2
特許請求の範囲
【請求項1】
燃料電池車両であって、
エアベアリングを備えるエアコンプレッサと、
前記エアコンプレッサから空気の供給を受ける燃料電池と、
前記燃料電池から排出された空気を前記燃料電池車両の外部に排出する第1排出流路と、
前記エアベアリングから排出された空気を前記燃料電池車両の外部に排出する第2排出流路と、
を備え、
前記第2排出流路の排出口が、前記第1排出流路の排出口よりも高い位置に配置されている、
燃料電池車両。
発明の詳細な説明
【技術分野】
【0001】
本明細書に開示の技術は、燃料電池車両に関する。
続きを表示(約 1,300 文字)
【背景技術】
【0002】
特許文献1には、燃料電池と、燃料電池に空気を供給するエアコンプレッサを有する燃料電池システムが開示されている。エアコンプレッサの軸受は、圧縮空気により作動するエアベアリングにより構成されている。燃料電池から排出される空気とエアベアリングから排出される空気は、排出口から車両の外部に排出される。
【先行技術文献】
【特許文献】
【0003】
特開2013-008445号公報
【発明の概要】
【発明が解決しようとする課題】
【0004】
燃料電池車両が渡河する際に、水が排出口内に流入すると、水がエアベアリングに侵入するおそれがある。本明細書では、燃料電池車両においてエアベアリングへの水の侵入を抑制する技術を提案する。
【課題を解決するための手段】
【0005】
(態様1)
本明細書が開示する燃料電池車両は、エアベアリングを備えるエアコンプレッサと、前記エアコンプレッサから空気の供給を受ける燃料電池と、前記燃料電池から排出された空気を前記燃料電池車両の外部に排出する第1排出流路と、前記エアベアリングから排出された空気を前記燃料電池車両の外部に排出する第2排出流路と、を備える。前記第2排出流路の排出口が、前記第1排出流路の排出口よりも高い位置に配置されている。
【0006】
上記の燃料電池車両では、第2排出流路の排出口が、第1排出流路の排出口よりも高い位置に配置されている。そのため、燃料電池車両が渡河する場合に、第2排出流路の排出口に水が流入し難い。このため、エアベアリングへの水の侵入を抑制することができる。
【図面の簡単な説明】
【0007】
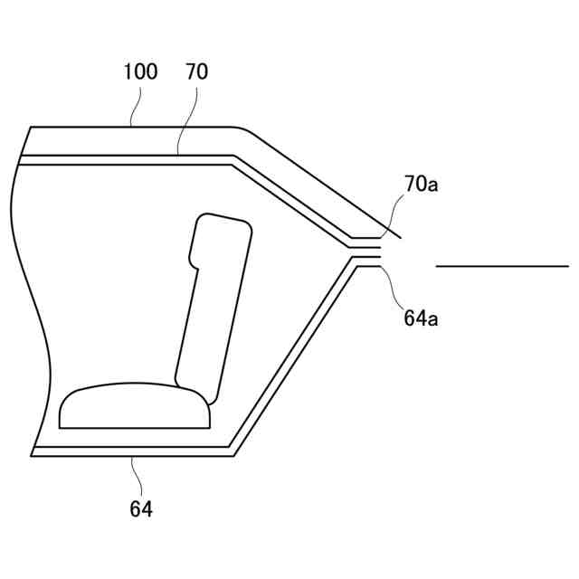
燃料電池システムのブロック図である。
燃料電池車両の説明図である。
エアベアリング排出流路の説明図である。
【発明を実施するための形態】
【0008】
図1に示す燃料電池システム10は、図2に示す燃料電池車両100に搭載されている。燃料電池車両100は、燃料電池システム10で生成された電力によりモータ(図示省略)を駆動して走行する。燃料電池システム10は、燃料電池12とエアコンプレッサ14を有している。エアコンプレッサ14は、燃料電池12に空気を供給する。
【0009】
燃料電池システム10は、ECU(electronic control unit)42、制御部44を有している。ECU42と制御部44は、燃料電池システム10の各部(エアコンプレッサ14、弁など)を制御する。
【0010】
燃料電池12は、燃料電池車両100の車両前方(例えば、フロントコンパ―メント内)に設けられている。燃料電池12には、エアコンプレッサ14から圧縮空気が供給されるとともに、図示しないタンクから水素が供給される。燃料電池12は、酸素と水素を反応させて発電を行い、図示しないモータに対して電力を供給する。
(【0011】以降は省略されています)
この特許をJ-PlatPat(特許庁公式サイト)で参照する
関連特許
個人
タイヤレバー
2か月前
個人
前輪キャスター
1か月前
個人
上部一体型自動車
15日前
個人
ルーフ付きトライク
2か月前
個人
タイヤ脱落防止構造
1か月前
日本精機株式会社
表示装置
2か月前
日本精機株式会社
表示装置
2か月前
個人
マスタシリンダ
22日前
日本精機株式会社
表示装置
2か月前
個人
車両通過構造物
2か月前
日本精機株式会社
表示装置
2か月前
個人
乗合路線バスの客室装置
3か月前
日本精機株式会社
車室演出装置
1か月前
個人
円湾曲ホイール及び球体輪
3か月前
株式会社ニフコ
収納装置
1か月前
株式会社豊田自動織機
産業車両
2か月前
個人
音声ガイド、音声サービス
2か月前
株式会社ニフコ
照明装置
1か月前
日本精機株式会社
車載表示装置
1か月前
日本精機株式会社
画像投映装置
11日前
日本精機株式会社
車両用投影装置
29日前
日本精機株式会社
車両用投射装置
16日前
日本精機株式会社
車両用表示装置
2か月前
日本無線株式会社
取付金具
2か月前
井関農機株式会社
作業車両
29日前
日本精機株式会社
車両用表示装置
11日前
株式会社SUBARU
車両
9日前
極東開発工業株式会社
車両
2か月前
ダイハツ工業株式会社
変速機
1か月前
ダイハツ工業株式会社
変速機
1か月前
帝人株式会社
衝撃吸収構造体
1か月前
日本化薬株式会社
ガス発生器
11日前
ダイハツ工業株式会社
変速機
1か月前
日本化薬株式会社
ガス発生器
1か月前
エムケー精工株式会社
車両処理装置
19日前
日本化薬株式会社
ガス発生器
1か月前
続きを見る
他の特許を見る