TOP
|
特許
|
意匠
|
商標
特許ウォッチ
Twitter
他の特許を見る
10個以上の画像は省略されています。
公開番号
2025139973
公報種別
公開特許公報(A)
公開日
2025-09-29
出願番号
2024039085
出願日
2024-03-13
発明の名称
情報処理システム、情報処理方法およびプログラム
出願人
オムロン株式会社
代理人
弁理士法人深見特許事務所
主分類
G06Q
50/04 20120101AFI20250919BHJP(計算;計数)
要約
【課題】生産ラインのモデルの作成能力または製造現場に関する知見の乏しいユーザであっても生産ラインのモデルを容易に取得可能な情報処理システムを提供する。
【解決手段】情報処理システムは、端末における第1対話を介して、生産ラインの設計に関する複数の確認項目の各々に対する回答を取得する対話処理部と、回答を満たす生産ラインの初期モデルを作成するモデル作成部と、初期モデルを端末に出力する出力部とを備える。
【選択図】図1
特許請求の範囲
【請求項1】
情報処理システムであって、
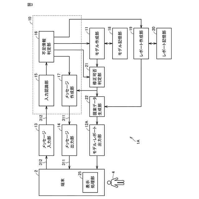
端末における第1対話を介して、生産ラインの設計に関する複数の確認項目の各々に対する回答を取得する対話処理部と、
前記回答を満たす前記生産ラインの初期モデルを作成するモデル作成部と、
前記初期モデルを前記端末に出力する出力部とを備える、情報処理システム。
続きを表示(約 1,400 文字)
【請求項2】
前記対話処理部は、
前記端末に入力された自然言語を解析することにより、前記複数の確認項目の全てについて前記回答を取得できたか否かを判定し、
前記複数の確認項目のうちの少なくとも一部の項目について前記回答を取得できていないと判定したことに応じて、前記少なくとも一部の項目を問い合わせるための第1質問を前記端末に出力する、請求項1に記載の情報処理システム。
【請求項3】
前記複数の確認項目の回答候補の組み合わせごとにサンプルモデルを記憶する第1記憶部をさらに備え、
前記モデル作成部は、前記回答と合致する組み合わせに対応する前記サンプルモデルに基づいて、前記初期モデルを作成する、請求項1に記載の情報処理システム。
【請求項4】
前記対話処理部は、さらに、前記端末における第2対話を介して、前記初期モデルに対する修正の要望を取得し、
前記モデル作成部は、前記要望を満たすように前記初期モデルを修正することにより、修正モデルを作成し、
前記出力部は、前記修正モデルを前記端末に出力する、請求項1から3のいずれか1項に記載の情報処理システム。
【請求項5】
前記修正モデルが前記回答を満たすか否かを判定する判定部をさらに備え、
前記対話処理部は、前記修正モデルが前記複数の確認項目のうちの特定項目に対する前記回答を満たさないと判定されたことに応じて、前記特定項目に対する前記回答と前記要望とを両立できないことを示すエラーメッセージを前記端末に出力する、請求項4に記載の情報処理システム。
【請求項6】
前記対話処理部は、
前記回答に応じて、前記要望を取得するための第2質問を作成し、
前記第2質問を前記端末に出力することにより、前記端末から前記要望を取得する、請求項4に記載の情報処理システム。
【請求項7】
前記対話処理部は、さらに、前記端末における第3対話を介して、前記生産ラインの設計に関する課題を取得し、
前記情報処理システムは、さらに、前記生産ラインの設計に関する課題候補ごとに、前記課題候補を解決するための情報を記憶する第2記憶部を備え、
前記出力部は、前記課題に合致する前記課題候補に対応する前記情報を前記端末に出力する、請求項1から3のいずれか1項に記載の情報処理システム。
【請求項8】
情報処理方法であって、
1以上のプロセッサが、端末における対話を介して、生産ラインの設計に関する複数の確認項目の各々に対する回答を取得することと、
前記1以上のプロセッサが、前記回答を満たす前記生産ラインの初期モデルを作成することと、
前記1以上のプロセッサが、前記初期モデルを前記端末に出力することとを備える、情報処理方法。
【請求項9】
情報処理方法をコンピュータに実行させるプログラムであって、前記情報処理方法は、
端末における対話を介して、生産ラインの設計に関する複数の確認項目の各々に対する回答を取得することと、
前記回答を満たす前記生産ラインの初期モデルを作成することと、
前記初期モデルを前記端末に出力することとを備える、プログラム。
発明の詳細な説明
【技術分野】
【0001】
本開示は、情報処理システム、情報処理方法およびプログラムに関する。
続きを表示(約 1,200 文字)
【背景技術】
【0002】
従来、生産ラインのレイアウトの構築を支援するために、生産ラインのモデルをコンピュータ上に構築してシミュレーションを実行する技術が開発されている。例えば、特開2010-122788号公報(特許文献1)は、生産ラインレイアウト作成方法を開示している。この生産ラインレイアウト作成方法によれば、最初に、ユーザは、生産する製品の種類、生産数量、必要とする設備および生産工程、生産ラインの設置場所などの情報に基づいて、生産ラインの構想を練り、生産ラインのレイアウトを素案化する。
【先行技術文献】
【特許文献】
【0003】
特開2010-122788号公報
【発明の概要】
【発明が解決しようとする課題】
【0004】
一般に、生産ラインのレイアウトの素案化のためには、生産ラインのモデルの作成能力および製造現場に関する知見が必要とされる。そのため、生産ラインのレイアウトを構築するユーザが限定される。
【0005】
本開示は、上記の問題に鑑みてなされたものであり、その目的は、生産ラインのモデルの作成能力または製造現場に関する知見の乏しいユーザであっても生産ラインのモデルを容易に取得可能な情報処理システム、情報処理方法およびプログラムを提供することである。
【課題を解決するための手段】
【0006】
本開示の一例によれば、情報処理システムは、端末における第1対話を介して、生産ラインの設計に関する複数の確認項目の各々に対する回答を取得する対話処理部と、回答を満たす生産ラインの初期モデルを作成するモデル作成部と、初期モデルを端末に出力する出力部とを備える。
【0007】
この開示によれば、生産ラインのモデルの作成能力または製造現場に関する知見に乏しいユーザであっても、対話において複数の確認項目の各々について回答することにより、生産ラインの初期モデルを容易に取得できる。
【0008】
上述の開示において、対話処理部は、端末に入力された自然言語を解析することにより、複数の確認項目の全てについて回答を取得できたか否かを判定する。対話処理部は、複数の確認項目のうちの少なくとも一部の項目について回答を取得できていないと判定したことに応じて、少なくとも一部の項目を問い合わせるための第1質問を端末に出力する。
【0009】
この開示によれば、ユーザは、第1質問を確認することにより、複数の確認項目の全てについて回答できる。
【0010】
上述の開示において、情報処理システムは、複数の確認項目の回答候補の組み合わせごとにサンプルモデルを記憶する第1記憶部をさらに備える。モデル作成部は、回答と合致する組み合わせに対応するサンプルモデルに基づいて、初期モデルを作成する。
(【0011】以降は省略されています)
この特許をJ-PlatPat(特許庁公式サイト)で参照する
関連特許
オムロン株式会社
発光エンブレム
今日
個人
詐欺保険
3日前
個人
縁伊達ポイン
3日前
個人
地球保全システム
16日前
個人
QRコードの彩色
7日前
個人
残土処理システム
9日前
個人
農作物用途分配システム
2日前
個人
知的財産出願支援システム
10日前
株式会社キーエンス
受発注システム
15日前
個人
食品レシピ生成システム
15日前
株式会社キーエンス
受発注システム
15日前
個人
海外支援型農作物活用システム
28日前
株式会社キーエンス
受発注システム
15日前
個人
帳票自動生成型SaaSシステム
10日前
個人
音声・通知・再配達UX制御構造
10日前
キヤノン株式会社
表示システム
15日前
大同特殊鋼株式会社
疵判定方法
22日前
個人
未来型家系図構築システム
28日前
大同特殊鋼株式会社
棒材計数方法
8日前
株式会社カネカ
製造工場の管理システム
10日前
個人
マーケティング活動支援装置
14日前
中部電力株式会社
学習装置
28日前
株式会社キーエンス
製品受発注システム
15日前
フリー株式会社
情報処理システム
22日前
株式会社竹中工務店
管理システム
28日前
個人
本人認証連動型帳票出力支援システム
18日前
TOTO株式会社
衛生評価システム
8日前
TOTO株式会社
姿勢評価システム
8日前
株式会社PIPS
2次元可視コード
今日
株式会社オカムラ
電力供給システム
7日前
株式会社梓総合研究所
冷却システム
14日前
ブラザー工業株式会社
サポートプログラム
21日前
本田技研工業株式会社
会話装置
14日前
中国電力株式会社
空き家判定システム
7日前
株式会社カネカ
生産計画立案システム
18日前
株式会社栗本鐵工所
触覚提示システム
8日前
続きを見る
他の特許を見る