TOP
|
特許
|
意匠
|
商標
特許ウォッチ
Twitter
他の特許を見る
公開番号
2025139927
公報種別
公開特許公報(A)
公開日
2025-09-29
出願番号
2024039021
出願日
2024-03-13
発明の名称
固体撮像素子パッケージ、固体撮像素子パッケージ集合体および固体撮像素子パッケージ製造方法
出願人
株式会社カネカ
代理人
個人
,
個人
主分類
H10F
39/12 20250101AFI20250919BHJP()
要約
【課題】撮像品質が高い固体撮像素子パッケージを提供すること。
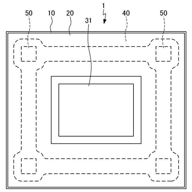
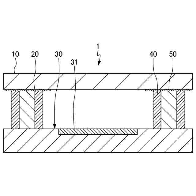
【解決手段】本発明の一態様に係る固体撮像素子パッケージ1は、透明な第1基板10と、前記第1基板10の一方の主面の外周部に形成される遮光膜20と、前記第1基板10に対向する撮像部31を有する第2基板30と、前記第1基板10と前記第2基板30との間に介在し、前記撮像部31を取り囲むよう配設されるフレーム40と、前記フレーム40の中に埋没し、前記第1基板10と前記第2基板30との距離を規定する3以上の柱状体50と、を備える。
【選択図】図1
特許請求の範囲
【請求項1】
透明な第1基板と、
前記第1基板の一方の主面の外周部に形成される遮光膜と、
前記第1基板に対向する撮像部を有する第2基板と、
前記第1基板と前記第2基板との間に介在し、前記撮像部を取り囲むよう配設されるフレームと、
前記フレームの中に埋没し、前記第1基板と前記第2基板との距離を規定する3以上の柱状体と、
を備える、固体撮像素子パッケージ。
続きを表示(約 1,000 文字)
【請求項2】
前記フレームは、方形枠状に形成され、
前記柱状体は、前記フレームの角部に配置される、請求項1に記載の固体撮像素子パッケージ。
【請求項3】
前記柱状体は、それぞれの前記角部に複数配置される、請求項2に記載の固体撮像素子パッケージ。
【請求項4】
前記遮光膜は、前記第1基板の前記第2基板側の主面に形成され、
前記フレームおよび前記柱状体は、前記遮光膜を介して前記第1基板に接合される、請求項1から3のいずれかに記載の固体撮像素子パッケージ。
【請求項5】
複数の請求項1から3のいずれかに記載の固体撮像素子パッケージを有し、
前記第1基板および前記第2基板は、それぞれダイシングスペースを介して一体の集合第1基板および集合第2基板として形成される、固体撮像素子パッケージ集合体。
【請求項6】
透明な第1基板と、前記第1基板に対向する撮像部を有する第2基板と、前記第1基板と前記第2基板との間に介在し、前記撮像部を取り囲むよう配設されるフレームと、を備える固体撮像素子パッケージを製造する固体撮像素子パッケージ製造方法であって、
前記第1基板の一方の主面の外周部に遮光膜を形成する工程と、
前記第1基板に、前記フレームの中に埋没し、前記第1基板と前記第2基板との距離を規定する複数の柱状体を形成する工程と、
前記第2基板に、前記フレームを形成する接着剤を塗布する工程と、
前記接着剤に前記柱状体を挿入するよう、前記接着剤により前記第1基板と前記第2基板を接合する工程と、
を備える、固体撮像素子パッケージ製造方法。
【請求項7】
前記第1基板および前記第2基板は、それぞれ複数が一体化した集合第1基板および集合第2基板として提供され、
前記柱状体を形成する工程、前記接着剤を塗布する工程および前記第1基板と前記第2基板を接合する工程は、前記集合第1基板および前記集合第2基板を用いて行われ、
前記第1基板と前記第2基板を接合する工程の後に、ダイシングにより前記固体撮像素子パッケージを個片化する工程をさらに備える、請求項6に記載の固体撮像素子パッケージ製造方法。
【請求項8】
前記柱状体を、ネガ型感光性樹脂により形成する、請求項6または7に記載の固体撮像素子パッケージ製造方法。
発明の詳細な説明
【技術分野】
【0001】
本発明は、固体撮像素子パッケージ、固体撮像素子パッケージ集合体および固体撮像素子パッケージ製造方法に関する。
続きを表示(約 1,100 文字)
【背景技術】
【0002】
CMOSイメージセンサやCCDイメージセンサなどの固体撮像装置(固体撮像素子パッケージ)はデジタルカメラやスマートフォン等に使用されており、近年では、自動車や工場の監視カメラへの普及に伴い使用量が増大するとともに、小型化・高精細化がますます要求されている。
【0003】
固体撮像素子パッケージは、撮像部(受光素子)を持つ素子基板とガラス等の透明基板が撮像部を取り囲むフレームによって間隔を空けて貼り合わされ、撮像部を内包する中空空間を有するパッケージである。固体撮像素子パッケージは、素子基板上にエポキシ樹脂やアクリル樹脂等を主成分とする接着剤を一定の厚みに塗布してフレームを形成し、フレームの上部開口を透明基板によって封止することによって製造される(例えば特許文献1参照)。
【先行技術文献】
【特許文献】
【0004】
特開2004-296453号公報
【発明の概要】
【発明が解決しようとする課題】
【0005】
従来の固体撮像素子パッケージでは、その製造工程において、接着剤を介して透明基板を素子基板に積層する際、透明基板の重さ等によって接着剤が圧し潰されて透明基板が傾いたり、接着剤が受光素子近傍まで押し拡げられたりして撮像品質を低下させるという不都合が発生するおそれがある。
【0006】
このため、本発明は、撮像品質が高い固体撮像素子パッケージ、固体撮像素子パッケージ集合体およびその製造方法を提供することを課題とする。
【課題を解決するための手段】
【0007】
(1)本発明の一態様に係る固体撮像素子パッケージは、透明な第1基板と、前記第1基板の一方の主面の外周部に形成される遮光膜と、前記第1基板に対向する撮像部を有する第2基板と、前記第1基板と前記第2基板との間に介在し、前記撮像部を取り囲むよう配設されるフレームと、前記フレームの中に埋没し、前記第1基板と前記第2基板との距離を規定する3以上の柱状体と、を備える。
【0008】
(2)(1)の固体撮像素子パッケージにおいて、前記フレームは、方形枠状に形成され、前記柱状体は、前記フレームの角部に配置されてもよい。
【0009】
(3)(2)の固体撮像素子パッケージにおいて、前記柱状体は、それぞれの前記角部に複数配置されてもよい。
【0010】
(4)(1)~(3)の固体撮像素子パッケージにおいて、前記遮光膜は、前記第1基板の前記第2基板側の主面に形成され、前記フレームおよび前記柱状体は、前記遮光膜を介して前記第1基板に接合されてもよい。
(【0011】以降は省略されています)
この特許をJ-PlatPat(特許庁公式サイト)で参照する
関連特許
株式会社カネカ
抗菌剤
8日前
株式会社カネカ
積層装置
5日前
株式会社カネカ
製膜装置
1日前
株式会社カネカ
塗布装置
5日前
株式会社カネカ
製膜装置
1日前
株式会社カネカ
医療用具
1日前
株式会社カネカ
電解装置
1か月前
株式会社カネカ
二次電池
1か月前
株式会社カネカ
正極活物質
5日前
株式会社カネカ
汎用かつら
16日前
株式会社カネカ
カテーテル
1日前
株式会社カネカ
カテーテル
1日前
株式会社カネカ
ヘルメット
25日前
株式会社カネカ
カテーテル
1日前
株式会社カネカ
濃縮システム
1か月前
株式会社カネカ
製造システム
29日前
株式会社カネカ
製造システム
1か月前
株式会社カネカ
光学フィルム
1か月前
株式会社カネカ
硬化性組成物
15日前
株式会社カネカ
蓄冷材組成物
1か月前
株式会社カネカ
樹脂チューブ
15日前
株式会社カネカ
硬化性組成物
1か月前
株式会社カネカ
生体内留置具
1日前
株式会社カネカ
硬化性組成物
1か月前
株式会社カネカ
保護キャップ
1か月前
株式会社カネカ
生体内留置具
1か月前
株式会社カネカ
延長カテーテル
17日前
株式会社カネカ
油脂の製造方法
3日前
株式会社カネカ
顆粒の製造方法
5日前
株式会社カネカ
ブラッシング装置
17日前
株式会社カネカ
ブラッシング装置
17日前
株式会社カネカ
フィルム延伸装置
5日前
株式会社カネカ
ブラッシング装置
17日前
株式会社カネカ
ブラッシング装置
17日前
株式会社カネカ
フィルム延伸装置
3日前
株式会社カネカ
樹脂粒子の製造方法
9日前
続きを見る
他の特許を見る