TOP
|
特許
|
意匠
|
商標
特許ウォッチ
Twitter
他の特許を見る
10個以上の画像は省略されています。
公開番号
2025139922
公報種別
公開特許公報(A)
公開日
2025-09-29
出願番号
2024039013
出願日
2024-03-13
発明の名称
トリポード型等速自在継手
出願人
NTN株式会社
代理人
個人
,
個人
,
個人
主分類
F16D
3/205 20060101AFI20250919BHJP(機械要素または単位;機械または装置の効果的機能を生じ維持するための一般的手段)
要約
【課題】ダブルローラタイプのトリポード型等速自在継手において、組立性の低下や製造コストの高騰を招くことなく、トリポード部材の脚軸からのローラユニットの脱落を防止する。
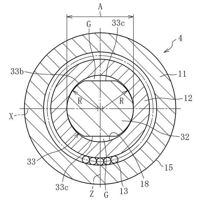
【解決手段】脚軸32の外周面が、縦断面及び横断面において、トルク伝達方向両側に膨出した凸曲線(円弧33a、33b)を有する。インナリング12の内周面18が、脚軸32の外周面33と嵌合する円筒部18aと、円筒部18aの継手半径方向内側に設けられ、円筒部18aよりも内径側に突出し、脚軸32の外周面の最大径Aよりも小さい内径を有する環状突起18bとを備える。脚軸32の外周面33の横断面における凸曲線(円弧33b)のうち、トルク伝達方向両端における曲率半径(R)が、インナリング12の内周面18の円筒部18aの半径(D/2)よりも小さい。
【選択図】図10
特許請求の範囲
【請求項1】
継手軸方向に延びる三本のトラック溝が内周面に形成された外側継手部材と、前記外側継手部材の内周に配され、前記トラック溝に向けて継手半径方向に突出した三つの脚軸を有するトリポード部材と、前記脚軸の外周に配されたローラ、及び、前記ローラと前記脚軸との間に配されたインナリングを有し、前記脚軸に回転可能且つ揺動可能な状態で支持されると共に前記トラック溝に収容される三つのローラユニットとを備えたトリポード型等速自在継手において、
前記脚軸の外周面が、縦断面及び横断面において、トルク伝達方向両側に膨出した凸曲線を有し、
前記インナリングの内周面が、前記脚軸の外周面と嵌合する円筒部と、前記円筒部の継手半径方向内側に設けられ、前記円筒部よりも内径側に突出し、前記脚軸の外周面の最大径よりも小さい内径を有する環状突起とを備え、
前記脚軸の外周面の前記横断面における凸曲線のうち、トルク伝達方向両端における曲率半径(R)が、前記インナリングの内周面の前記円筒部の半径(D/2)よりも小さいトリポード型等速自在継手。
続きを表示(約 570 文字)
【請求項2】
前記脚軸の外周面の前記縦断面における凸曲線のうち、トルク伝達方向両端における曲率半径(r)が、前記脚軸の外周面の前記横断面における凸曲線のうち、トルク伝達方向両端における曲率半径(R)よりも大きい請求項1に記載のトリポード型等速自在継手。
【請求項3】
前記ローラが円筒面状外周面を有し、
各トラック溝に、継手円周方向に対向し、互いに平行な平坦面からなる一対のローラ案内面が設けられ、
前記ローラ案内面の幅方向両側に、前記ローラにその軸心方向両側から当接可能な一対のガイド面を設けた請求項1又は2に記載のトリポード型等速自在継手。
【請求項4】
前記インナリングの内周面のうち、前記円筒部の継手半径方向外側に、前記円筒部よりも内径側に突出し、前記脚軸の外周面の最大径よりも小さい内径を有する他の環状突起を設けた請求項1又は2に記載のトリポード型等速自在継手。
【請求項5】
前記ローラと前記インナリングとの間に配された複数の転動体を有する請求項1又は2に記載のトリポード型等速自在継手。
【請求項6】
前記複数の転動体が、前記ローラと前記インナリングとの間に総ころ状態で配された複数の針状ころである請求項5に記載のトリポード型等速自在継手。
発明の詳細な説明
【技術分野】
【0001】
本発明は、トリポード型等速自在継手に関する。
続きを表示(約 1,800 文字)
【背景技術】
【0002】
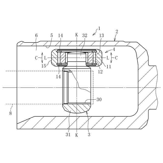
自動車の動力伝達系で使用されるドライブシャフトにおいては、インボード側(車幅方向の中央側)に摺動式等速自在継手を設け、アウトボード側(車幅方向の外側)に固定式等速自在継手を設ける場合が多い。ここでいう摺動式等速自在継手は、二軸間の角度変位および軸方向相対移動の双方を許容するものであり、固定式等速自在継手は、二軸間での角度変位を許容するが、二軸間の軸方向相対移動は許容しないものである。
【0003】
摺動式等速自在継手としてトリポード型等速自在継手が公知である。トリポード型等速自在継手としては、シングルローラタイプとダブルローラタイプとが存在する。シングルローラタイプは、外側継手部材のトラック溝に挿入されるローラを、トリポード部材の脚軸に複数の針状ころを介して回転可能に取り付けたものである。ダブルローラタイプは、外側継手部材のトラック溝に挿入されるローラと、トリポード部材の脚軸に外嵌して前記ローラを回転自在に支持するインナリングとを備えるものである。ダブルローラタイプは、ローラを脚軸に対して揺動させることが可能となるため、シングルローラタイプに比べ、誘起スラスト(継手内部での部品間の摩擦により誘起される軸力)とスライド抵抗をそれぞれ低減できるという利点を有する。
【0004】
例えば下記の特許文献1には、図11に示すようなダブルローラタイプのトリポード型等速自在継手が示されている。この等速自在継手では、トリポード部材102の脚軸104の外周面が球状とされ、この球状外周面にインナリング110の円筒面状内周面が嵌合している。
【0005】
図12に示すように、インナリング110とローラ111との間には複数の針状ころ112が配され、これらが止め輪117で一体化されてローラユニット109を構成している。インナリング110の円筒状内周面の幅方向(図12の上下方向)両端には、環状突起115が設けられている。この環状突起115により、トリポード部材102の脚軸104に対するインナリング110の幅方向移動が規制される。これにより、トリポード型等速自在継手の組立時に、インナリング110、ローラ111、及び針状ころ112を含むローラユニット109の、トリポード部材102の脚軸104から抜け落ちが規制される。
【0006】
また、下記の特許文献2には、インナリングの内周面の幅方向両端部に、面取り部及び膨出部を設けることで、ローラユニットのトリポード部材からの抜け落ちを防止している。
【先行技術文献】
【特許文献】
【0007】
特開2000-297814号公報
特開2007-177994号公報
【発明の概要】
【発明が解決しようとする課題】
【0008】
図11に示すトリポード型等速自在継手を組み立てる際には、トリポード部材102の脚軸104を、インナリング110の内周に圧入して環状突起115を乗り越えさせる必要がある。この種のトリポード型等速自在継手では、トリポード部材102の脚軸104の球状外周面の横断面形状(円)が、インナリング110の内周面の横断面形状(円)と略一致している。この場合、インナリング110の内周に脚軸104を圧入する際に、脚軸104の球状外周面とインナリング110の環状突起115とが全周で干渉するため、大きな圧入荷重が必要となり、組立性が低下する。
【0009】
一方、上記特許文献2のように、インナリングの内周面に面取り部及び膨出部を設ければ、圧入が不要となるため、圧入による組立性の低下を回避できる。しかし、インナリングの形状が複雑になるため、加工工数が多くなり製造コストが嵩む。また、ローラユニットを傾斜させながらトリポード部材に組み付ける必要があるため、組立方法が複雑になる。
【0010】
そこで、本発明は、ダブルローラタイプのトリポード型等速自在継手において、組立性の低下や製造コストの高騰を招くことなく、トリポード部材の脚軸からのローラユニットの脱落を防止することを目的とする。
【課題を解決するための手段】
(【0011】以降は省略されています)
この特許をJ-PlatPat(特許庁公式サイト)で参照する
関連特許
NTN株式会社
基板
24日前
NTN株式会社
玉軸受
11日前
NTN株式会社
玉軸受
25日前
NTN株式会社
ハンド
19日前
NTN株式会社
把持装置
19日前
NTN株式会社
軸受装置
1か月前
NTN株式会社
把持装置
19日前
NTN株式会社
軸受装置
11日前
NTN株式会社
軸受装置
11日前
NTN株式会社
焼結軸受
11日前
NTN株式会社
軸受装置
11日前
NTN株式会社
軸受装置
11日前
NTN株式会社
作業装置
17日前
NTN株式会社
密封装置
17日前
NTN株式会社
転がり軸受
12日前
NTN株式会社
転がり軸受
25日前
NTN株式会社
転がり軸受
19日前
NTN株式会社
荷積込装置
12日前
NTN株式会社
転がり軸受
11日前
NTN株式会社
回転伝達装置
12日前
NTN株式会社
シール付軸受
17日前
NTN株式会社
状態監視装置
18日前
NTN株式会社
等速自在継手
1か月前
NTN株式会社
回転伝達装置
17日前
NTN株式会社
回転伝達装置
12日前
NTN株式会社
基板取付構造
1か月前
NTN株式会社
保持器付きころ
21日前
NTN株式会社
モータユニット
21日前
NTN株式会社
円すいころ軸受
24日前
NTN株式会社
車輪用軸受装置
17日前
NTN株式会社
車輪用軸受装置
12日前
NTN株式会社
リンク作動装置
13日前
NTN株式会社
軸受装置及び間座
12日前
NTN株式会社
電動オイルポンプ
18日前
NTN株式会社
プランマブロック
1か月前
NTN株式会社
状態監視システム
18日前
続きを見る
他の特許を見る