TOP
|
特許
|
意匠
|
商標
特許ウォッチ
Twitter
他の特許を見る
公開番号
2025139883
公報種別
公開特許公報(A)
公開日
2025-09-29
出願番号
2024038965
出願日
2024-03-13
発明の名称
電動オイルポンプおよび電動オイルポンプの起動方法
出願人
NTN株式会社
代理人
個人
,
個人
,
個人
,
個人
,
個人
主分類
F04C
15/00 20060101AFI20250919BHJP(液体用容積形機械;液体または圧縮性流体用ポンプ)
要約
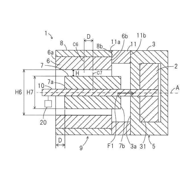
【課題】ポンプロータの固着を解消する電動オイルポンプおよび電動オイルポンプの起動方法を提供する。
【解決手段】この電動オイルポンプ(1)は、ポンプロータ(2)と前記ポンプロータ(2)を収容するポンプハウジング(3)とを有するオイルポンプ部(5)と、モータステータ(6)とモータロータ(7)と前記モータステータ(6)および前記モータロータ(7)を収容するモータハウジング(8)とを有するモータ部(9)とを備える。前記モータロータ(7)から突出した回転軸が前記ポンプロータ(2)に接続されており、前記モータステータ(6)に対して前記モータロータ(7)が軸方向にオフセットしている。
【選択図】図1
特許請求の範囲
【請求項1】
ポンプロータと前記ポンプロータを収容するポンプハウジングとを有するオイルポンプ部と、
モータステータとモータロータと前記モータステータおよび前記モータロータを収容するモータハウジングとを有するモータ部とを備えた電動オイルポンプであって、
前記モータロータから突出した回転軸が前記ポンプロータに接続されており、
前記モータステータに対して前記モータロータが軸方向にオフセットしている電動オイルポンプ。
続きを表示(約 760 文字)
【請求項2】
請求項1に記載の電動オイルポンプにおいて、前記モータハウジングと前記ポンプハウジングとが熱伝導率が高い高熱伝導部材を介して接続されている電動オイルポンプ。
【請求項3】
請求項1または2に記載の電動オイルポンプにおいて、前記モータ部は、前記モータロータの位相を検出する位相検出器を有する電動オイルポンプ。
【請求項4】
請求項2に記載の電動オイルポンプにおいて、前記高熱伝導部材は、前記モータハウジングおよび前記ポンプハウジングのいずれか一方と一体に形成されている電動オイルポンプ。
【請求項5】
ポンプロータと前記ポンプロータを収容するポンプハウジングとを有するオイルポンプ部と、
モータステータとモータロータと前記モータステータおよび前記モータロータを収容するモータハウジングとを有するモータ部とを備える電動オイルポンプの起動方法であって、
前記モータステータに対して前記モータロータを軸方向にオフセットさせておき、
前記電動オイルポンプを起動する際のモータ始動時に前記モータステータと前記モータロータとの間に斥力が働く位相で前記モータステータに通電する電動オイルポンプの起動方法。
【請求項6】
請求項5に記載の電動オイルポンプの起動方法において、モータ停止時に前記モータステータと前記モータロータとの間に引力が働く位相で通電し、停止中の前記モータロータの位相を所定の位置に矯正する電動オイルポンプの起動方法。
【請求項7】
請求項5または6に記載の電動オイルポンプの起動方法において、モータ始動前に、前記ポンプロータまたは前記ポンプハウジングを加熱する電動オイルポンプの起動方法。
発明の詳細な説明
【技術分野】
【0001】
本発明は、車両等に搭載する電動オイルポンプおよび電動オイルポンプの起動方法に関する。
続きを表示(約 1,100 文字)
【背景技術】
【0002】
電動オイルポンプは、例えば車両のオートマチックギア等、各種の油圧作動機器に対して油圧を供給する。電動オイルポンプは、モータにより駆動される。
【0003】
車両に搭載されるなど、広い温度範囲で使用される電動オイルポンプでは、寒冷地での始動時などの低温環境において粘度が増加したオイルによってポンプロータの固着が発生し、ポンプの始動が困難になる場合がある。
【0004】
そこで、固着して起動できないポンプに対して、電動モータを正逆交互に駆動することにより、固着状態を解消する方法がある(例えば、特許文献1)。
【0005】
また、低温起動時に通常作動時の制限を超えた電流で駆動することにより、固着を解消するのに十分なトルクを電動モータに発生させる方法もある(例えば、特許文献2)。
【先行技術文献】
【特許文献】
【0006】
特開2002-249059号公報
特開2008-238882号公報
【発明の概要】
【発明が解決しようとする課題】
【0007】
特許文献1のように電動モータを正逆交互に駆動するだけでは、起動と同じ方向のモータの回転力による剪断力しか固着面に与えることができず、固着状態を解消できないことがある。
【0008】
特許文献2のように通常作動時の制限を超えた電流で駆動するには、それに対応可能な回路やモータが必要であり、装置の大型化やコスト増加となる。また、固着面には起動と同じ方向のモータの回転力による剪断力しか与えることができず、固着状態を解消できないことがある。
【0009】
本発明は、上記課題を解決するためになされたものであって、装置の大型化やコスト増加することなくポンプロータの固着を解消する電動オイルポンプおよび電動オイルポンプの起動方法を提供することを目的とする。
【課題を解決するための手段】
【0010】
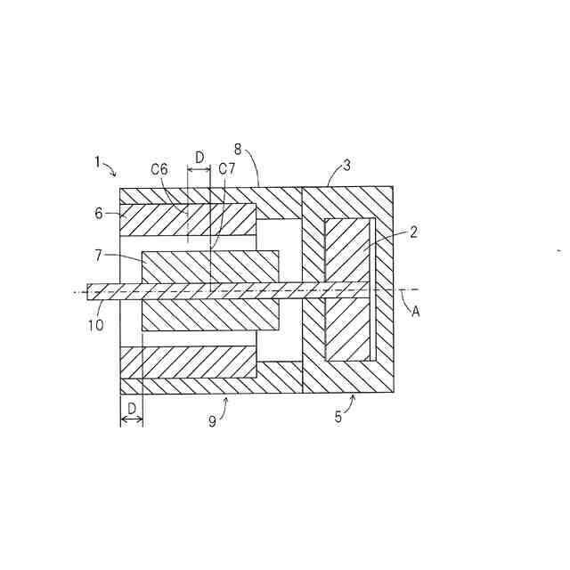
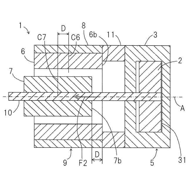
上記目的を達成するために、本発明に係る電動オイルポンプは、ポンプロータと前記ポンプロータを収容するポンプハウジングとを有するオイルポンプ部と、モータステータとモータロータと前記モータステータおよび前記モータロータを収容するモータハウジングとを有するモータ部とを備える。前記モータロータから突出した回転軸が前記ポンプロータに接続されており、前記モータステータに対して前記モータロータが軸方向にオフセットしている。ここで、「軸方向にオフセット」とは、モータステータの中央位置C6に対してモータロータの中央位置C7が軸方向にずれていることをいう。
(【0011】以降は省略されています)
この特許をJ-PlatPat(特許庁公式サイト)で参照する
関連特許
NTN株式会社
基板
9日前
NTN株式会社
玉軸受
18日前
NTN株式会社
玉軸受
10日前
NTN株式会社
ハンド
4日前
NTN株式会社
玉軸受
17日前
NTN株式会社
把持装置
4日前
NTN株式会社
軸受装置
16日前
NTN株式会社
密封装置
2日前
NTN株式会社
作業装置
2日前
NTN株式会社
把持装置
4日前
NTN株式会社
転がり軸受
4日前
NTN株式会社
転がり軸受
10日前
NTN株式会社
円筒ころ軸受
18日前
NTN株式会社
シール付軸受
2日前
NTN株式会社
回転伝達装置
2日前
NTN株式会社
等速自在継手
16日前
NTN株式会社
状態監視装置
3日前
NTN株式会社
軸受用保持器
1か月前
NTN株式会社
基板取付構造
16日前
NTN株式会社
円すいころ軸受
9日前
NTN株式会社
モータユニット
6日前
NTN株式会社
保持器付きころ
6日前
NTN株式会社
電動モータ装置
18日前
NTN株式会社
車輪用軸受装置
2日前
NTN株式会社
車輪用軸受装置
18日前
NTN株式会社
プランマブロック
16日前
NTN株式会社
状態監視システム
3日前
NTN株式会社
動力伝達シャフト
16日前
NTN株式会社
電動オイルポンプ
3日前
NTN株式会社
摺動式等速自在継手
16日前
NTN株式会社
摺動式等速自在継手
16日前
NTN株式会社
直動アクチュエータ
17日前
NTN株式会社
固定式等速自在継手
10日前
NTN株式会社
固定式等速自在継手
10日前
NTN株式会社
固定式等速自在継手
10日前
NTN株式会社
固定式等速自在継手
10日前
続きを見る
他の特許を見る