TOP
|
特許
|
意匠
|
商標
特許ウォッチ
Twitter
他の特許を見る
公開番号
2025139785
公報種別
公開特許公報(A)
公開日
2025-09-29
出願番号
2024038815
出願日
2024-03-13
発明の名称
二酸化炭素発生量の低減方法、及び低減システム
出願人
トヨタ自動車株式会社
代理人
個人
主分類
C12P
1/00 20060101AFI20250919BHJP(生化学;ビール;酒精;ぶどう酒;酢;微生物学;酵素学;突然変異または遺伝子工学)
要約
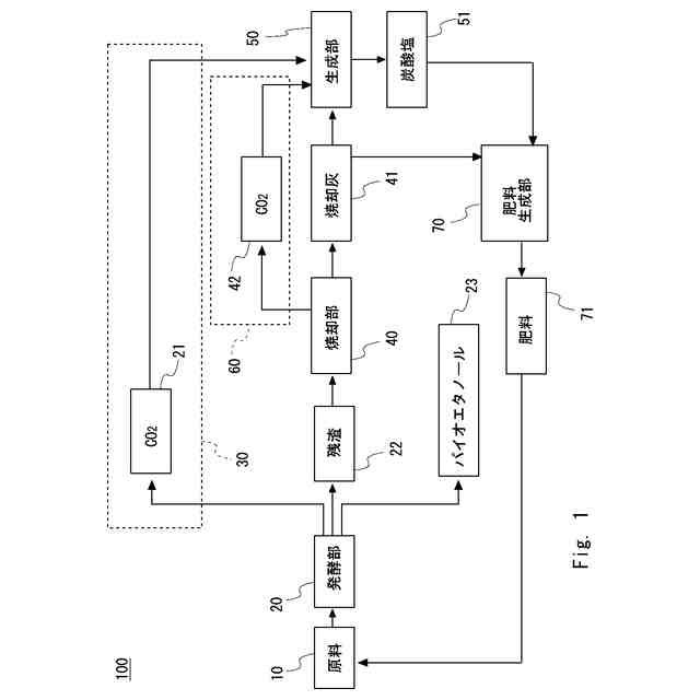
【課題】バイオエタノール製造プロセスにおいて、二酸化炭素発生量を低減する二酸化炭素発生量の低減方法、及び低減システムを提供する。
【解決手段】本開示の二酸化炭素発生量の低減方法は、植物由来の原料を発酵させてバイオエタノールを生成するステップと、バイオエタノールの生成時に発生する二酸化炭素を回収するステップと、前記バイオエタノールの残渣を焼却することで、焼却灰を生成するステップと、前記バイオエタノールの生成時に回収された前記二酸化炭素を前記焼却灰と反応させて、炭酸塩を生成するステップとを備えている。
【選択図】図2
特許請求の範囲
【請求項1】
植物由来の原料を発酵させてバイオエタノールを生成するステップと、
前記バイオエタノールの生成時に発生する二酸化炭素を回収するステップと、
前記バイオエタノールの残渣を焼却することで、焼却灰を生成するステップと、
前記バイオエタノールの生成時に回収された前記二酸化炭素を前記焼却灰と反応させて、炭酸塩を生成するステップとを備えた、
二酸化炭素発生量の低減方法。
続きを表示(約 460 文字)
【請求項2】
前記残渣の焼却時に発生する二酸化炭素を回収するステップと、
前記残渣の焼却時に回収された二酸化炭素を前記焼却灰と反応させて、前記炭酸塩を生成するステップをさらに備えた請求項1に記載の二酸化炭素発生量の低減方法。
【請求項3】
前記炭酸塩から肥料を生成する請求項1、又は2に記載の二酸化炭素発生量の低減方法。
【請求項4】
前記肥料をバイオエタノール生成の原料となる植物の肥料に用いる請求項3に記載の二酸化炭素発生量の低減方法。
【請求項5】
植物由来の原料を発酵させてバイオエタノールを生成する発酵手段と、
前記バイオエタノールの生成時に発生する二酸化炭素を回収する回収手段と、
前記バイオエタノールの残渣を焼却することで、焼却灰を生成する焼却手段と、
前記バイオエタノールの生成時に回収された前記二酸化炭素を前記焼却灰と反応させて、炭酸塩を生成する生成手段と、を備えた
二酸化炭素発生量の低減システム。
発明の詳細な説明
【技術分野】
【0001】
本開示は、二酸化炭素発生量の低減方法、及び低減システムに関する。
続きを表示(約 1,100 文字)
【背景技術】
【0002】
特許文献1にはバイオエタノールに関する技術が開示されている。バイオエタノールの原料は、サトウキビ等などの糖がある。あるいは、バイオエタノールの原料として、米、麦、トウモロコシ等の澱粉系原料がある。さらに、バイオエタノールの原料として、間伐材・建築廃材・稲わら・バガス糖のセルロース系原料がある。
【0003】
澱粉系原料を用いる場合、澱粉系原料を酵素で糖化する。また、セルロース系原料を用いる場合、セルロース系原料を加圧熱水・酸・アルカリで前処理し、糖化酵素等で糖化する。そして、原料の糖、又は原料を糖化したものをエタノール発酵、蒸留、脱水することにより、バイオエタノールが製造される。
【先行技術文献】
【特許文献】
【0004】
国際公開第2015/16375号
【発明の概要】
【発明が解決しようとする課題】
【0005】
バイオエタノールを製造する場合、糖等をエタノール発酵するときに、二酸化炭素が発生してしまう。近年の地球温暖化対策のため、二酸化炭素の発生量を削減する技術が望まれている。
【0006】
本開示は、上記課題に鑑みてなされたものであり、二酸化炭素発生量を効果的に低減する二酸化炭素発生量の低減方法、及び低減システムを提供することを目的とする。
【課題を解決するための手段】
【0007】
本開示にかかる二酸化炭素発生量の低減方法は、植物由来の原料を発酵させてバイオエタノールを生成するステップと、前記バイオエタノールの生成時に発生する二酸化炭素を回収するステップと、前記バイオエタノールの残渣を焼却することで、焼却灰を生成するステップと、前記バイオエタノールの生成時に回収された前記二酸化炭素を前記焼却灰と反応させて、炭酸塩を生成するステップとを備えている。
【0008】
上記の二酸化炭素発生量の低減方法は、前記残渣の焼却時に発生する二酸化炭素を回収するステップと、前記残渣の焼却時に回収された二酸化炭素を前記焼却灰と反応させて、前記炭酸塩を生成するステップをさらに備えていてもよい。
【0009】
上記の二酸化炭素発生量の低減方法において、前記炭酸塩から肥料を生成するようにしてもよい。
【0010】
上記の二酸化炭素発生量の低減方法において、前記肥料をバイオエタノール生成の原料となる植物の肥料に用いるようにしてもよい。
(【0011】以降は省略されています)
この特許をJ-PlatPat(特許庁公式サイト)で参照する
関連特許
トヨタ自動車株式会社
車体
1日前
トヨタ自動車株式会社
車両
12日前
トヨタ自動車株式会社
方法
8日前
トヨタ自動車株式会社
車両
今日
トヨタ自動車株式会社
方法
8日前
トヨタ自動車株式会社
方法
今日
トヨタ自動車株式会社
電池
5日前
トヨタ自動車株式会社
椅子
8日前
トヨタ自動車株式会社
車両
7日前
トヨタ自動車株式会社
車両
5日前
トヨタ自動車株式会社
加熱器
12日前
トヨタ自動車株式会社
固定子
13日前
トヨタ自動車株式会社
飛行体
5日前
トヨタ自動車株式会社
モータ
今日
トヨタ自動車株式会社
電磁弁
8日前
トヨタ自動車株式会社
モータ
6日前
トヨタ自動車株式会社
電動車
8日前
トヨタ自動車株式会社
蓄電装置
1日前
トヨタ自動車株式会社
制御装置
12日前
トヨタ自動車株式会社
搬送装置
5日前
トヨタ自動車株式会社
駆動装置
5日前
トヨタ自動車株式会社
端末装置
5日前
トヨタ自動車株式会社
充電設備
5日前
トヨタ自動車株式会社
車載装置
12日前
トヨタ自動車株式会社
車両構造
12日前
トヨタ自動車株式会社
乾燥装置
5日前
トヨタ自動車株式会社
製造方法
5日前
トヨタ自動車株式会社
電源装置
5日前
トヨタ自動車株式会社
判定装置
8日前
トヨタ自動車株式会社
蓄電装置
12日前
トヨタ自動車株式会社
通話装置
12日前
トヨタ自動車株式会社
電動車両
6日前
トヨタ自動車株式会社
冷却構造
今日
トヨタ自動車株式会社
監視装置
13日前
トヨタ自動車株式会社
報知装置
今日
トヨタ自動車株式会社
製造装置
13日前
続きを見る
他の特許を見る