TOP
|
特許
|
意匠
|
商標
特許ウォッチ
Twitter
他の特許を見る
10個以上の画像は省略されています。
公開番号
2025139342
公報種別
公開特許公報(A)
公開日
2025-09-26
出願番号
2024038225
出願日
2024-03-12
発明の名称
内視鏡の操作部、及び内視鏡
出願人
富士フイルム株式会社
代理人
個人
,
個人
,
個人
,
個人
,
個人
主分類
A61B
1/00 20060101AFI20250918BHJP(医学または獣医学;衛生学)
要約
【課題】硬度調整操作の操作性を向上できる内視鏡の操作部及び内視鏡を提供する。
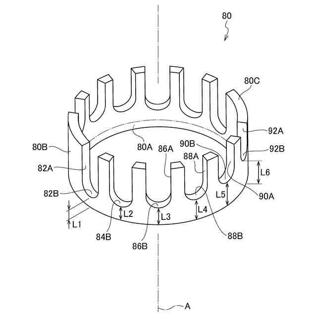
【解決手段】内視鏡10の手元操作部12は、カム溝を有するカムリング42と、カム溝52に係合するカムピン48を有するプッシュリング44と、を有するカム機構100と、カムリング42の一方の軸方向側に配置されたスペーサ80とを有する。スペーサ80の先端面80Aはカムリング42の基端面42Cと面接触可能であり、スペーサ80は先端面80Aから距離の異なる複数の溝底部82B・・・92Bを有する。固定ピン94が溝底部82B・・・92Bのいずれかと係合することで、スペーサ80の長手軸A方向の位置を規制する。
【選択図】図9
特許請求の範囲
【請求項1】
挿入部の硬度を変化させる硬度調整部材を操作する硬度調整操作機構を備える内視鏡の操作部であって、
前記硬度調整操作機構は、カム溝を有するカムリングと、前記カム溝に係合するカムピンを有する移動体と、を有し、前記カムリングの回動に応じて前記移動体を前記カムリングの軸方向に移動させることにより、前記硬度調整部材の硬度を調整操作し、
前記カムリングの前記軸方向の一方側に配置されたスペーサであって、前記カムリングにおける前記軸方向の一方側に形成されたカムリング端面と面接触可能なスペーサ端面を有し、且つ、前記スペーサ端面から前記軸方向の距離が互いに異なる複数のピン係合部を有するスペーサと、
前記ピン係合部で係合し、前記スペーサの前記軸方向の位置を規制する固定ピンと、
を備える内視鏡の操作部。
続きを表示(約 1,300 文字)
【請求項2】
前記スペーサは、外周面を有する円筒形状を有し、
前記スペーサは、前記外周面の周方向の互いに異なる位置に配置され、且つ前記スペーサ端面とは反対側の反対側端面に開放されたスリット状に形成され、前記軸方向の長さが互いに異なる複数の貫通溝を有し、
前記貫通溝は、前記スペーサ端面側に前記ピン係合部を構成する溝底部を有する、請求項1に記載の内視鏡の操作部。
【請求項3】
前記スペーサは前記軸方向に移動可能に構成され、
前記スペーサが前記カムリング側に最も近い位置に位置した場合に、前記固定ピンの少なくとも一部は、前記反対側端面よりも前記溝底部側に配置される、請求項2に記載の内視鏡の操作部。
【請求項4】
前記スペーサは、外周面を有する円筒形状を有し、
前記スペーサは、前記外周面の周方向の互いに異なる位置に配置され、且つ円形、楕円形、長円形、又は多角形の形状に形成された複数の貫通孔を有し、
前記貫通孔が前記ピン係合部を構成する、請求項1に記載の内視鏡の操作部。
【請求項5】
前記スペーサが前記カムリングより柔らかい材質で構成される、請求項1に記載の内視鏡の操作部。
【請求項6】
前記スペーサが樹脂で構成される、請求項5に記載の内視鏡の操作部。
【請求項7】
前記カムリングを回動させる操作を受け付ける操作リングと、
前記操作リングの内側に配置され、前記操作リングに係合するパッキンリングと、
を備え、
前記スペーサの一部は、前記パッキンリングの内側に位置する、請求項1に記載の内視鏡の操作部。
【請求項8】
前記カムピンと前記固定ピンとは前記軸方向に沿った方向に並んで配置される、請求項1に記載の内視鏡の操作部。
【請求項9】
挿入部の硬度を変化させる硬度調整部材を操作する硬度調整操作機構を備える内視鏡の操作部であって、
前記硬度調整操作機構は、カム溝を有するカムリングと、前記カム溝に係合するカムピンを有する移動体と、を有し、前記カムリングの回動に応じて前記移動体を前記カムリングの軸方向である軸方向に移動させることにより、前記硬度調整部材の硬度を調整操作し、
前記カムリングの前記軸方向の一方側に配置されたスペーサを備え、
前記スペーサは、外周面を有する円筒形状を有し、前記カムリング側に形成されたスペーサ端面を有し、
前記スペーサは、前記外周面の周方向の互いに異なる位置に配置され、且つ前記スペーサ端面とは反対側の反対側端面に開放されたスリット状に形成され、前記軸方向の長さが互いに異なる複数の貫通溝を有し、
前記貫通溝の前記スペーサ端面側となる溝底部で係合し、前記スペーサの前記軸方向の位置を規制する固定ピンを備える、
内視鏡の操作部。
【請求項10】
請求項1から9にいずれか一項に記載の内視鏡の操作部と、
前記挿入部と、
を備え、
前記硬度調整部材は、前記挿入部に挿通されたコイル及びワイヤにより構成される、
内視鏡。
発明の詳細な説明
【技術分野】
【0001】
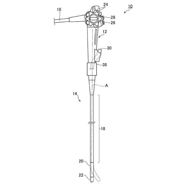
本発明は内視鏡の操作部及び内視鏡に係り、特に、挿入部の硬度を調整するための硬度調整部材に連結されたカム機構を有する内視鏡の操作部、及びその操作部を備えた内視鏡に関する。
続きを表示(約 1,100 文字)
【背景技術】
【0002】
挿入部に軟性部を有する内視鏡は、硬度調整手段により、軟性部の硬度を変化させることができる。医者等の術者は、患者等の被検者の体内へ内視鏡を挿入する際に、操作部に設けられた操作リング等を操作し、軟性部の硬度を調整しながら挿入を行っている。
【0003】
特許文献1の内視鏡は、硬度調整手段の一つとして、軟性部の硬度を調整するためのコイルと、コイルに連結されたカム機構と有している。このカム機構は、カム溝を有するカムリングと、コイルに連結されカムピンを有するプッシュリングと、直線溝を有するフレームと、から構成され、カムピンはカム溝と直線溝に係合するよう配置されている。
【0004】
カムリングを回動操作した場合、カムリングのカム溝とフレームの直線溝にガイドされてカムピンが直進移動することにより、プッシュリングが先端側に移動し、コイルが圧縮されて軟性部が硬化する。
【0005】
しかしながら、硬度調整手段を繰り返し使用するとコイルの塑性変形(ヘタリとも言う)により、カムリングを回動させても所望の圧縮力を印加できなくなり、硬度調整できる範囲が狭くなることがある。
【0006】
この対策として、特許文献1では、カムリングが第1カムリングと第2カムリングとで構成されている。この第1カムリングと第2カムリングとの相対位置を変化させることで、第1カムピンと第2カムピンとの距離を調整し、コイルへの圧縮力を調整している。
【0007】
カムリングが回動操作されると、第2カムリングの基端面と第2カムピンとが接触しながら回動する。これにより、カムリング全体の基端側への移動が規制され、第2カムピンとの距離が調整された第1カムピンがカム溝と直線溝に沿って先端側へと移動する。そして、第1カムピンの移動に伴ってプッシュリングが先端側に移動し、コイルが圧縮される。
【先行技術文献】
【特許文献】
【0008】
特開2016-067529号公報
【発明の概要】
【発明が解決しようとする課題】
【0009】
しかしながら、特許文献1のカム機構によってコイルの圧縮力を調整する内視鏡では、第2カムリングと第2カムピンとが線接触し、回動する構造であるため、硬度調整操作の操作性が悪くなる場合がある。
【0010】
すなわち、この構造では、接触点が限られるため、局所的に圧力が高くなり、回動操作おける滑らかさを欠き、操作性が悪くなるという問題がある。
(【0011】以降は省略されています)
この特許をJ-PlatPat(特許庁公式サイト)で参照する
関連特許
富士フイルム株式会社
内視鏡
今日
富士フイルム株式会社
内視鏡
今日
富士フイルム株式会社
内視鏡
今日
富士フイルム株式会社
内視鏡
今日
富士フイルム株式会社
内視鏡
今日
富士フイルム株式会社
積層体
2日前
富士フイルム株式会社
塗布装置
今日
富士フイルム株式会社
システム
今日
富士フイルム株式会社
情報処理装置
1日前
富士フイルム株式会社
放射線撮影装置
今日
富士フイルム株式会社
超音波診断装置
3日前
富士フイルム株式会社
積層体及び包装体
1日前
富士フイルム株式会社
計測装置及び方法
3日前
富士フイルム株式会社
内視鏡補助具の操作装置
今日
富士フイルム株式会社
異方導電性部材及び接合体
1日前
富士フイルム株式会社
マウント装置及び撮像装置
2日前
富士フイルム株式会社
超音波内視鏡及びシステム
今日
富士フイルム株式会社
混合物、組成物、及び化合物
今日
富士フイルム株式会社
回動抑制機構及びレンズ装置
1日前
富士フイルム株式会社
導電性フィルム、タッチパネル
1日前
富士フイルム株式会社
組成物、硬化物および光学部材
7日前
富士フイルム株式会社
フタロシアニン化合物の製造方法
今日
富士フイルム株式会社
感光性転写材料及びその製造方法
今日
富士フイルム株式会社
ウェブ切換装置及びウェブ切換方法
今日
富士フイルム株式会社
画像処理装置、方法およびプログラム
2日前
富士フイルム株式会社
医療支援装置、方法およびプログラム
今日
富士フイルム株式会社
硬化物、積層体、及び、半導体デバイス
1日前
富士フイルム株式会社
硬化物、積層体、及び、半導体デバイス
1日前
富士フイルム株式会社
硬化物、積層体、及び、半導体デバイス
1日前
富士フイルム株式会社
動作音抑制装置及びX線断層像撮影装置
1日前
富士フイルム株式会社
磁気共鳴撮像装置及び中心周波数の補正方法
7日前
富士フイルム株式会社
情報処理装置、情報処理方法、及びプログラム
今日
富士フイルム株式会社
制御装置、撮像装置、制御方法、及びプログラム
3日前
富士フイルム株式会社
制御装置、撮像装置、制御方法、及びプログラム
3日前
富士フイルム株式会社
制御装置、撮像装置、制御方法、及びプログラム
3日前
富士フイルム株式会社
医用画像撮影装置、及び医用画像撮影装置の制御方法
今日
続きを見る
他の特許を見る