TOP
|
特許
|
意匠
|
商標
特許ウォッチ
Twitter
他の特許を見る
公開番号
2025139019
公報種別
公開特許公報(A)
公開日
2025-09-26
出願番号
2024037718
出願日
2024-03-12
発明の名称
電池用ドライシートの製造装置及び電池用ドライシートの製造方法
出願人
TDK株式会社
代理人
個人
,
個人
,
個人
主分類
H01M
10/058 20100101AFI20250918BHJP(基本的電気素子)
要約
【課題】不良を発生しにくい、電池用ドライシートの製造装置及び電池用ドライシートの製造方法を提供することを目的とする。
【解決手段】本実施形態に係る電池用ドライシートの製造装置は、支持板と、ローラーと、ヒーターと、スクレーパーと、を備える。前記ヒーターは、前記被延伸物を加熱できるように構成されている。前記被延伸物を延伸する際に、前記支持面に対して垂直な垂直方向における前記スクレーパーの先端の高さ位置は、前記ローラーの中心軸の前記垂直方向の高さ位置と同じ、又は、前記ローラーの中心軸の前記垂直方向の高さ位置より前記支持面側にある。
【選択図】図1
特許請求の範囲
【請求項1】
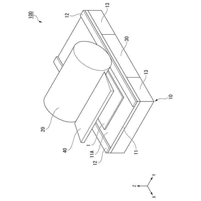
支持板と、ローラーと、ヒーターと、スクレーパーと、を備え、
前記支持板は、被延伸物が載置される支持面を有し、
前記支持面に対して平行な面に沿う第1方向において、前記支持板と前記ローラーとの相対的な位置関係は、変動可能に構成されており、
前記ヒーターは、前記被延伸物を加熱できるように構成されており、
前記スクレーパーは、前記被延伸物を延伸する際に、前記ローラーの表面と対向する位置に配置できるように構成され、
前記被延伸物を延伸する際に、前記支持面に対して垂直な垂直方向における前記スクレーパーの先端の高さ位置は、前記ローラーの中心軸の前記垂直方向の高さ位置と同じ、又は、前記ローラーの中心軸の前記垂直方向の高さ位置より前記支持面側にある、電池用ドライシートの製造装置。
続きを表示(約 510 文字)
【請求項2】
前記ローラーは、前記支持面に対向する位置にあり、前記支持面に対して垂直な垂直方向に少なくとも動作可能に構成されている、請求項1に記載の電池用ドライシートの製造装置。
【請求項3】
前記ヒーターは、前記支持板の前記支持面と反対側に配置されている、請求項1に記載の電池用ドライシートの製造装置。
【請求項4】
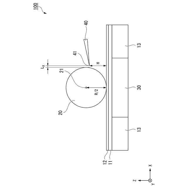
支持板に被延伸物を載置する載置工程と、
前記被延伸物を延伸する延伸工程と、
延伸した前記被延伸物の温度を35℃以上45℃以下にして、延伸した前記被延伸物を前記支持板から剥離する剥離工程と、を有し、
前記延伸工程において、前記被延伸物を延伸するローラーにスクレーパーを対向させ、
前記スクレーパーの先端の垂直方向の高さ位置を、前記ローラーの中心軸の前記垂直方向の高さ位置と同じ、又は、前記ローラーの中心軸の前記垂直方向の高さ位置より前記支持面側にする、電池用ドライシートの製造方法。
【請求項5】
前記延伸工程において、前記被延伸物の温度を35℃以上45℃以下にする、請求項4に記載の電池用ドライシートの製造方法。
発明の詳細な説明
【技術分野】
【0001】
本発明は、電池用ドライシートの製造装置及び電池用ドライシートの製造方法に関する。
続きを表示(約 1,200 文字)
【背景技術】
【0002】
携帯電子機器は、めざましいエレクトロニクス技術の発達に伴い、小型軽量化、薄型化、多機能化が図られている。電子機器の電源となる電池も、小型軽量化、薄型化、信頼性向上、安全性向上が強く望まれている。固体電解質を用いる全固体電池は、液系の電解質を用いるリチウムイオン二次電池より安全性が高く、注目されている。
【0003】
全固体電池は、正極ドライシートと負極ドライシートと固体電解質層用ドライシートを作製し、これらを積層することで作製できる。例えば、特許文献1は、燃料電池を構成するシートをホットプレスで成型することを開示している。
【先行技術文献】
【特許文献】
【0004】
特公平3-63183号公報
【発明の概要】
【発明が解決しようとする課題】
【0005】
ホットプレスのような成型手段は、製造効率に限界がある。一方で、ロールトゥロール方式にも適用可能な製造装置を用いて、単純に電池用ドライシートを作製してもうまくいかない場合がある。例えば、電池用ドライシートに破損が生じたり、電池用ドライシートに厚みムラが生じる場合がある。電池用ドライシートは、正極ドライシート、負極ドライシート及び固体電解質層用ドライシートの総称である。
【0006】
本開示は上記問題に鑑みてなされたものであり、不良を発生しにくい、電池用ドライシートの製造装置及び電池用ドライシートの製造方法を提供することを目的とする。
【課題を解決するための手段】
【0007】
上記課題を解決するため、以下の手段を提供する。
【0008】
第1の態様に係る電池用ドライシートの製造装置は、支持板と、ローラーと、ヒーターと、スクレーパーと、を備える。前記支持板は、被延伸物が載置される支持面を有する。前記支持面に対して平行な面に沿う第1方向において、前記支持板と前記ローラーとの相対的な位置関係は、変動可能に構成されている。前記ヒーターは、前記被延伸物を加熱できるように構成されている。前記スクレーパーは、前記被延伸物を延伸する際に、前記ローラーの表面と対向する位置に配置できるように構成されている。前記被延伸物を延伸する際に、前記支持面に対して垂直な垂直方向における前記スクレーパーの先端の高さ位置は、前記ローラーの中心軸の前記垂直方向の高さ位置と同じ、又は、前記ローラーの中心軸の前記垂直方向の高さ位置より前記支持面側にある。
【0009】
上記態様に係る電池用ドライシートの製造装置において、前記ローラーは、前記支持面に対向する位置にあり、前記支持面に対して垂直な垂直方向に少なくとも動作可能に構成されていてもよい。
【0010】
上記態様に係る電池用ドライシートの製造装置において、前記ヒーターは、前記支持板の前記支持面と反対側に配置されていてもよい。
(【0011】以降は省略されています)
この特許をJ-PlatPat(特許庁公式サイト)で参照する
関連特許
TDK株式会社
センサ
3日前
TDK株式会社
太陽電池
2か月前
TDK株式会社
電子部品
28日前
TDK株式会社
電子部品
2か月前
TDK株式会社
電子部品
1か月前
TDK株式会社
電子部品
2か月前
TDK株式会社
電子部品
2か月前
TDK株式会社
電子部品
7日前
TDK株式会社
電子部品
7日前
TDK株式会社
フィルタ
7日前
TDK株式会社
電子部品
1か月前
TDK株式会社
電子部品
3日前
TDK株式会社
電子部品
3日前
TDK株式会社
電子部品
1か月前
TDK株式会社
電子部品
28日前
TDK株式会社
コイル部品
2か月前
TDK株式会社
コイル部品
1か月前
TDK株式会社
コイル部品
7日前
TDK株式会社
コイル部品
7日前
TDK株式会社
磁気センサ
1か月前
TDK株式会社
磁気センサ
1か月前
TDK株式会社
ガスセンサ
3日前
TDK株式会社
コイル装置
11日前
TDK株式会社
コイル部品
11日前
TDK株式会社
コイル装置
1か月前
TDK株式会社
ガスセンサ
1か月前
TDK株式会社
コイル装置
1か月前
TDK株式会社
温度センサ
18日前
TDK株式会社
コイル部品
3日前
TDK株式会社
コイル部品
7日前
TDK株式会社
コイル部品
28日前
TDK株式会社
センサ装置
4日前
TDK株式会社
コイル部品
1か月前
TDK株式会社
コイル部品
3日前
TDK株式会社
コイル装置
2か月前
TDK株式会社
光検知装置
4日前
続きを見る
他の特許を見る