TOP
|
特許
|
意匠
|
商標
特許ウォッチ
Twitter
他の特許を見る
10個以上の画像は省略されています。
公開番号
2025138419
公報種別
公開特許公報(A)
公開日
2025-09-25
出願番号
2024037506
出願日
2024-03-11
発明の名称
作業機械、及び作業機械の制御システム
出願人
住友建機株式会社
代理人
個人
,
個人
主分類
E02F
9/16 20060101AFI20250917BHJP(水工;基礎;土砂の移送)
要約
【課題】静音性を向上させる。
【解決手段】本開示の一態様に係る作業機械は、下部走行体と、前記下部走行体に旋回自在の搭載される上部旋回体と、前記上部旋回体に設けられる運転室と、前記運転室の外側に配置される外側集音装置と、前記運転室の内側に配置される内側音出力装置と、操作装置が受け付けた操作を示す操作信号又は当該作業機械の状態を検出する検出部が出力する検出信号に基づいた、前記作業機械の動作に従って、前記外側集音装置が収集した音を前記内側音出力装置から出力するのを抑制する制御装置と、を備える。
【選択図】図4
特許請求の範囲
【請求項1】
下部走行体と、
前記下部走行体に旋回自在の搭載される上部旋回体と、
前記上部旋回体に設けられる運転室と、
前記運転室の外側に配置される外側集音装置と、
前記運転室の内側に配置される内側音出力装置と、
操作装置が受け付けた操作を示す操作信号又は当該作業機械の状態を検出する検出部が出力する検出信号に基づいた、前記作業機械の動作に従って、前記外側集音装置が収集した音を前記内側音出力装置から出力するのを抑制する制御装置と、
を備える作業機械。
続きを表示(約 1,500 文字)
【請求項2】
下部走行体と、
前記下部走行体に旋回自在の搭載される上部旋回体と、
前記上部旋回体に設けられる運転室と、
前記運転室の外側に配置される外側集音装置と、
前記運転室の内側に配置される内側音出力装置と、
通信装置と、
前記外側集音装置が収集した音を前記内側音出力装置から出力制御が可能な制御装置と、を備え、
前記制御装置は、前記通信装置を介して受信した他の作業機械の動作に関する情報で示される、前記他の作業機械の動作に従って、前記外側集音装置が収集した音を前記内側音出力装置から出力するのを抑制する、
作業機械。
【請求項3】
前記外側集音装置は複数設けられ、
前記制御装置は、複数の前記外側集音装置のうち、前記動作に対応する位置に設けられた前記外側集音装置から収集した音を、前記内側音出力装置から出力するのを抑制する、
請求項1又は2に記載の作業機械。
【請求項4】
前記制御装置は、複数の前記外側集音装置のうち、前記動作に対応する位置に設けられた前記外側集音装置以外の、前記外側集音装置から収集した音を、前記内側音出力装置から出力する、
請求項3に記載の作業機械。
【請求項5】
前記運転室の内側に配置される内側集音装置と、
前記運転室の外側に配置される外側音出力装置と、をさらに備え、
前記制御装置は、前記外側集音装置が収集した音を前記内側音出力装置から出力制御が可能であり、且つ、前記内側集音装置が収集した音を前記外側音出力装置から出力制御が可能である、
請求項1又は2に記載の作業機械。
【請求項6】
前記制御装置は、受け付けた操作に応じて、前記内側集音装置が収集した音を、前記外側音出力装置から出力する制御と、前記外側集音装置が収集した音を、前記内側音出力装置からの出力を制限する制御と、のうちいずれを行うかを切り替える、
請求項5に記載の作業機械。
【請求項7】
前記制御装置は、前記動作に従った通知を行う、
請求項1又は2に記載の作業機械。
【請求項8】
前記上部旋回体に取り付けられたアタッチメントと、をさらに備え、
前記制御装置は、前記アタッチメントの位置、及び、前記アタッチメントが移動する速度又は前記アタッチメントに対する操作方向に基づいた、前記アタッチメントの動作に従って、前記外側集音装置が収集した音を前記内側音出力装置から出力するのを抑制する、
請求項1に記載の作業機械。
【請求項9】
前記制御装置は、前記上部旋回体の旋回角速度又は操作方向に基づいた、前記上部旋回体の動作に従って、前記外側集音装置が収集した音を前記内側音出力装置から出力するのを抑制する、
請求項1に記載の作業機械。
【請求項10】
下部走行体と、前記下部走行体に旋回自在の搭載される上部旋回体と、前記上部旋回体に設けられる運転室と、前記運転室より外側に配置される外側集音装置と、を備える作業機械と、
前記作業機械を操作する操作席の周辺に設けられる、音出力装置と、
操作装置が受け付けた操作を示す操作信号、又は当該作業機械の状態を検出する検出部が出力する検出信号に基づいた前記作業機械の動作に従って、前記外側集音装置が収集した音を前記音出力装置から出力するのを抑制する制御装置と、
を備える作業機械の制御システム。
(【請求項11】以降は省略されています)
発明の詳細な説明
【技術分野】
【0001】
本発明は、作業機械、及び作業機械の制御システムに関する。
続きを表示(約 1,700 文字)
【背景技術】
【0002】
従来から、作業機械には、作業機械の周辺について集音するための集音装置と、収集された音声を、作業機械の運転席に出力するスピーカと、が設けられている場合がある。これにより、作業機械は、作業機械の周辺に存在する人の音声を、運転席に出力することを可能とする。
【先行技術文献】
【特許文献】
【0003】
特開2013-047427号公報
【発明の概要】
【発明が解決しようとする課題】
【0004】
ところで、集音装置で収集された音が、運転室の音出力装置から出力されている場合、作業機械又は作業機械の近傍で非定常雑音が発生した場合に、音出力装置から運転室に当該非定常雑音が出力されることになり、操作者にとって煩わしい場合がある。
【0005】
本発明の一態様は、音出力装置からの音の出力を抑制することで、操作者が存在する区画の静音性を向上させる。
【課題を解決するための手段】
【0006】
本発明の一態様に係る作業機械は、下部走行体と、前記下部走行体に旋回自在の搭載される上部旋回体と、前記上部旋回体に設けられる運転室と、前記運転室の外側に配置される外側集音装置と、前記運転室の内側に配置される内側音出力装置と、操作装置が受け付けた操作を示す操作信号又は当該作業機械の状態を検出する検出部が出力する検出信号に基づいた、前記作業機械の動作に従って、前記外側集音装置が収集した音を前記内側音出力装置から出力するのを抑制する制御装置と、を備える。
【発明の効果】
【0007】
本発明の一態様によれば、操作者が存在する区画における静音性を向上させる。
【図面の簡単な説明】
【0008】
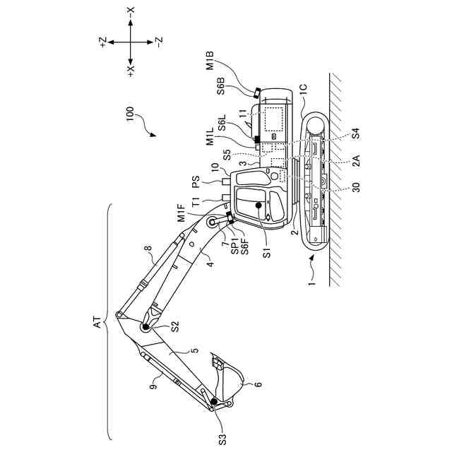
本開示の実施形態に係る作業機械の側面図である。
図1に示す作業機械の上面図である。
図1に示す作業機械に取り付けられる外部集音装置及び情報伝達装置の構成例を示す図である。
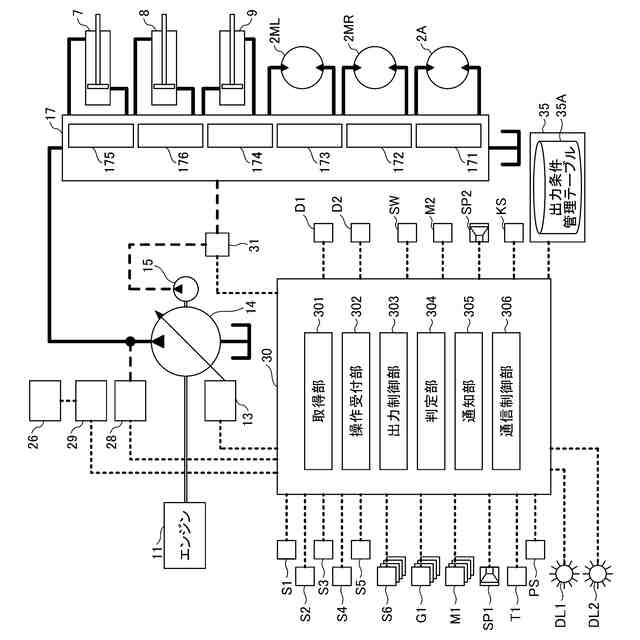
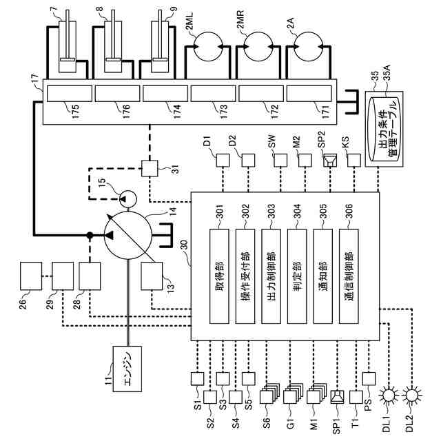
図1に示す作業機械の構成の一例を概略的に示す図である。
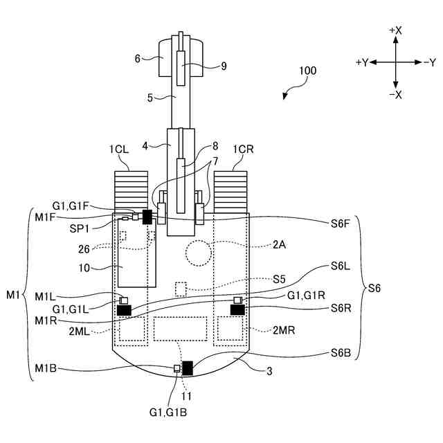
図1に示す作業機械の運転室内の上面図である。
操作者が搭乗している作業機械とその周囲にいる作業者の斜視図である。
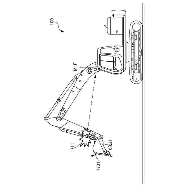
第1の実施形態に係る作業機械で非定常雑音が発生する状況を例示した説明図である。
第1の実施形態に係る作業機械で非定常雑音が発生する状況を例示した説明図である。
第1の実施形態に係る出力条件管理テーブルのテーブル構造を示した図である。
第1の実施形態に係るコントローラにおける、非定常雑音が発生した場合の外部集音装置から収集した音の出力を抑制するための処理手順を示したフローチャートである。
第2の実施形態に係るコントローラにおける、他の作業機械で非定常雑音が発生した場合の外部集音装置から収集した音の出力を抑制するための処理手順を示したフローチャートである。
第3の実施形態に係る作業機械の別の構成例の上面図である。
第4の実施形態に係る操作システムの構成例を示す概要図である。
【発明を実施するための形態】
【0009】
以下、本開示の実施形態について図面を参照して説明する。以下で説明する実施形態は、例示であり、発明を限定するものではない。本開示の実施形態における全ての特徴及びその組み合わせは、必ずしも発明の本質的なものであるとは限らない。なお、各図面において同一の又は対応する構成には同一の又は対応する符号を付し、重複する説明を省略する場合がある。
【0010】
本開示の実施形態に係る作業機械100は、ショベルである。作業機械100は、クレーン、アスファルトフィニッシャ、又はフォークリフト等のショベル以外の機械であってもよい。また、図示例では、作業機械100としてのショベルは、エンドアタッチメントとしてバケット6を備えた掘削機であるが、バケット6以外のエンドアタッチメントを備えた林業機械等の応用機であってもよい。
(【0011】以降は省略されています)
この特許をJ-PlatPat(特許庁公式サイト)で参照する
関連特許
住友建機株式会社
ショベル
2か月前
住友建機株式会社
作業機械、操作支援システム
9日前
住友建機株式会社
作業機械及び遠隔支援システム
2か月前
住友建機株式会社
作業機械、作業機械の操作システム
9日前
住友建機株式会社
作業機械及び作業機械の操作システム
9日前
住友建機株式会社
作業機械及び作業機械の操作システム
9日前
住友建機株式会社
作業機械、及び作業機械の制御システム
9日前
住友建機株式会社
作業機械、及び作業機械の制御システム
9日前
住友建機株式会社
作業機械、及び作業機械の制御システム
9日前
住友建機株式会社
作業機械、及び作業機械の制御システム
9日前
住友建機株式会社
作業機械、作業機械の制御システム、及び、作業機械の管理システム
9日前
JIG-SAW株式会社
施工システム、施工方法、および建設機械
25日前
個人
鋼管
16日前
FKS株式会社
擁壁
5日前
鈴健興業株式会社
敷板部材
1日前
株式会社クボタ
作業車
3日前
株式会社クボタ
作業車
3日前
株式会社奥村組
ケーソン工法
8日前
株式会社ネクステリア
平板基礎
1日前
個人
擁壁用ブロックおよび擁壁
2日前
株式会社大林組
建物の構造
2日前
株式会社武井工業所
積みブロック
25日前
株式会社奥村組
ケーソン刃口金物
8日前
株式会社熊谷組
密度計測方法
3日前
株式会社大林組
袋体付き排水パイプ
15日前
株式会社大林組
袋体付き排水パイプ
15日前
大和ハウス工業株式会社
杭抜き先端具
9日前
日立建機株式会社
作業機械
23日前
日立建機株式会社
建設機械
1日前
ヤマト発動機株式会社
浮遊型消波装置
5日前
日立建機株式会社
作業機械
5日前
ゼニヤ海洋サービス株式会社
通船ゲート
15日前
鹿島建設株式会社
接続方法および接続構造
15日前
株式会社フジタ
掘削機
24日前
JFEスチール株式会社
鋼管矢板の継手構造
5日前
日立建機株式会社
電動式作業機械
1日前
続きを見る
他の特許を見る