TOP
|
特許
|
意匠
|
商標
特許ウォッチ
Twitter
他の特許を見る
10個以上の画像は省略されています。
公開番号
2025138414
公報種別
公開特許公報(A)
公開日
2025-09-25
出願番号
2024037494
出願日
2024-03-11
発明の名称
作業機械、及び作業機械の制御システム
出願人
住友建機株式会社
代理人
個人
,
個人
主分類
E02F
9/26 20060101AFI20250917BHJP(水工;基礎;土砂の移送)
要約
【課題】周辺に存在する人とのコミュニケーションを容易にする。
【解決手段】本開示の一態様に係る作業機械は、下部走行体と、前記下部走行体に旋回自在の搭載される上部旋回体と、前記上部旋回体に設けられ、当該作業機械の周辺の音の方向を検出可能に設けられている集音装置と、前記作業機械の周辺に存在する人が発話している場合に、前記集音装置が検出した音の方向に基づいて、発話方向を報知するように構成されている制御装置と、を備える。
【選択図】図3
特許請求の範囲
【請求項1】
下部走行体と、
前記下部走行体に旋回自在の搭載される上部旋回体と、
前記上部旋回体に設けられ、当該作業機械の周辺の音の方向を検出可能に設けられている集音装置と、
前記作業機械の周辺に存在する人が発話している場合に、前記集音装置が検出した音の方向に基づいて、発話方向を報知するように構成されている制御装置と、
を備える作業機械。
続きを表示(約 1,200 文字)
【請求項2】
前記制御装置は、報知として、前記発話方向を表示装置に表示、運転室の内側に設けられた複数の音出力装置のうち、前記発話方向に対応する音出力装置から前記音の出力、複数の光源部のうち前記発話方向に対応する光源部の点灯、及び複数の操作装置のうち、前記発話方向に対応する操作装置の振動、のうちいずれか一つ以上を行う、
請求項1に記載の作業機械。
【請求項3】
前記制御装置は、前記作業機械を示す表示情報を基準として、前記発話方向を示す情報を、他の方向を示す情報と、表示態様を異ならせて前記表示装置に表示する、
請求項2に記載の作業機械。
【請求項4】
前記上部旋回体に撮像装置がさらに設けられ、
前記制御装置は、前記撮像装置により撮像された画像情報から、前記作業機械の上方から前記作業機械の周辺を表した俯瞰画像を表示し、前記俯瞰画像に含まれる、前記作業機械を示す表示情報を基準として、前記発話方向を示す情報を、他の方向を示す情報と、表示態様を異ならせて表示する、
請求項3に記載の作業機械。
【請求項5】
前記上部旋回体に複数の撮像装置がさらに設けられ、
前記制御装置は、前記複数の撮像装置により撮像された画像情報を、前記作業機械を基準として前記表示装置に表示し、前記発話方向を撮像した前記画像情報の表示態様を異ならせる、
請求項2に記載の作業機械。
【請求項6】
前記上部旋回体に撮像装置がさらに設けられ、
前記制御装置は、前記撮像装置により撮像された画像情報から検出された人の方向に基づいて、前記発話方向を補正するように構成されている、
請求項1に記載の作業機械。
【請求項7】
前記上部旋回体に撮像装置がさらに設けられ、
前記制御装置は、前記撮像装置により撮像された画像情報から検出された人の方向と、前記発話方向と、が異なる場合に、前記方向の報知を抑制する、
請求項1に記載の作業機械。
【請求項8】
前記集音装置は、複数設けられ、
前記複数の集音装置の各々は、前記作業機械の周辺の音の方向を検出可能に、前記上部旋回体の異なる位置に設けられている、
請求項1に記載の作業機械。
【請求項9】
前記制御装置は、複数の前記集音装置から入力された音信号に基づいて、前記作業機械から生じている音を抑制する、
請求項8に記載の作業機械。
【請求項10】
下部走行体と、前記下部走行体に旋回自在の搭載される上部旋回体と、前記上部旋回体に設けられ、当該作業機械の周辺の音の方向を検出可能に設けられている集音装置と、を備える作業機械と、
前記作業機械の周辺に存在する人が発話している場合に、前記集音装置が検出した音の方向に基づいて、発話方向を報知するように構成されている制御装置と、
を備える作業機械の制御システム。
発明の詳細な説明
【技術分野】
【0001】
本発明は、作業機械、及び作業機械の制御システムに関する。
続きを表示(約 1,700 文字)
【背景技術】
【0002】
従来から、ショベルの周辺では作業者が作業を行っていることが多い。そこで、ショベルでは、上部旋回体に搭載される撮像装置の画像に基づいて、ショベルの周辺に存在する人物を検出する技術が知られている(例えば、特許文献1参照)。
【先行技術文献】
【特許文献】
【0003】
特開2023-63993号公報
【発明の概要】
【発明が解決しようとする課題】
【0004】
ところで、作業機械で作業を行っている場合に、作業機械の周辺に存在する人物から話しかけられる場合がある。作業機械に備え付けられたマイクロフォンで検出された音は、スピーカから作業機械の操作者に出力される。これにより、操作者は、発話された内容を認識できる。しかしながら、作業機械の操作者は、発話した人が存在する方向が分からないため、どのような対応すればよいかわからない場合がある。
【0005】
本発明の一態様は、発話方向を報知することで、発話した人の特定を容易にして、発話した人とコミュニケーションをとるのを容易にさせる。
【課題を解決するための手段】
【0006】
本発明の一態様に係る作業機械は、下部走行体と、前記下部走行体に旋回自在の搭載される上部旋回体と、前記上部旋回体に設けられ、当該作業機械の周辺の音の方向を検出可能に設けられている集音装置と、前記作業機械の周辺に存在する人が発話している場合に、前記集音装置が検出した音の方向に基づいて、発話方向を報知するように構成されている制御装置と、を備える。
【発明の効果】
【0007】
本発明の一態様によれば、発話した人とコミュニケーションをとるのを容易にさせる。
【図面の簡単な説明】
【0008】
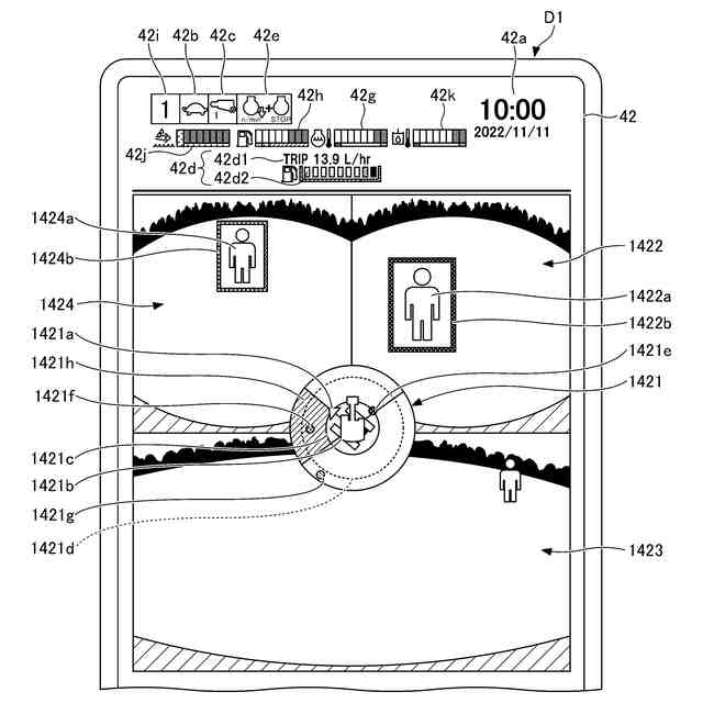
第1の実施形態に係る作業機械の側面図である。
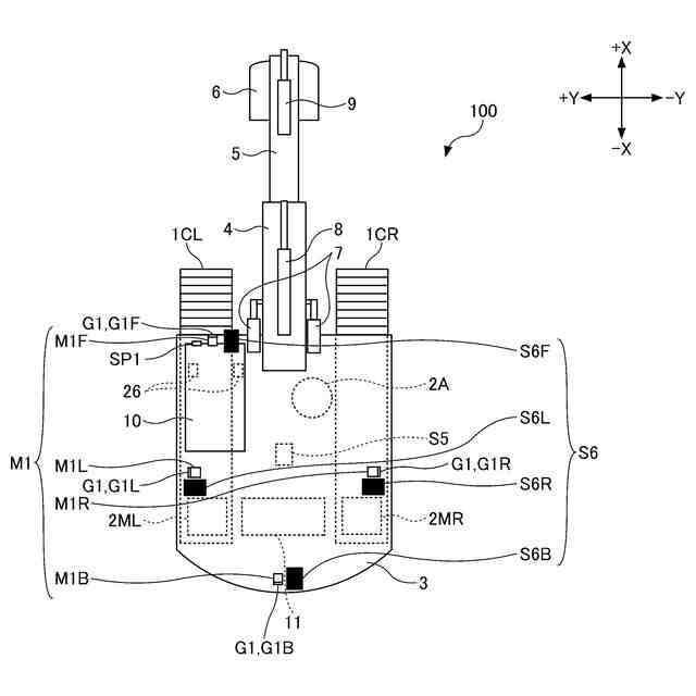
第1の実施形態に係る作業機械の上面図である。
図1の作業機械に取り付けられる外部集音装置及び情報伝達装置の構成例を示す図である。
第1の実施形態に係る作業機械の構成の一例を概略的に示す図である。
第1の実施形態に係る運転室の内部の上面図である。
第1の実施形態に係る作業機械に搭乗している操作者と、作業機械の周辺に存在する作業者と、の間における双方向会話を示した概念図である。
第1の本実施形態に係る表示装置が表示する表示画面の一例を示す図である。
第1の実施形態に係る出力制御部における、発話方向の補正例を説明した図である。
第1の実施形態に係る表示装置が表示する表示画面の一例を示す図である。
第1の実施形態に係る表示装置が表示する表示画面の一例を示す図である。
第1の実施形態に係るコントローラが発話方向を表示するための処理手順を示したフローチャートである。
第2の実施形態に係る作業機械の別の構成例の上面図である。
第3の実施形態に係る作業機械の遠隔支援システムの構成例を示す概略図である。
【発明を実施するための形態】
【0009】
以下、本発明の実施形態について図面を参照して説明する。また、以下で説明する実施形態は、発明を限定するものではなく例示であって、実施形態に記述される全ての特徴やその組み合わせは、必ずしも発明の本質的なものであるとは限らない。なお、各図面において同一の又は対応する構成には同一の又は対応する符号を付し、説明を省略することがある。
【0010】
本開示の実施形態に係る作業機械100は、ショベルである。作業機械100は、クレーン、アスファルトフィニッシャ、又はフォークリフト等のショベル以外の機械であってもよい。また、図示例では、作業機械100としてのショベルは、エンドアタッチメントとしてバケット6を備えた掘削機であるが、バケット6以外のエンドアタッチメントを備えた林業機械等の応用機であってもよい。
(【0011】以降は省略されています)
この特許をJ-PlatPat(特許庁公式サイト)で参照する
関連特許
住友建機株式会社
作業機械、操作支援システム
28日前
住友建機株式会社
作業機械、作業機械の操作システム
28日前
住友建機株式会社
作業機械及び作業機械の操作システム
28日前
住友建機株式会社
作業機械及び作業機械の操作システム
28日前
住友建機株式会社
作業機械、及び作業機械の制御システム
28日前
住友建機株式会社
作業機械、及び作業機械の制御システム
28日前
住友建機株式会社
作業機械、及び作業機械の制御システム
28日前
住友建機株式会社
作業機械、及び作業機械の制御システム
28日前
住友建機株式会社
作業機械、作業機械の制御システム、及び、作業機械の管理システム
28日前
JIG-SAW株式会社
施工システム、施工方法、および建設機械
1か月前
個人
建物の不同沈下の修正方法
今日
千代田工営株式会社
回転貫入杭
7日前
株式会社熊谷組
山留壁用親杭
13日前
日立建機株式会社
作業機械
13日前
日立建機株式会社
作業機械
13日前
日立建機株式会社
建設機械
14日前
日立建機株式会社
作業機械
13日前
日立建機株式会社
建設機械
14日前
日立建機株式会社
作業機械
14日前
日立建機株式会社
作業車両
9日前
日本車輌製造株式会社
建設機械
9日前
ヤンマーホールディングス株式会社
作業機械
6日前
ヤンマーホールディングス株式会社
作業機械
6日前
日立建機株式会社
作業機械
7日前
カナデビア株式会社
サクション基礎
14日前
ライト工業株式会社
鉄筋保持用治具
14日前
鹿島建設株式会社
接続方法および接続構造
9日前
株式会社次世代一次産業実践所
登山道の施工装置
1日前
株式会社三誠
建物の免震構造
今日
JFEスチール株式会社
鋼管矢板の継手構造
14日前
株式会社竹内製作所
作業用車両
13日前
株式会社竹内製作所
作業用車両
13日前
株式会社竹内製作所
作業用車両
13日前
株式会社竹内製作所
作業用車両
13日前
山形新興株式会社
建築物の基礎及び基礎成形型
8日前
株式会社日立建機ティエラ
建設機械
15日前
続きを見る
他の特許を見る