TOP
|
特許
|
意匠
|
商標
特許ウォッチ
Twitter
他の特許を見る
10個以上の画像は省略されています。
公開番号
2025137974
公報種別
公開特許公報(A)
公開日
2025-09-25
出願番号
2024036512
出願日
2024-03-11
発明の名称
管理装置、管理システム、管理方法、およびプログラム
出願人
日本電気株式会社
代理人
個人
,
個人
主分類
G06Q
10/10 20230101AFI20250917BHJP(計算;計数)
要約
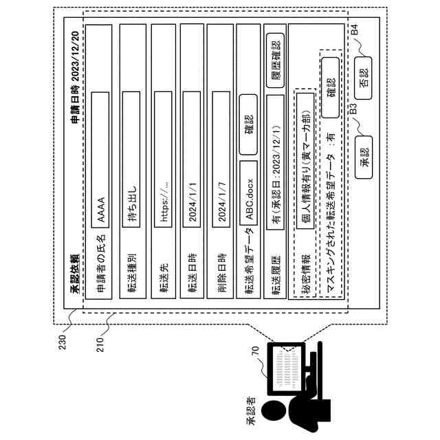
【課題】 承認申請を承認する承認者の作業負担を軽減することが可能な管理装置を提供する。
【解決手段】 転送希望データの転送を求める承認申請の入力を受け付ける申請受付部と、過去に転送された転送データの転送履歴が含まれる転送管理情報を用いて、前記転送希望データの転送履歴があるか否かを特定する転送履歴特定部と、前記転送希望データに秘密情報が含まれるか否かを特定する秘密情報特定部と、前記承認申請、前記転送履歴の特定結果、および前記秘密情報の特定結果を含む承認依頼を生成する承認依頼生成部と、承認者が操作する承認端末に前記承認依頼を送信する送信部と、を備える管理装置とする。
【選択図】 図12
特許請求の範囲
【請求項1】
転送希望データの転送を求める承認申請の入力を受け付ける申請受付手段と、
過去に転送された転送データの転送履歴が含まれる転送管理情報を用いて、前記転送希望データの転送履歴があるか否かを特定する転送履歴特定手段と、
前記転送希望データに秘密情報が含まれるか否かを特定する秘密情報特定手段と、
前記承認申請、前記転送履歴の特定結果、および前記秘密情報の特定結果を含む承認依頼を生成する承認依頼生成手段と、
承認者が操作する承認端末に前記承認依頼を送信する送信手段と、を備える管理装置。
続きを表示(約 1,600 文字)
【請求項2】
前記秘密情報特定手段は、
前記転送希望データに含まれる前記秘密情報を特定し、
前記承認依頼生成手段は、
前記転送希望データに含まれる前記秘密情報が明示された確認データを生成し、
前記確認データを前記承認依頼に含める、請求項1に記載の管理装置。
【請求項3】
前記承認依頼生成手段は、
前記転送希望データに含まれる前記秘密情報を明示するマーカが付された確認データを生成し、前記確認データを前記承認依頼に含める、請求項2に記載の管理装置。
【請求項4】
前記転送管理情報は、前記転送希望データと同じ前記転送データの転送回数および前記転送希望データと同じ前記転送データの転送日時を含み、
前記承認依頼生成手段は、
前記転送希望データと同じ前記転送データの転送回数または前記転送希望データと同じ前記転送データの転送日時の少なくともいずれか一方を含む前記承認依頼を生成する、請求項1に記載の管理装置。
【請求項5】
前記秘密情報特定手段は、
前記転送希望データに前記秘密情報が含まれると特定した場合、前記転送希望データに含まれる全ての情報が前記秘密情報であるか否かを特定し、前記転送希望データに含まれる全ての情報が前記秘密情報である場合、前記承認申請を棄却する、請求項1に記載の管理装置。
【請求項6】
前記承認依頼が承認された場合に、前記承認申請で指定された転送先へ前記転送希望データを送信する転送手段と、
前記転送希望データの転送が行われると、前記転送希望データのエントリを前記転送管理情報に追加する更新部と、をさらに備える請求項1に記載の管理装置。
【請求項7】
前記転送希望データに含まれる前記秘密情報をマスキングするマスキング手段をさらに備え、
前記秘密情報特定手段は、
前記転送希望データに含まれる前記秘密情報を特定し、
マスキング手段は、
特定された前記転送希望データに含まれる前記秘密情報をマスキングし、
承認依頼生成手段は、
マスキングされた前記転送希望データを含む前記承認依頼を生成し、
前記転送手段は、
前記秘密情報がマスキングされた前記転送希望データを送信する、請求項6に記載の管理装置。
【請求項8】
請求項6または7に記載の管理装置と、
前記承認依頼の承認に応じて前記管理装置から送信された前記転送希望データを記憶し、前記承認申請の申請者が使用する申請端末による前記転送希望データへのアクセスを受け付ける情報処理端末と、を備える管理システム。
【請求項9】
コンピュータが、
転送希望データの転送を求める承認申請の入力を受け付け、
過去に転送された転送データの転送履歴が含まれる転送管理情報を用いて、前記転送希望データの転送履歴があるか否かを特定し、
前記転送希望データに秘密情報が含まれるか否かを特定し、
前記承認申請、前記転送履歴の特定結果、および前記秘密情報の特定結果を含む承認依頼を生成し、
承認者が操作する承認端末に前記承認依頼を送信する管理方法。
【請求項10】
コンピュータに、
転送希望データの転送を求める承認申請の入力を受け付ける処理と、
過去に転送された転送データの転送履歴が含まれる転送管理情報を用いて、前記転送希望データの転送履歴があるか否かを特定する処理と、
前記転送希望データに秘密情報が含まれるか否かを特定する処理と、
前記承認申請、前記転送履歴の特定結果、および前記秘密情報の特定結果を含む承認依頼を生成する処理と、
承認者が操作する承認端末に前記承認依頼を送信する処理と、を実行させるプログラム。
発明の詳細な説明
【技術分野】
【0001】
本開示は、管理装置、管理システム、管理方法、およびプログラムに関する。
続きを表示(約 1,500 文字)
【背景技術】
【0002】
一般に、セキュリティ確保や情報漏洩防止等の観点から、組織などの閉域環境で使用されるデータは外部環境に転送できない。転送は、データの持ち出しおよび持ち込みを含む。持ち出しは、組織などの閉域環境から外部環境にデータを転送することである。持ち込みは、閉域環境のデータから外部環境に転送することである。
【0003】
しかしながら、業務の都合で、データの転送が必要になる場合がある。このような場合に、情報漏洩を防ぎつつデータの持ち出しを可能にするための技術が、特許文献1に開示されている。特許文献1の情報処理システムは、利用者からファイルの持ち出しの承認依頼があると、ファイル名や持ち出し先の情報を含む承認管理画面を管理者端末に表示させる。管理者端末を操作する承認者は、承認管理画面を確認し、承認申請の承認または否認を行う。情報処理システムは、承認申請が承認された場合に、データ持ち出しのための処理を行う。
【先行技術文献】
【特許文献】
【0004】
特開2013-037465号公報
【発明の概要】
【発明が解決しようとする課題】
【0005】
特許文献1の情報処理システムにおいては、セキュリティ確保や情報漏洩防止等の観点から、承認者は、承認申請されたデータを念入りに確認する必要がある。承認申請の件数が増えると、承認者の作業負担が大きくなる。
【0006】
本開示の目的は、承認者の作業負担を軽減することが可能な管理装置、管理システム、管理方法、およびプログラムを提供することである。
【課題を解決するための手段】
【0007】
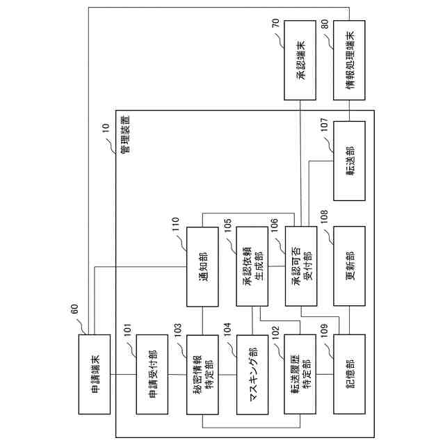
本開示の一態様の管理装置は、転送希望データの転送を求める承認申請の入力を受け付ける申請受付部と、過去に転送された転送データの転送履歴が含まれる転送管理情報を用いて、前記転送希望データの転送履歴があるか否かを特定する転送履歴特定部と、転送希望データに秘密情報が含まれるか否かを特定する秘密情報特定部と、承認申請、転送履歴の特定結果、および秘密情報の特定結果を含む承認依頼を生成する承認依頼生成部と、承認者が操作する承認端末に承認依頼を送信する送信部と、を備える。
【0008】
本開示の一態様の管理方法は、コンピュータが、転送希望データの転送を求める承認申請の入力を受け付け、過去に転送された転送データの転送履歴が含まれる転送管理情報を用いて、前記転送希望データの転送履歴があるか否かを特定し、転送希望データに秘密情報が含まれるか否かを特定し、承認申請、転送履歴の特定結果、および秘密情報の特定結果を含む承認依頼を生成し、承認者が操作する承認端末に承認依頼を送信する。
【0009】
本開示の一態様のプログラムは、コンピュータに、転送希望データの転送を求める承認申請の入力を受け付ける処理と、過去に転送された転送データの転送履歴が含まれる転送管理情報を用いて、前記転送希望データの転送履歴があるか否かを特定する処理と、転送希望データに秘密情報が含まれるか否かを特定する処理と、承認申請、転送履歴の特定結果、および秘密情報の特定結果を含む承認依頼を生成する処理と、承認者が操作する承認端末に承認依頼を送信する処理と、を実行させる。
【発明の効果】
【0010】
本開示によれば、承認申請を承認する承認者の作業負担を軽減することが可能な管理装置、管理システム、管理方法およびプログラムを提供することができる。
【図面の簡単な説明】
(【0011】以降は省略されています)
この特許をJ-PlatPat(特許庁公式サイト)で参照する
関連特許
日本電気株式会社
分析装置
4日前
日本電気株式会社
学習装置
28日前
日本電気株式会社
超伝導量子回路
24日前
日本電気株式会社
マルチバンドバラン
22日前
日本電気株式会社
送信装置および通信装置
今日
日本電気株式会社
検知装置および検知方法
4日前
日本電気株式会社
量子回路装置と制御方法
4日前
日本電気株式会社
量子回路装置と制御方法
4日前
日本電気株式会社
通信装置および通信方法
今日
日本電気株式会社
端末装置および無線通信方法
15日前
日本電気株式会社
分析方法および分析システム
1日前
日本電気株式会社
機器冷却装置及びその冷却方法
16日前
日本電気株式会社
処理装置、方法、及びプログラム
28日前
日本電気株式会社
共振器及びそれを備えた導波回路
2日前
日本電気株式会社
プログラム、算出装置、及び方法
16日前
日本電気株式会社
ピーク抑圧装置及びピーク抑圧方法
14日前
日本電気株式会社
推定装置、推定方法及びプログラム
7日前
日本電気株式会社
システム及びマイグレーション方法
4日前
日本電気株式会社
推定装置、推定方法及びプログラム
7日前
日本電気株式会社
画像管理システムおよび画像管理方法
2日前
日本電気株式会社
処理装置、処理方法、及びプログラム
4日前
日本電気株式会社
推定装置、推定方法、及び、記録媒体
1日前
日本電気株式会社
波長可変レーザ装置及びその構成方法
今日
日本電気株式会社
注文端末、注文受付方法及びプログラム
今日
日本電気株式会社
予測システム、予測方法及びプログラム
7日前
日本電気株式会社
通信システム及びパケット順序補正方法
15日前
日本電気株式会社
管理システム、管理方法及びプログラム
14日前
日本電気株式会社
通信装置、通信方法及び通信プログラム
1日前
日本電気株式会社
判定装置、判定方法、及び、プログラム
24日前
日本電気株式会社
映像伝送装置、映像伝送方法、プログラム
4日前
日本電気株式会社
画像選択装置、画像選択方法及び記憶媒体
2日前
日本電気株式会社
管理装置、管理方法および管理プログラム
2日前
日本電気株式会社
情報処理システム、処理方法、プログラム
4日前
日本電気株式会社
映像処理装置、映像処理方法、プログラム
4日前
日本電気株式会社
画像検索装置、画像検索方法及び記憶媒体
25日前
日本電気株式会社
情報処理装置、情報処理方法、プログラム
2日前
続きを見る
他の特許を見る