TOP
|
特許
|
意匠
|
商標
特許ウォッチ
Twitter
他の特許を見る
10個以上の画像は省略されています。
公開番号
2025136951
公報種別
公開特許公報(A)
公開日
2025-09-19
出願番号
2024035893
出願日
2024-03-08
発明の名称
アプリケータ
出願人
ヒロセ電機株式会社
代理人
個人
,
個人
,
個人
,
個人
,
個人
,
個人
,
個人
,
個人
主分類
H01R
43/048 20060101AFI20250911BHJP(基本的電気素子)
要約
【課題】アンビルとクリンパの高さ位置調整を容易に行うことが可能なアプリケータを提供する。
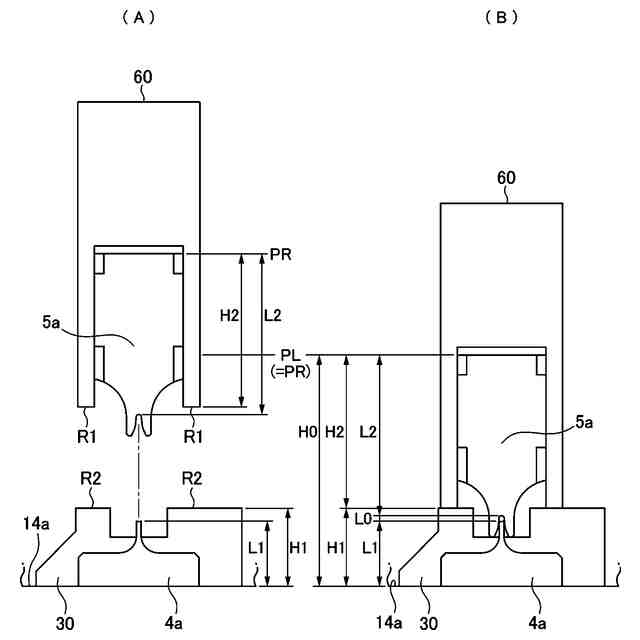
【解決手段】アプリケータ100は、アンビル4が取り付けられる本体部10と、クリンパ5が取り付けられるラム60と、を備え、アンビル4に対してクリンパ5が所定のクリアランスCLで接近することにより、端子金具91を加締めて電線に圧着するように構成されており、アプリケータ100は、ラム60が本体部10に対して接近するときにラム60の基準高さ位置PRが高さ制限位置PLよりも下方へ移動することを制限する制限機構Rを更に備えており、所定高さ寸法H0は、基準高さ位置PRが高さ制限位置PLに位置するときに、クリンパ5がアンビル4に対してクリアランスCLを介して近接するように設定されている。
【選択図】図13
特許請求の範囲
【請求項1】
端子金具に電線を圧着するためのアプリケータであって、
アンビルが取り付けられる本体部と、
クリンパが取り付けられ、前記本体部に対して上下方向に昇降動作可能なラムと、
を備え、
前記アプリケータは、前記ラムの昇降動作により、前記端子金具を載置する前記アンビルに対して前記クリンパが所定のクリアランスで接近することにより、前記アンビルと前記クリンパによって前記端子金具を加締めて、前記端子金具を電線に圧着するように構成されており、
前記アプリケータは、前記ラムが前記本体部に対して接近するときに前記ラムの基準高さ位置が前記本体部に対して所定高さ寸法だけ上方の高さ制限位置よりも下方へ移動することを制限する制限機構を更に備えており、前記所定高さ寸法は、前記基準高さ位置が前記高さ制限位置に位置するときに、前記クリンパが前記アンビルに対して前記クリアランスを介して近接するように設定されている、アプリケータ。
続きを表示(約 450 文字)
【請求項2】
前記制限機構は、前記ラムに設けられた第1制限部と、前記本体部に設けられた第2制限部と、を備え、前記基準高さ位置が前記高さ制限位置に位置するとき、前記第1制限部と前記第2制限部とが当接して、前記基準高さ位置の下方への移動を制限する、請求項1に記載のアプリケータ。
【請求項3】
前記第1制限部は、前記ラムの下面に1又は複数設けられており、前記第2制限部は、1又は複数の前記第1制限部の各々に対応して、前記本体部の上面に1又は複数設けられている、請求項2に記載のアプリケータ。
【請求項4】
前記第1制限部及び前記第2制限部は、鉛直方向に対して直交する水平面を有する、請求項2に記載のアプリケータ。
【請求項5】
前記基準高さ位置の鉛直方向の位置を微調整可能な位置調整機構を更に備えている、請求項1に記載のアプリケータ。
【請求項6】
前記ラムは、上下方向に駆動される駆動源に連結される、請求項1に記載のアプリケータ。
発明の詳細な説明
【技術分野】
【0001】
本発明は、端子金具に電線を圧着するためのアプリケータに関し、特に、複数の端子金具が帯状のキャリアにより連結された連鎖端子に電線を圧着するためのアプリケータに関する。
続きを表示(約 1,900 文字)
【背景技術】
【0002】
従来、被覆を剥いた電線を端子に連続的に圧着するためのアプリケータが知られている(例えば、特許文献1参照)。このようなアプリケータには、ベース部に対して上下方向に昇降動作可能なラムが設けられている。ラムには圧着機を構成する駆動源の駆動ロッドが連結され、駆動源によってラムが上下方向に駆動されるようになっている。ラムが上下方向に駆動されると、ベース部に配置されたアンビルと、ラムに配置されたクリンパとによって端子金具が加締められ、端子金具に電線が圧着される。
【0003】
アプリケータは、アンビル及びクリンパの左右方向(連鎖端子のキャリアの進行方向)、奥行き方向(キャリアに対して端子金具が延びる方向)、及び上下方向(又は高さ方向)の相対的な位置調整が可能に形成されている。また、圧着機の駆動源(例えば、電動機及びピストン・クランク機構)は、その駆動ロッドが設定された上死点と下死点との間を所定のストローク長で上下運動するように設定される。
【先行技術文献】
【特許文献】
【0004】
特開2017-111939号公報
【発明の概要】
【発明が解決しようとする課題】
【0005】
したがって、従来、アンビル及びクリンパの左右方向及び奥行き方向の位置調整は、アプリケータ内で完結することが可能である。一方、アンビル及びクリンパの上下方向の位置調整は、駆動源での設定(ストローク長、下死点位置等)と関連するため、アプリケータ内で完結させることができず、現物合わせの調整が必要であった。このため、従来、上下方向の位置調整は、先ず駆動源で下死点位置等の粗調整が行われていた。このとき、アプリケータでアンビルとクリンパが下死点でぶつかって破損しないように、駆動源の駆動ロッドの下死点がアプリケータに対して遠目に設定される。すなわち、アンビルに対してクリンパの上下方向の相対初期位置が十分に遠くに設定される。
【0006】
そして、電動機等の駆動源を手廻しで下死点まで移動させた状態で、アンビルとクリンパの離間距離(クリアランス)を目視等で確認する。そして、クリアランスを設定値に徐々に近づけるように、駆動源での位置調整(下死点位置等の調整)及び/又はアプリケータでの位置調整(アンビル及びクリンパの位置調整)を含む微調整が繰り返し行われる。その際、アンビルとクリンパによって端子金具を実際に加締めて電線を圧着し、その加締め状態により高さ位置調整の良否が判断される。このように、従来のアプリケータでは、位置調整や加締め作業を複数回繰り返す必要があり、アンビルとクリンパの高さ位置調整に長時間を要するという問題があった。
【0007】
また、従来のアプリケータでは、高さ位置調整が圧着機とアプリケータの両方に関連している。したがって、仮に時間経過に伴い加締め状態が不良になるという不具合が生じた場合には、装置全体のどの部分が不具合の原因なのかを突き止めることが非常に困難であるという問題もあった。
【0008】
本発明は、上述した問題点を解決するためになされたものであり、アンビルとクリンパの高さ位置調整を容易に行うことが可能なアプリケータを提供することを目的とする。
【課題を解決するための手段】
【0009】
本発明の1つの実施形態に係るアプリケータは、端子金具に電線を圧着するためのアプリケータであって、アンビルが取り付けられる本体部と、クリンパが取り付けられ、前記本体部に対して上下方向に昇降動作可能なラムと、を備え、アプリケータは、ラムの昇降動作により、端子金具を載置するアンビルに対してクリンパが所定のクリアランスで接近することにより、アンビルとクリンパによって端子金具を加締めて、端子金具を電線に圧着するように構成されており、アプリケータは、ラムが本体部に対して接近するときにラムの基準高さ位置が本体部に対して所定高さ寸法だけ上方の高さ制限位置よりも下方へ移動することを制限する制限機構を更に備えており、所定高さ寸法は、基準高さ位置が高さ制限位置に位置するときに、クリンパがアンビルに対してクリアランスを介して近接するように設定されている、ことを特徴とする。
【発明の効果】
【0010】
本発明によれば、アンビルとクリンパの高さ位置調整を容易に行うことが可能なアプリケータを提供することができる。
【図面の簡単な説明】
(【0011】以降は省略されています)
この特許をJ-PlatPat(特許庁公式サイト)で参照する
関連特許
ヒロセ電機株式会社
電気コネクタ
1か月前
ヒロセ電機株式会社
アプリケータ
1か月前
ヒロセ電機株式会社
平型導体用電気コネクタ
9日前
ヒロセ電機株式会社
平型導体用電気コネクタ
9日前
ヒロセ電機株式会社
回路基板用電気コネクタ
10日前
ヒロセ電機株式会社
回路基板用電気コネクタ
10日前
ヒロセ電機株式会社
回路基板用電気コネクタ
10日前
ヒロセ電機株式会社
回路基板用電気コネクタ
10日前
ヒロセ電機株式会社
コネクタ装置およびその製造方法
14日前
ヒロセ電機株式会社
コネクタ、相手コネクタおよびコネクタ装置
2日前
APB株式会社
蓄電セル
13日前
東ソー株式会社
絶縁電線
15日前
個人
フレキシブル電気化学素子
27日前
ローム株式会社
半導体装置
29日前
日新イオン機器株式会社
イオン源
23日前
マクセル株式会社
電源装置
7日前
ローム株式会社
半導体装置
14日前
株式会社東芝
端子台
7日前
株式会社ユーシン
操作装置
27日前
株式会社GSユアサ
蓄電設備
27日前
株式会社GSユアサ
蓄電設備
27日前
太陽誘電株式会社
コイル部品
27日前
株式会社ホロン
冷陰極電子源
21日前
株式会社GSユアサ
蓄電装置
今日
株式会社GSユアサ
蓄電装置
8日前
株式会社GSユアサ
蓄電装置
8日前
オムロン株式会社
電磁継電器
28日前
トヨタ自動車株式会社
蓄電装置
8日前
トヨタ自動車株式会社
蓄電装置
27日前
日新イオン機器株式会社
基板処理装置
10日前
トヨタ自動車株式会社
バッテリ
28日前
トヨタ自動車株式会社
冷却構造
15日前
北道電設株式会社
配電具カバー
13日前
ノリタケ株式会社
熱伝導シート
27日前
トヨタ自動車株式会社
バッテリ
13日前
日本特殊陶業株式会社
保持装置
16日前
続きを見る
他の特許を見る