TOP
|
特許
|
意匠
|
商標
特許ウォッチ
Twitter
他の特許を見る
10個以上の画像は省略されています。
公開番号
2025135644
公報種別
公開特許公報(A)
公開日
2025-09-19
出願番号
2024033493
出願日
2024-03-06
発明の名称
自己保持型ソレノイド装置
出願人
イーグル工業株式会社
代理人
個人
,
個人
,
個人
,
個人
,
個人
主分類
H01F
7/122 20060101AFI20250911BHJP(基本的電気素子)
要約
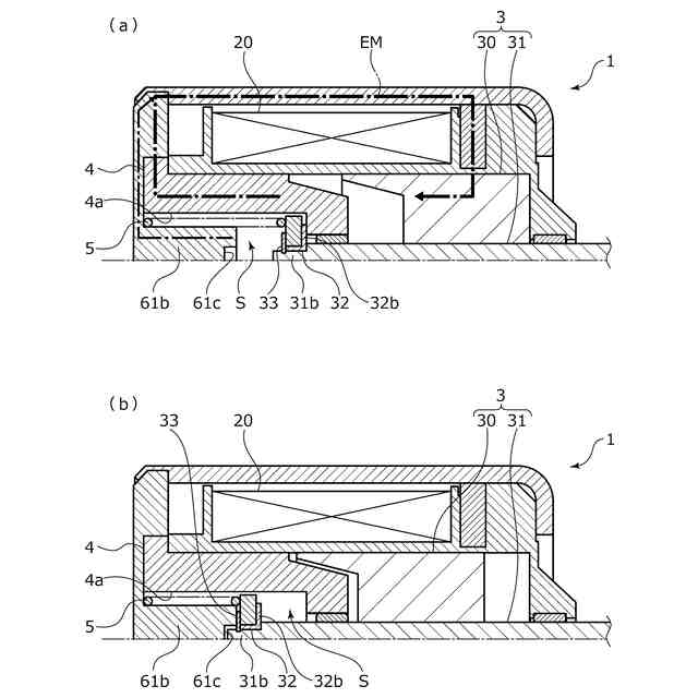
【課題】可動鉄心と固定鉄心の形状に制約が少ない自己保持型ソレノイド装置を提供する。
【解決手段】可動鉄心3を2つの停止位置間で移動させる自己保持型ソレノイド装置1であって、可動鉄心3は、軸方向に突出する軸部31を有しており、固定鉄心4には、軸部31が挿通される軸孔4bが形成されており、軸孔4bを介して固定鉄心4の内部空間Sに挿通される軸部31に磁性体61bと引き合う永久磁石7が配置されている。
【選択図】図1
特許請求の範囲
【請求項1】
コイルと、可動鉄心と、固定鉄心と、永久磁石と備え、前記可動鉄心を2つの停止位置間で移動させる自己保持型ソレノイド装置であって、
前記可動鉄心は、軸方向に突出する軸部を有しており、
前記固定鉄心には、前記軸部が挿通される軸孔が形成されており、
前記軸孔を介して前記固定鉄心の内部空間に挿通される前記軸部に磁性体と引き合う前記永久磁石が配置されている自己保持型ソレノイド装置。
続きを表示(約 390 文字)
【請求項2】
前記磁性体は、前記固定鉄心の内部空間を塞ぐカバーの一部である請求項1に記載の自己保持型ソレノイド装置。
【請求項3】
前記磁性体は、前記カバーから突設される凸部である請求項2に記載の自己保持型ソレノイド装置。
【請求項4】
前記永久磁石は、前記可動鉄心が前記固定鉄心から離れた停止位置において前記固定鉄心に吸着されている請求項1ないし3のいずれかに記載の自己保持型ソレノイド装置。
【請求項5】
前記固定鉄心の内部空間には、前記可動鉄心を前記固定鉄心から離れる方向に付勢するスプリングが設けられ、
前記スプリングは、前記凸部に挿嵌配置されている請求項3に記載の自己保持型ソレノイド装置。
【請求項6】
前記スプリングは、前記凸部に外嵌配置されている請求項5に記載の自己保持型ソレノイド装置。
発明の詳細な説明
【技術分野】
【0001】
本発明は、可動鉄心により各種装置を作動させる自己保持型ソレノイド装置に関する。
続きを表示(約 1,400 文字)
【背景技術】
【0002】
様々な産業分野において弁や機械等の各種装置を作動させる手段として、ソレノイド装置が利用されている。ソレノイド装置は、コイルに通電したときの磁気作用によって往復動可能に収容された可動鉄心を駆動させることにより、各種装置を作動させるようになっている。
【0003】
一般的にソレノイド装置は、コイルと、固定鉄心と、可動鉄心と、を備え、コイルへの通電により固定鉄心と可動鉄心との間に磁力を発生させ、可動鉄心を固定鉄心に近づく方向に駆動させる。
【0004】
特許文献1に示されるソレノイド装置は、可動鉄心における固定鉄心との対向面に永久磁石が固定されており、コイルへの通電により可動鉄心が固定鉄心に近接すると、永久磁石の磁力により可動鉄心が固定鉄心に近づく方向に引き寄せられる構成となっており、コイルへの通電量を小さくすることができる。また、この永久磁石は、可動鉄心が固定鉄心に近接した停止位置において、その磁力によって固定鉄心に可動鉄心が吸着された状態を保持することにより、この間の通電を不要とすることができる、いわゆる自己保持機能を有している。
【先行技術文献】
【特許文献】
【0005】
特開2022-154312号公報(第4頁~第5頁、第1図)
【発明の概要】
【発明が解決しようとする課題】
【0006】
特許文献1のソレノイド装置は、可動鉄心と固定鉄心との間における磁束密度を効率化するために、可動鉄心と固定鉄心の対向箇所が入れ子状態の形状となるように構成されているものの、可動鉄心と固定鉄心との間に永久磁石が設けられているため、この入れ子状態の形状に制約が多くなってしまうという問題があった。
【0007】
本発明は、このような問題点に着目してなされたもので、可動鉄心と固定鉄心の形状に制約が少ない自己保持型ソレノイド装置を提供することを目的とする。
【課題を解決するための手段】
【0008】
前記課題を解決するために、本発明の自己保持型ソレノイド装置は、
コイルと、可動鉄心と、固定鉄心と、永久磁石と備え、前記可動鉄心を2つの停止位置間で移動させる自己保持型ソレノイド装置であって、
前記可動鉄心は、軸方向に突出する軸部を有しており、
前記固定鉄心には、前記軸部が挿通される軸孔が形成されており、
前記軸孔を介して前記固定鉄心の内部空間に挿通される前記軸部に磁性体と引き合う前記永久磁石が配置されている。
これによれば、永久磁石が固定鉄心の内部空間に配置されることにより、可動鉄心と固定鉄心の形状に制約が少ない自己保持型ソレノイド装置を提供できる。
【0009】
前記磁性体は、前記固定鉄心の内部空間を塞ぐカバーの一部であってもよい。
これによれば、固定鉄心の内部空間に配置された永久磁石と引き合う磁性体を容易に形成することができる。
【0010】
前記磁性体は、前記カバーから突設される凸部であってもよい。
これによれば、凸部の突出量によって可動鉄心のストローク量を調整することができる。
(【0011】以降は省略されています)
この特許をJ-PlatPat(特許庁公式サイト)で参照する
関連特許
イーグル工業株式会社
自己保持型ソレノイド装置
17日前
個人
安全なNAS電池
1か月前
東レ株式会社
多孔質炭素シート
26日前
個人
フリー型プラグ安全カバー
1か月前
日本発條株式会社
積層体
7日前
キヤノン株式会社
電子機器
26日前
ローム株式会社
半導体装置
5日前
ローム株式会社
半導体装置
26日前
エイブリック株式会社
半導体装置
28日前
エイブリック株式会社
半導体装置
28日前
ローム株式会社
半導体装置
5日前
個人
防雪防塵カバー
7日前
ローム株式会社
半導体装置
5日前
ローム株式会社
半導体装置
3日前
株式会社ティラド
面接触型熱交換器
18日前
株式会社GSユアサ
蓄電装置
1か月前
沖電気工業株式会社
アンテナ
1か月前
オムロン株式会社
電磁継電器
1か月前
株式会社ホロン
冷陰極電子源
3日前
ニチコン株式会社
コンデンサ
19日前
ニチコン株式会社
コンデンサ
19日前
東レ株式会社
ガス拡散層の製造方法
26日前
株式会社GSユアサ
蓄電装置
7日前
太陽誘電株式会社
全固体電池
3日前
個人
半導体パッケージ用ガラス基板
6日前
株式会社GSユアサ
蓄電装置
3日前
株式会社ヨコオ
コネクタ
28日前
日本特殊陶業株式会社
保持装置
7日前
トヨタ自動車株式会社
二次電池
7日前
日本特殊陶業株式会社
保持装置
3日前
日本特殊陶業株式会社
保持装置
3日前
ローム株式会社
電子装置
7日前
TDK株式会社
電子部品
3日前
マクセル株式会社
配列用マスク
18日前
日本特殊陶業株式会社
保持装置
1か月前
日本特殊陶業株式会社
保持装置
5日前
続きを見る
他の特許を見る