TOP
|
特許
|
意匠
|
商標
特許ウォッチ
Twitter
他の特許を見る
10個以上の画像は省略されています。
公開番号
2025135262
公報種別
公開特許公報(A)
公開日
2025-09-18
出願番号
2024033021
出願日
2024-03-05
発明の名称
衣類処理装置
出願人
東芝ライフスタイル株式会社
代理人
弁理士法人サトー
主分類
D06F
39/10 20060101AFI20250910BHJP(繊維または類似のものの処理;洗濯;他に分類されない可とう性材料)
要約
【課題】活性成分の生成効率を向上し、衣類の除菌・消臭効果を向上することができる衣類処理装置を提供する。
【解決手段】実施形態の衣類処理装置は、外箱と、外箱内部に設けられて排水部を有する水槽と、水槽の外部に設けられて排水部と、上方から水槽の内部に面する放水部とを接続する循環水路と、電極を有し、少なくとも電極が循環水路内に設けられた電気分解装置と、を備える。
また、衣類処理装置は、循環水路中において排水部の下流に設けられて水中の異物を捕集するフィルタ装置を備える。電気分解装置は、フィルタ装置の下流側であってかつ放水部の上流側に配置されている。
【選択図】図2
特許請求の範囲
【請求項1】
外箱と、
前記外箱内部に設けられて排水部を有する水槽と、
前記水槽の外部に設けられて前記排水部と、上方から前記水槽の内部に面する放水部とを接続する循環水路と、
電極を有し、少なくとも前記電極が前記循環水路の内部に設けられた電気分解装置と、を備える、
衣類処理装置。
続きを表示(約 990 文字)
【請求項2】
前記循環水路中において前記排水部の下流に設けられて水中の異物を捕集するフィルタ装置を備え、
前記電気分解装置は、前記フィルタ装置の下流側であってかつ前記放水部の上流側に配置されている、
請求項1に記載の衣類処理装置。
【請求項3】
前記循環水路中において前記排水部の下流に設けられて水中の異物を捕集するフィルタ装置を備え、
前記フィルタ装置は、前記循環水路内に機外からアクセス可能に設けられた収容部に着脱可能に収容されており、
前記電気分解装置は、前記収容部内に配置されている、
請求項1に記載の衣類処理装置。
【請求項4】
前記循環水路の途中に設けられ、前記排水部を介して前記水槽内の水をくみ上げて前記放水部に送るポンプを備え、
前記電気分解装置は、前記ポンプの下流側かつ前記放水部よりも上流側に配置されている、
請求項2に記載の衣類処理装置。
【請求項5】
前記循環水路の前記電気分解装置よりも下流側部分は、下流に進むほど上昇するように水平方向に対して傾斜している、
請求項1に記載の衣類処理装置。
【請求項6】
前記循環水路の底面を下方に窪ませて又は前記循環水路をU字状に曲げて形成された貯水部を備え、
前記電気分解装置は、前記貯水部に配置され、前記循環水路の前記貯水部の上流側部分の底面及び下流側部分の底面よりも鉛直方向下方に位置する、
請求項1に記載の衣類処理装置。
【請求項7】
前記電気分解装置は、前記水槽の最低水位よりも鉛直方向下方に配置されている、
請求項1に記載の衣類処理装置。
【請求項8】
前記電気分解装置の配置箇所における前記循環水路の流路面積は、前記電気分解装置より上流部分及び前記電気分解装置の下流部分の前記循環水路の流路面積よりも大きく設定されている、
請求項1に記載の衣類処理装置。
【請求項9】
前記循環水路の途中に設けられ、前記排水部を介して前記水槽内の水をくみ上げて前記放水部に送るポンプを備え、
前記ポンプは、前記循環水路中を10L/分以上の流量で水を循環させる、
請求項1に記載の衣類処理装置。
発明の詳細な説明
【技術分野】
【0001】
本発明の実施形態は、衣類処理装置に関する。
続きを表示(約 2,100 文字)
【背景技術】
【0002】
従来、洗濯に電気分解した水や軟水化した水を用いる洗濯機が検討されている。電解水や軟水を用いることにより、除菌・洗浄効果や、洗剤の溶解性の向上が期待される。
【0003】
例えば、特許文献1には、洗濯物を収容し水受け槽内に回転可能に設けられた洗濯槽と、前記洗濯槽を回転駆動する駆動手段と、前記水受け槽に洗濯水を給水する給水手段と、前記水受け槽内の洗濯水を排水する排水手段と、洗い、すすぎ、脱水の各工程を逐次制御する制御手段と、第1の発明の軟水化装置とを備えた洗濯機であって、通常粉末洗剤の中には、重量の1~3割のゼオライトが含まれ、洗い工程で用いる洗濯水のうち比較的少量で粉末洗剤を溶かして吸着経路にゼオライトを保持させると、比較的飽和度の低いゼオライトを擬似的なカラム状態に調製することができ、残りの洗濯水(硬水)が吸着経路に導入されると、常に比較的飽和度の低いゼオライトと接触を繰り返すことになり硬水成分の吸着除去(軟水化)が効率よくおこなわれ、結果的に、粉末洗剤に含まれる量のゼオライトで、十分な軟水化が可能となることが開示されている。
【先行技術文献】
【特許文献】
【0004】
特開2012-066198号公報
【発明の概要】
【発明が解決しようとする課題】
【0005】
電気分解による活性成分生成の効率向上の観点から、洗濯機内における電気分解装置の配置場所については検討の余地があった。
【0006】
活性成分の生成効率を向上し、衣類の除菌・消臭効果を向上することができる衣類処理装置を提供する。
【課題を解決するための手段】
【0007】
実施形態の衣類処理装置は、外箱と、前記外箱内部に設けられて排水部を有する水槽と、前記水槽の外部に設けられて前記排水部と、上方から前記水槽の内部に面する放水部とを接続する循環水路と、電極を有し、少なくとも前記電極が前記循環水路内に設けられた電気分解装置と、を備える。
【図面の簡単な説明】
【0008】
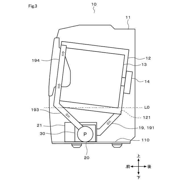
第1実施形態による洗濯機の一例の構成を示す斜視図
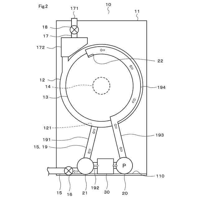
第1実施形態による洗濯機の一例の構成を概略的に示す図
第1実施形態による洗濯機の一例の構成を概略的に示す側面図
第1実施形態による洗濯機の一例の電気的な構成を示すブロック図
第1実施形態による洗濯機の電気分解装置を示す部分破断図
第1実施形態による洗濯機の電気分解装置と循環水路の一部の構成を概略的に示す図
第1実施形態による洗濯機の電気分解装置を図5のVII-VII線に沿って示す図
第2実施形態による洗濯機の一例の構成を概略的に示す図
第2実施形態による洗濯機の一例における収容部周辺の構成を概略的に示す図
第3実施形態による洗濯機の一例における収容部周辺の構成を概略的に示す図
第4実施形態による洗濯機の一例の構成を概略的に示す図
第4実施形態による洗濯機の一例の構成を概略的に示す側面図
第5実施形態による洗濯機の一例の電気分解装置と循環水路の一部の構成を概略的に示す図
第6実施形態による洗濯機の一例の電気分解装置が配置された貯水部の近傍の構成を概略的に示す図
第6実施形態による洗濯機のその他の例の電気分解装置が配置された貯水部の近傍の構成を概略的に示す図
第7実施形態による洗濯機の一例の電気分解装置が配置された拡大部の近傍の構成を概略的に示す図
第7実施形態による洗濯機のその他の例の電気分解装置が配置された拡大部の近傍の構成を概略的に示す図
【発明を実施するための形態】
【0009】
以下、複数の実施形態について図面を参照して説明する。複数の実施形態に共通の構成については、符号を共通にして説明を省略する。
【0010】
(第1実施形態)
第1実施形態について図1から図7を参照して説明する。衣類処理装置としての洗濯機10は、図1から図4に示すように、外箱11、水槽12、回転槽13、回転槽モータ14、排水経路15、排水弁16、給水経路17、給水弁18、循環水路19、循環ポンプ20、フィルタ装置21、電気分解装置30、及び制御装置40を備えている。なお図1において、洗濯機10の設置面側、つまり鉛直下側を洗濯機10の下側とし、設置面の反対側、つまり鉛直上側を洗濯機10の上側とする。また、洗濯機10を正面から見た場合の左右方向を、洗濯機10の左右方向とする。洗濯機10は、例えば回転槽13の回転軸が水平へ向かう横軸型又は後方へ向かって下降傾斜した斜め軸型のドラム式洗濯機である。本実施形態では、洗濯機10は斜め軸型のドラム式洗濯機である。なお、洗濯機10は、例えばヒートポンプ式やヒーター式の乾燥機能を有していても良いし、備えていなくてもよい。
(【0011】以降は省略されています)
この特許をJ-PlatPat(特許庁公式サイト)で参照する
関連特許
東レ株式会社
繊維断面の検査方法
16日前
株式会社青柳
染め加工方法
1か月前
東レ株式会社
ゴム補強用合成繊維コード
23日前
株式会社槌屋
加飾用表皮材
9日前
株式会社創和
ボックス状洗濯ネット
1か月前
リンナイ株式会社
衣類乾燥機
3日前
株式会社大阪ソーダ
撥水撥油性繊維処理剤
1か月前
個人
ポリエステル染色物の製造方法
4日前
リンテック株式会社
耐水性基材
8日前
個人
洗濯用洗剤容器の蓋
1か月前
大阪瓦斯株式会社
衣類乾燥機
1か月前
ダイニック株式会社
ターポリン、及びその製造方法
4日前
東芝ライフスタイル株式会社
洗濯機
29日前
個人
パイプ用係止、固定装置及び洗濯バサミ取り付け具
1か月前
株式会社コーワ
乾燥機のフィルター清掃装置及び乾燥機
8日前
東芝ライフスタイル株式会社
洗濯機
1か月前
東レ株式会社
人工皮革およびその製造方法ならびに雑貨
1か月前
東レ株式会社
抗菌性アクリル系繊維およびその製造方法
1か月前
住友金属鉱山株式会社
赤外線遮蔽繊維構造物
9日前
東芝ライフスタイル株式会社
衣類乾燥機
15日前
パナソニックIPマネジメント株式会社
洗濯機
1日前
パナソニックIPマネジメント株式会社
洗濯機
15日前
パナソニックIPマネジメント株式会社
洗濯機
16日前
パナソニックIPマネジメント株式会社
洗濯機
1か月前
パナソニックIPマネジメント株式会社
洗濯機
11日前
パナソニックIPマネジメント株式会社
洗濯機
1か月前
パナソニックIPマネジメント株式会社
洗濯機
1か月前
パナソニックIPマネジメント株式会社
洗濯機
1か月前
セイコーエプソン株式会社
繊維処理方法
1か月前
東芝ライフスタイル株式会社
衣類乾燥機
22日前
個人
生地を傷めることなく取り込めるローラー式洗濯バサミ
1か月前
東レ株式会社
人工皮革およびその製造方法ならびに衣服、雑貨
1か月前
東レ株式会社
人工皮革およびその製造方法ならびに衣料、雑貨
1か月前
トヨタ紡織株式会社
アイロン
22日前
東芝ライフスタイル株式会社
衣類処理装置
1か月前
東芝ライフスタイル株式会社
衣類処理装置
1か月前
続きを見る
他の特許を見る