TOP
|
特許
|
意匠
|
商標
特許ウォッチ
Twitter
他の特許を見る
公開番号
2025134479
公報種別
公開特許公報(A)
公開日
2025-09-17
出願番号
2024032412
出願日
2024-03-04
発明の名称
タイヤ加硫金型及び空気入りタイヤの製造方法
出願人
住友ゴム工業株式会社
代理人
個人
,
個人
,
個人
,
個人
,
個人
主分類
B29C
33/02 20060101AFI20250909BHJP(プラスチックの加工;可塑状態の物質の加工一般)
要約
【課題】タイヤ加硫中においてビード部の外面とビード成形面との間の空気を除去することが可能であるタイヤ加硫金型を提供する。
【解決手段】ビード部Tbを有する空気入りタイヤTを加硫成形するためのタイヤ加硫金型1である。ビード部Tbの外面に接触してビード部Tbを成形するためのビード成形面5を有するビードリング2を含む。ビード成形面5の少なくとも一部は、通気性を有する多孔質金属で形成された通気部6を含む。
【選択図】図3
特許請求の範囲
【請求項1】
ビード部を有する空気入りタイヤを加硫成形するためのタイヤ加硫金型であって、
前記ビード部の外面に接触して前記ビード部を成形するためのビード成形面を有するビードリングを含み、
前記ビード成形面の少なくとも一部は、通気性を有する多孔質金属で形成された通気部を含む、
タイヤ加硫金型。
続きを表示(約 970 文字)
【請求項2】
前記通気部は、金型周方向に環状に連続している、請求項1に記載のタイヤ加硫金型。
【請求項3】
前記空気入りタイヤは、リムフランジを有する正規リムに装着されるものであり、
前記リムフランジは、リム径位置からタイヤ半径方向に高さGを有し、
前記通気部は、金型半径方向の外縁を有し、
前記ビード成形面は、前記リム径に対応する第1位置を含み、
前記第1位置からの前記外縁の金型半径方向の高さHは、前記リムフランジの前記高さGの80%以下である 、請求項1に記載のタイヤ加硫金型。
【請求項4】
前記第1位置からの前記外縁の金型半径方向の高さHは、前記リムフランジの前記高さGの40%以上である 、請求項3に記載のタイヤ加硫金型。
【請求項5】
前記通気部は、金型半径方向の内縁を有し、
前記内縁は、前記第1位置よりも金型半径方向の内側に位置する、請求項3に記載のタイヤ加硫金型。
【請求項6】
前記多孔質金属の前記ビード成形面の法線方向の厚さは1mm以上である、請求項1ないし5のいずれか1項に記載のタイヤ加硫金型。
【請求項7】
前記多孔質金属の前記ビード成形面の法線方向の厚さは、前記ビードリングの前記通気部での前記ビード成形面の法線方向の厚さの50%以下である、請求項1ないし5のいずれか1項に記載のタイヤ加硫金型。
【請求項8】
前記ビードリングは、非多孔質金属からなる本体を含み、
前記本体は、前記ビード成形面側に凹部が形成されており、
前記凹部には、取り外し可能にインサートが装着されており、
前記インサートは、前記多孔質金属からなる、請求項1ないし5のいずれか1項に記載のタイヤ加硫金型。
【請求項9】
前記凹部は、底面を有し、
前記本体には、前記底面と金型外部とを連通する排気孔 が設けられる、請求項8に記載のタイヤ加硫金型。
【請求項10】
前記通気部は、前記ビード成形面側となる面に、穿孔部を有しない、請求項1ないし5のいずれか1項に記載のタイヤ加硫金型。
(【請求項11】以降は省略されています)
発明の詳細な説明
【技術分野】
【0001】
本発明は、タイヤ加硫金型に関する。
続きを表示(約 1,700 文字)
【背景技術】
【0002】
下記特許文献1には、空気入りタイヤを成形するためのタイヤ加硫金型が記載されている。前記タイヤ加硫金型は、タイヤのビード部の外面を成形するビード成形面を有するビードリングを含んでいる。前記ビードリングには、一端が金型外側に連通しかつ他端が前記ビード成形面で開口したベント穴を形成するベント流路と、前記ベント穴にのびる溝状のベントラインとが設けられている。このようなタイヤ加硫金型は、加硫成形時に、生タイヤと前記ビードリングとの間の空気を、前記ベントラインから前記ベント流路へと排出し、ひいては、ビード部の外面の成形不良を抑制することができる。
【先行技術文献】
【特許文献】
【0003】
特開2017-209958号公報
【発明の概要】
【発明が解決しようとする課題】
【0004】
上述のようなベントラインやベント穴を有するタイヤ加硫金型では、空気入りタイヤのビード部の外面に、前記ベントラインの反転模様であるタイヤ周方向に延びる凸部や、ベント流路に吸い込まれたスピューといった突起物を形成する。このような突起物は、空気入りタイヤのビード部とリムとの密着性を低下させ、リムズレや空気漏れを生じさせるおそれがある。
【0005】
本発明は、以上のような問題に鑑み案出なされたもので、上述のようなベント穴やベントラインを設けず、又は、これらを大幅に削減しても、タイヤ加硫中においてビード部の外面とビード成形面との間の空気を除去することが可能なタイヤ加硫金型を提供することを主たる課題としている。
【課題を解決するための手段】
【0006】
本発明は、ビード部を有する空気入りタイヤを加硫成形するためのタイヤ加硫金型であって、前記ビード部の外面に接触して前記ビード部を成形するためのビード成形面を有するビードリングを含み、前記ビード成形面の少なくとも一部は、通気性を有する多孔質金属で形成された通気部を含む、 タイヤ加硫金型である。
【発明の効果】
【0007】
本発明のタイヤ加硫金型は、上記の構成を採用することで、ベント穴やベントラインを設けず、又は、これらを大幅に削減しても、タイヤ加硫中においてビード部の外面とビード成形面との間の空気を除去することが可能である。
【図面の簡単な説明】
【0008】
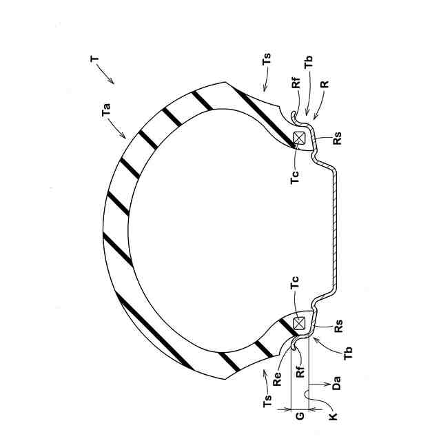
本発明の一実施形態を示す加硫金型の断面図である。
図1の加硫金型で製造された空気入りタイヤの横断面図である。
図1のビードリングの拡大図である。
図2の空気入りタイヤの部分斜視図である。
図3のビードリングの分解斜視図である。
【発明を実施するための形態】
【0009】
以下、本発明の実施の一形態が図面に基づき説明される。図面は、本発明の特徴を内包して記載されているが、本発明の理解を助けるために、誇張表現や、実際の構造の寸法比とは異なる表現が含まれている場合がある。また、各実施形態を通して、同一又は共通する要素については同一の符号が付されており、重複する説明が省略される。また、本明細書で説明されない構成には、周知の構成を適宜採用することができる。
【0010】
図1は、本発明の一実施形態を示すタイヤ加硫金型(以下、単に「加硫金型」という場合がある。)1の断面図である。図1には、加硫金型1の一部の断面が示される。図1に示されるように、本実施形態の加硫金型1は、その内側に、空気入りタイヤ(以下、単に「タイヤ」という場合がある。)Tの外面を成形する成形面1aを具えている。加硫前のタイヤ(以下、「生タイヤ」という場合がある)Tが、加硫金型1内で加熱されるとともに、内腔側から、膨張したブラダー(図示省略)によって成形面1a側に押圧(加硫成形)されることで、タイヤ(加硫済)Tが製造される。
(【0011】以降は省略されています)
この特許をJ-PlatPat(特許庁公式サイト)で参照する
関連特許
住友ゴム工業株式会社
タイヤ
25日前
住友ゴム工業株式会社
タイヤ
今日
住友ゴム工業株式会社
タイヤ
1か月前
住友ゴム工業株式会社
タイヤ
1か月前
住友ゴム工業株式会社
タイヤ
4日前
住友ゴム工業株式会社
タイヤ
27日前
住友ゴム工業株式会社
タイヤ
26日前
住友ゴム工業株式会社
タイヤ
5日前
住友ゴム工業株式会社
タイヤ
11日前
住友ゴム工業株式会社
三次元構造体
25日前
住友ゴム工業株式会社
ゴルフボール
1か月前
住友ゴム工業株式会社
ゴルフボール
今日
住友ゴム工業株式会社
ゴルフボール
1か月前
住友ゴム工業株式会社
重荷重用タイヤ
25日前
住友ゴム工業株式会社
空気入りタイヤ
26日前
住友ゴム工業株式会社
重荷重用タイヤ
1か月前
住友ゴム工業株式会社
空気入りタイヤ
1か月前
住友ゴム工業株式会社
試料の作製方法
1か月前
住友ゴム工業株式会社
重荷重用タイヤ
今日
住友ゴム工業株式会社
モデリング方法
5日前
住友ゴム工業株式会社
空気入りタイヤ
27日前
住友ゴム工業株式会社
空気入りタイヤ
27日前
住友ゴム工業株式会社
モデリング方法
5日前
住友ゴム工業株式会社
重荷重用タイヤ
25日前
住友ゴム工業株式会社
重荷重用タイヤ
25日前
住友ゴム工業株式会社
空気入りタイヤ
1か月前
住友ゴム工業株式会社
空気入りタイヤ
25日前
住友ゴム工業株式会社
光硬化性組成物
25日前
住友ゴム工業株式会社
ゴルフクラブヘッド
18日前
住友ゴム工業株式会社
自動二輪車用タイヤ
12日前
住友ゴム工業株式会社
ゴム組成物の劣化試験方法
27日前
住友ゴム工業株式会社
加硫ゴムの物性値の予測方法
今日
住友ゴム工業株式会社
タイヤの性能評価方法及び性能評価装置
15日前
住友ゴム工業株式会社
タイヤ性能評価方法及びタイヤ性能評価装置
今日
住友ゴム工業株式会社
タイヤ加硫金型及び空気入りタイヤの製造方法
27日前
住友ゴム工業株式会社
天然ゴムラテックス用凝固剤及び天然ゴムの製造方法
18日前
続きを見る
他の特許を見る