TOP
|
特許
|
意匠
|
商標
特許ウォッチ
Twitter
他の特許を見る
10個以上の画像は省略されています。
公開番号
2025134441
公報種別
公開特許公報(A)
公開日
2025-09-17
出願番号
2024032338
出願日
2024-03-04
発明の名称
浮体式原子力発電システム
出願人
Advanced Float株式会社
代理人
弁理士法人秀和特許事務所
主分類
G21C
1/00 20180101AFI20250909BHJP(核物理;核工学)
要約
【課題】本願は、炉心溶融に有利に対抗可能な浮体式原子力発電システムを開示する。
【解決手段】原子炉と、原子炉の熱によって発生した蒸気で駆動するタービン発電機と、原子炉とタービン発電機が配置されており、海上に係留される浮体と、を備え、浮体は、二重船殻構造によって浮体の船底部分に形成される船底バラストタンクのバラスト水で下側が満たされたコアキャッチャーを原子炉の下側に有する、浮体式原子力発電システムである。
【選択図】図8
特許請求の範囲
【請求項1】
原子炉と、
前記原子炉の熱によって発生した蒸気で駆動するタービン発電機と、
前記原子炉と前記タービン発電機が配置されており、海上に係留される浮体と、を備え、
前記浮体は、二重船殻構造によって前記浮体の船底部分に形成される船底バラストタンクのバラスト水で下側が満たされたコアキャッチャーを前記原子炉の下側に有する、
浮体式原子力発電システム。
続きを表示(約 280 文字)
【請求項2】
前記コアキャッチャーは、鋼鉄製であり、
前記原子炉が収まる格納容器内の底面部分を形成する鋼板と、
前記鋼板の下面において前記船底バラストタンク内に立設される伝熱板と、を有する、
請求項1に記載の浮体式原子力発電システム。
【請求項3】
前記浮体の周囲の水を前記格納容器内へ流入させる連通弁を有する、
請求項1に記載の浮体式原子力発電システム。
【請求項4】
前記浮体を沈没させる沈没手段を更に備える、
請求項1から3の何れか一項に記載の浮体式原子力発電システム。
発明の詳細な説明
【技術分野】
【0001】
本発明は、浮体式原子力発電システムに関する。
続きを表示(約 1,600 文字)
【背景技術】
【0002】
原子力発電システムには、地上に設置する形態のみならず、海上に浮かべる浮体式の形態も提案されている(例えば、特許文献1-3を参照)。
【先行技術文献】
【特許文献】
【0003】
特開昭63-151898号公報
特開昭63-151899号公報
特開昭52-149589号公報
【非特許文献】
【0004】
Buongiorno, J. et al. “The Offshore Floating Nuclear Plant Concept.” Nuclear Technology 194.1 (2016)
浮場式原子力発電所浮体構造物の地震応答特性(その2)-底部に空気室を有する浮体の上下免震特性- 電力中央研究所 萩原豊 他、1987/8/1
【発明の概要】
【発明が解決しようとする課題】
【0005】
原子力発電システムにおいて、炉心溶融事故は最も避けるべき事態である。よって、システムに備わる冷却手段がすべて喪失した場合であっても、海水等の注水を試みる必要がある。陸上に設置される原子力発電システムの場合、炉心溶融に対抗すべく海水の利用を試みるには、ポンプ等の動力が明らかに必要である。この点、原子力発電システムを浮体で海上に浮かべる形態であれば、炉心溶融に対抗するための海水の利用に関しては、陸上に設置される原子力発電システムより有利であるように思われる。しかしながら、陸上に設置される原子力発電システムをそのまま海上に浮かべた場合には、海水を有利に利用することができない。
【0006】
そこで、本願は、炉心溶融に有利に対抗可能な浮体式原子力発電システムを開示する。
【課題を解決するための手段】
【0007】
上記課題を解決するため、本発明では、二重船殻構造によって浮体の船底部分に形成される船底バラストタンクのバラスト水で下側が満たされたコアキャッチャーを原子炉の下側に設けることにした。
【0008】
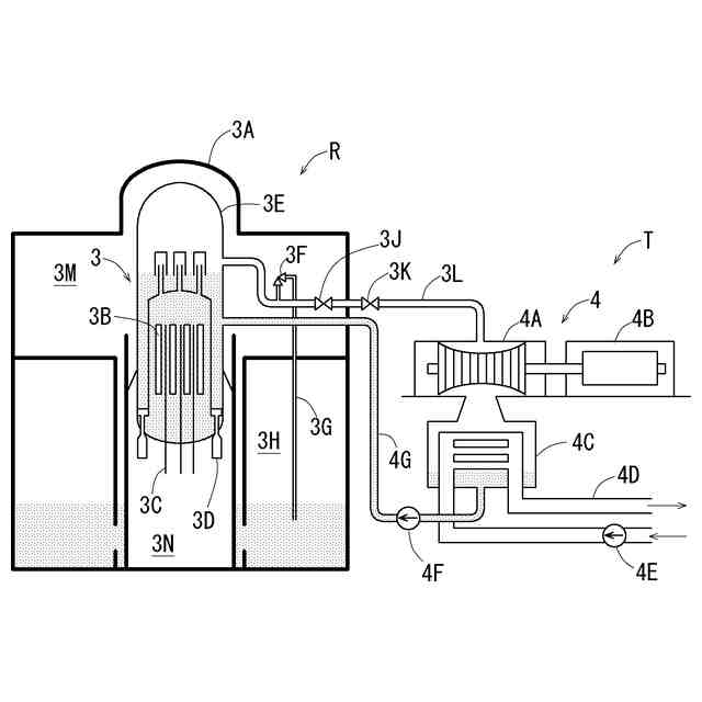
詳細には、本発明は、原子炉と、原子炉の熱によって発生した蒸気で駆動するタービン発電機と、原子炉とタービン発電機が配置されており、海上に係留される浮体と、を備え、浮体は、二重船殻構造によって浮体の船底部分に形成される船底バラストタンクのバラスト水で下側が満たされたコアキャッチャーを原子炉の下側に有する、浮体式原子力発電システムである。
【0009】
上記の浮体式原子力発電システムであれば、原子炉の下側に配置されるコアキャッチャーの下側が、浮体が有する二重船殻構造によって浮体の船底部分に形成される船底バラストタンクのバラスト水で満たされる。浮体式原子力発電システムの浮体は原子炉に比べて遥かに大きいため、浮体が有する船底バラストタンクにも大量のバラスト水が存在する。
このため、万一の炉心溶融により、溶融炉心がコアキャッチャーへ落下した場合であっても、溶融炉心をコアキャッチャー経由でバラスト水により冷却可能である。よって、このような浮体式原子力発電システムであれば、炉心溶融に有利に対抗可能であると言える。
【0010】
なお、コアキャッチャーは、鋼鉄製であり、原子炉が収まる格納容器内の底面部分を形成する鋼板と、鋼板の下面において船底バラストタンク内に立設される伝熱板と、を有するものであってもよい。鋼鉄は強度がありながら伝熱性にも優れる。このため、コアキャッチャーがこのような鋼板と伝熱板で形成されていれば、万一の炉心溶融により、溶融炉心がコアキャッチャーへ落下した場合であっても、溶融炉心をコアキャッチャー経由でバラスト水により効果的に冷却可能である。
(【0011】以降は省略されています)
この特許をJ-PlatPat(特許庁公式サイト)で参照する
関連特許
個人
原子力プラント
24日前
個人
常温核融合装置
6か月前
個人
常温核融合装置
6か月前
個人
常温核融合装置
6か月前
個人
超音波振動子の利用
24日前
個人
トリチウムの除去装置
7か月前
個人
元素変換用固体核融合工程
4か月前
個人
廃炉方法及び固化材
1か月前
個人
安山岩を利用した放射線消去装置
5か月前
個人
安山岩を利用した放射線消去装置
4か月前
パテントフレア株式会社
核融合反応促進法
6か月前
パテントフレア株式会社
核融合反応促進法
6か月前
個人
金属製軽水炉使用済核燃料増殖原子炉
7か月前
個人
はんれい岩を利用した放射線消去装置
4か月前
個人
装置、加速器、減速器、核変換システム
6か月前
合同会社日本レプトン
電子発生ペースト
1か月前
株式会社エー・アンド・デイ
X線検査装置
6か月前
株式会社エー・アンド・デイ
X線検査装置
6か月前
個人
ホウ素を用いるミューオン触媒核融合システム
7か月前
栗田工業株式会社
放射性廃液の処理方法
1か月前
PDRファーマ株式会社
遮蔽容器
5か月前
個人
核変換システム、加工装置、除去装置、切除装置
6か月前
住友重機械工業株式会社
搬送システム
4か月前
個人
加速器屋が考えたTEMモード同軸共鳴器型核融合炉
8日前
国立大学法人大阪大学
原子力発電装置
5か月前
浜松ホトニクス株式会社
電子線照射装置
6か月前
個人
共振励起型固体核融合装置と元素変換用固体核融合工程
4か月前
合同会社日本レプトン
電子発生器具及びその製造方法
1か月前
合同会社日本レプトン
電子発生器具及びその製造方法
1か月前
浜松ホトニクス株式会社
電子線照射装置
6か月前
三菱重工業株式会社
加圧容器
2か月前
株式会社アキュサイト
放射性物質の処理装置および方法
6か月前
個人
過剰熱起電力発生方法
5か月前
日揮株式会社
放射性廃棄物の固化処理方法
7か月前
合同会社日本レプトン
物質活性化素材及び物質活性化部材
7か月前
株式会社大林組
埋め戻し材、埋め戻し材の製造方法
3か月前
続きを見る
他の特許を見る