TOP
|
特許
|
意匠
|
商標
特許ウォッチ
Twitter
他の特許を見る
公開番号
2025133908
公報種別
公開特許公報(A)
公開日
2025-09-11
出願番号
2025115324,2024110416
出願日
2025-07-08,2020-10-09
発明の名称
情報処理装置、情報処理方法及びプログラム
出願人
株式会社MIXI
代理人
主分類
A63F
13/69 20140101AFI20250904BHJP(スポーツ;ゲーム;娯楽)
要約
【課題】抽選回数を決めるためのゲームにおいて、ユーザ間での不公平感が発生することを抑制することが可能な技術を提供すること。
【解決手段】ユーザの操作に応じてスコアが決定される特定ゲームを実行する実行部と、特定ゲームが終了した後、特定ゲームのスコアの確定要否の指示を受け付ける受付部と、ユーザから、特定ゲームのスコアを確定する確定指示を受け付けた場合、確定されたスコアに応じた回数の抽選を可能とする権利をユーザに付与する付与部と、を有する情報処理装置を提供する。
【選択図】図3
特許請求の範囲
【請求項1】
ユーザの操作に応じてスコアが決定される特定ゲームを実行する実行部と、
前記特定ゲームが終了した後、前記特定ゲームのスコアの確定要否の指示を受け付ける受付部と、
前記ユーザから、前記特定ゲームのスコアを確定する確定指示を受け付けた場合、確定されたスコアに応じた回数の抽選を可能とする権利を前記ユーザに付与する付与部と、
を有する情報処理装置。
発明の詳細な説明
【技術分野】
【0001】
本発明は、情報処理装置、情報処理方法及びプログラムに関する。
続きを表示(約 1,200 文字)
【背景技術】
【0002】
現在、ゲーム内で、ガチャと呼ばれる抽選を行うことが可能なゲームが知られている。抽選を行うことで、ユーザは、新たなキャラクタやアイテムを入手することができる。
【0003】
例えば、特許文献1には、ユーザの入力操作に応じてゲームを進行させ、予め定められた項目がユーザのゲームプレイにより達成されることにより、達成された項目に応じてゲームポイントをユーザに付与し、ユーザに付与されるゲームポイントが一定量に到達する都度、抽選権をユーザに付与するゲームが開示されている。
【先行技術文献】
【特許文献】
【0004】
特開2018-011891号公報
【発明の概要】
【発明が解決しようとする課題】
【0005】
ユーザが抽選権を得るためにゲームをプレイする際、ゲームを上手にプレイできた結果、多くの抽選回数を得ることができたユーザと、上手にプレイできず、少ない抽選回数しか得ることができなかったユーザとの間で不公平感が生じる可能性がある。
【0006】
そこで、本発明は、抽選回数を決めるためのゲームにおいて、ユーザ間での不公平感が発生することを抑制することが可能な技術を提供することを目的とする。
【課題を解決するための手段】
【0007】
本発明の一態様に係る情報処理装置は、ユーザの操作に応じてスコアが決定される特定ゲームを実行する実行部と、特定ゲームが終了した後、特定ゲームのスコアの確定要否の指示を受け付ける受付部と、ユーザから、特定ゲームのスコアを確定する確定指示を受け付けた場合、確定されたスコアに応じた回数の抽選を可能とする権利をユーザに付与する付与部と、を有する。
【発明の効果】
【0008】
本発明によれば、抽選回数を決めるためのゲームにおいて、ユーザ間での不公平感が発生することを抑制することが可能な技術を提供することができる。
【図面の簡単な説明】
【0009】
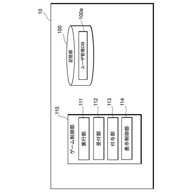
本実施形態に係るゲームシステムのシステム構成の一例を示す図である。
ゲームサーバ及び端末のハードウェア構成例を示す図である。
ゲームサーバの機能ブロック構成例を示す図である。
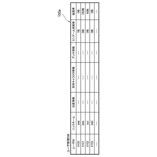
ユーザ管理DBの一例を示す図である。
端末の機能ブロック構成例を示す図である。
ゲームサーバが行う処理手順の一例を示すフローチャートである。
端末に表示される画面の表示例を示す図である。
【発明を実施するための形態】
【0010】
添付図面を参照して、本発明の実施形態について説明する。なお、各図において、同一の符号を付したものは、同一又は同様の構成を有する。
(【0011】以降は省略されています)
この特許をJ-PlatPat(特許庁公式サイト)で参照する
関連特許
株式会社MIXI
情報処理装置、情報処理方法、プログラム及びシステム
1日前
株式会社MIXI
情報処理装置、情報処理方法、プログラム及びゲームシステム
14日前
株式会社MIXI
情報処理装置、情報処理方法、プログラム及び情報処理システム
今日
株式会社MIXI
情報処理装置、情報処理方法、プログラム及び情報処理システム
24日前
株式会社MIXI
情報処理装置、情報処理システム、情報処理方法、及びプログラム
20日前
株式会社MIXI
情報処理装置及びプログラム
9日前
株式会社MIXI
情報処理装置およびプログラム
6日前
株式会社MIXI
情報処理装置、およびプログラム
1か月前
株式会社MIXI
情報処理装置、及び情報処理プログラム
24日前
株式会社MIXI
情報処理装置、情報処理方法及びプログラム
20日前
株式会社MIXI
情報処理装置、情報処理方法及びプログラム
23日前
株式会社MIXI
情報処理装置、情報処理方法及びプログラム
23日前
株式会社MIXI
情報処理装置、情報処理方法及びプログラム
23日前
株式会社MIXI
情報処理装置、情報処理方法及びプログラム
23日前
株式会社MIXI
情報処理装置、情報処理方法及びプログラム
20日前
株式会社MIXI
情報処理装置、情報処理方法及びプログラム
16日前
株式会社MIXI
情報処理装置、プログラム及び情報処理方法
9日前
株式会社MIXI
情報処理装置、情報処理方法及びプログラム
9日前
株式会社MIXI
情報処理装置、プログラム、及び情報処理方法
9日前
株式会社MIXI
情報処理装置、情報処理方法、及びプログラム
24日前
株式会社MIXI
情報処理装置、プログラムおよび情報処理方法
1か月前
株式会社MIXI
情報処理システム、サーバ装置、およびプログラム
6日前
株式会社MIXI
情報処理装置、情報処理プログラム及び情報処理方法
20日前
株式会社MIXI
表示制御プログラム、情報処理装置及び情報処理方法
8日前
株式会社MIXI
情報処理装置、情報処理方法、プログラム及びシステム
1日前
株式会社MIXI
情報処理装置、情報処理方法および情報処理プログラム
9日前
株式会社MIXI
評価情報処理装置,情報処理装置の制御方法及び制御プログラム
1か月前
株式会社MIXI
情報処理装置、コンテンツ表示方法及びコンテンツ表示プログラム
6日前
株式会社MIXI
情報処理装置、情報処理装置側プログラム及び端末装置側プログラム
23日前
株式会社MIXI
情報処理システム、サーバ装置、クライアント装置、及びプログラム
1か月前
個人
玩具
4か月前
個人
玩具
1か月前
個人
自走玩具
1か月前
個人
運動補助具
3か月前
個人
ゲーム玩具
5か月前
個人
打撃練習用具
14日前
続きを見る
他の特許を見る