TOP
|
特許
|
意匠
|
商標
特許ウォッチ
Twitter
他の特許を見る
公開番号
2025132728
公報種別
公開特許公報(A)
公開日
2025-09-10
出願番号
2024030485
出願日
2024-02-29
発明の名称
作業機械の表示制御システムおよび作業内容の表示方法
出願人
株式会社小松製作所
代理人
弁理士法人志賀国際特許事務所
主分類
G06Q
50/08 20120101AFI20250903BHJP(計算;計数)
要約
【課題】積込場や排土場における作業内容を適切に評価するための情報を提供する。
【解決手段】取得部は、作業機械の車体情報を取得する。推定部は、車体情報に基づいて作業機械の作業内容を推定する。表示制御部は、推定部により推定された作業機械の作業内容に関する情報を表示するための信号を生成する。作業内容は、積込場内において積込スポットへ向かう一連の走行、又は排土場内において排土スポットへ向かう一連の走行であるスポッティング作業を含む。推定部は、車体情報に基づいて、作業機械の作業内容がスポッティング作業であるか否かを推定する。
【選択図】図2
特許請求の範囲
【請求項1】
作業機械の車体情報を取得する取得部と、
前記車体情報に基づいて作業機械の作業内容を推定する推定部と、
前記推定部により推定された前記作業機械の作業内容に関する情報を表示するための信号を生成する表示制御部と、
を備え、
前記作業内容は、積込場内において積込スポットへ向かう一連の走行、又は排土場内において排土スポットへ向かう一連の走行であるスポッティング作業を含み、
前記推定部は、前記車体情報に基づいて、前記作業機械の作業内容が前記スポッティング作業であるか否かを推定する
作業機械の表示制御システム。
続きを表示(約 880 文字)
【請求項2】
前記表示制御部は、前記スポッティング作業に掛かる時間を表示する、
請求項1に記載の作業機械の表示制御システム。
【請求項3】
前記推定部は、複数の作業機械の車体情報に基づいて、グループ別に前記作業内容を推定し、
前記表示制御部は、グループ別に、前記作業内容に関する情報を並べて表示するための信号を生成する、
請求項1に記載の作業機械の表示制御システム。
【請求項4】
作業現場の選択を受け付ける選択部、
を備え、
前記表示制御部は、選択された前記作業現場の前記作業内容に関する情報を表示するための信号を生成する
請求項1に記載の作業機械の表示制御システム。
【請求項5】
前記表示制御部は、所定期間ごとの前記作業内容に関する情報を表示するための信号を生成する、
請求項1に記載の作業機械の表示制御システム。
【請求項6】
前記表示制御部は、前記スポッティング作業におけるロスを表示するための信号を生成する、
請求項1に記載の作業機械の表示制御システム。
【請求項7】
前記ロスは、前記スポッティング作業に係る標準時間と、前記スポッティング作業に実際にかかった時間とに基づいて算出される、
請求項6に記載の作業機械の表示制御システム。
【請求項8】
作業機械の車体情報を取得するステップと、
前記車体情報に基づいて作業機械の作業内容を推定するステップと、
推定された前記作業機械の作業内容に関する情報を表示するステップと、
を備え、
前記作業内容は、積込場内において積込スポットへ向かう一連の走行、又は排土場内において排土スポットへ向かう一連の走行であるスポッティング作業を含み、
前記推定するステップでは、前記車体情報に基づいて、前記作業機械の作業内容が前記スポッティング作業であるか否かを推定する
作業内容の表示方法。
発明の詳細な説明
【技術分野】
【0001】
本開示は、作業機械の表示制御システムおよび作業内容の表示方法に関する。
続きを表示(約 1,700 文字)
【背景技術】
【0002】
特許文献1には、作業現場で作業する作業機械の作業状態を推定する技術が開示されている。特許文献1には、ダンプトラックの作業内容が、積込作業、排土作業、積載走行、空荷走行、停車のいずれであるかを推定することが記載されている。
【先行技術文献】
【特許文献】
【0003】
国際公開第2019/017159号
【発明の概要】
【発明が解決しようとする課題】
【0004】
オペレータによる作業機械の操作のうち、積込場や排土場において作業機械を所望のスポットに停車させる操作の時間は、オペレータの技量に大きく左右される。このような積込場や排土場における作業内容を適切に評価することが求められている。
本開示の目的は、積込場や排土場における作業内容を適切に評価するための情報を提供することができる作業機械の表示制御システムおよび作業内容の表示方法を提供することにある。
【課題を解決するための手段】
【0005】
本発明の一態様によれば、作業機械の表示制御システムは、作業機械の車体情報を取得する取得部と、前記車体情報に基づいて作業機械の作業内容を推定する推定部と、前記推定部により推定された前記作業機械の作業内容に関する情報を表示するための信号を生成する表示制御部と、を備え、前記作業内容は、積込場内において積込スポットへ向かう一連の走行、又は排土場内において排土スポットへ向かう一連の走行であるスポッティング作業を含み、前記推定部は、前記車体情報に基づいて、前記作業機械の作業内容が前記スポッティング作業であるか否かを推定する。
【発明の効果】
【0006】
上記態様によれば、作業機械の表示制御システムは、積込場や排土場における作業内容を適切に評価するための情報を提供することができる。
【図面の簡単な説明】
【0007】
第一実施形態に係る作業内容推定システムの例を示す図である。
第一実施形態に係る作業エリアの例を示す図である。
第一実施形態に係る作業機械の構成を示す概略図である。
第一実施形態に係る管理装置の構成を示す概略ブロック図である。
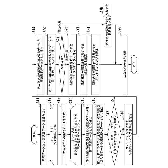
第一実施形態に係る管理装置によるデータ収集処理を示すフローチャートである。
第一実施形態に係る管理装置による解析処理を示すフローチャートである。
第一実施形態に係るリスポッティングによるロス時間を表すヒストグラムの例である。
【発明を実施するための形態】
【0008】
〈第一実施形態〉
《作業内容推定システム1》
図1は、第一実施形態に係る作業内容推定システムの例を示す図である。
第一実施形態に係る作業内容推定システム1は、作業機械20であるダンプトラックの作業内容を分析して現場監督に表示する。現場監督は、作業内容を確認することで、作業機械20のオペレータの技量を評価することができる。作業内容推定システム1は、管理装置10と、複数の作業機械20とを備える。作業内容推定システム1は、作業機械20の表示制御システムの一例である。
【0009】
管理装置10は、複数の作業機械20の車体データに基づいて作業機械20の作業内容を分析してディスプレイに表示する。
作業機械20は、作業現場Gにおいて発生する荷を運搬する。作業機械20が運搬する荷の例としては、砕石、土砂、岩石、石炭などが挙げられる。
【0010】
第一実施形態に係る作業現場Gは積込場G1と排土場G2とを有する。以下、積込場G1および排土場G2を作業エリアともよぶ。積込場G1と排土場G2とはそれぞれ走行路G3によって接続される。走行路G3は、積込場G1と排土場G2とを接続する一般道路、および作業エリア内に土砂の搬送用に用意された搬送路を含む。作業機械20であるダンプトラックは、土砂を運搬するために積込場G1と排土場G2との間を走行する。
(【0011】以降は省略されています)
この特許をJ-PlatPat(特許庁公式サイト)で参照する
関連特許
株式会社小松製作所
モータ
22日前
株式会社小松製作所
モータ
22日前
株式会社小松製作所
作業機械
23日前
株式会社小松製作所
作業機械
1か月前
株式会社小松製作所
作業車両
3日前
株式会社小松製作所
作業車両
3日前
株式会社小松製作所
路面整備システム
22日前
株式会社小松製作所
プラネタリギヤ機構
21日前
株式会社小松製作所
モータ及びモータの製造方法
22日前
株式会社小松製作所
システム、作業車両および方法
23日前
株式会社小松製作所
システム、作業車両および方法
23日前
株式会社小松製作所
作業機械、及び、トランスファ装置
1か月前
株式会社小松製作所
作業車両用作動油タンク及び作業車両
今日
株式会社小松製作所
表示システム、表示方法及び作業機械
1か月前
トヨタ自動車株式会社
運行管理装置
6日前
トヨタ自動車株式会社
運行管理装置
6日前
トヨタ自動車株式会社
車両走行管理装置
6日前
株式会社小松製作所
作業機械を制御するためのシステム及び方法
29日前
株式会社小松製作所
作業機械用ファイナルドライブおよび作業機械
1か月前
株式会社小松製作所
作業内容推定システムおよび作業内容推定方法
22日前
株式会社小松製作所
モータ、モータの製造方法及びインシュレータ
22日前
株式会社小松製作所
作業機械の診断システム及び作業機械の診断方法
1か月前
株式会社小松製作所
作業機械の診断システム及び作業機械の診断方法
1か月前
株式会社小松製作所
作業現場の管理システム及び作業現場の管理方法
22日前
株式会社小松製作所
作業車両の制御システムおよび作業車両の制御方法
22日前
株式会社小松製作所
作業機械の操作システム、および作業機械の操作方法
6日前
株式会社小松製作所
作業機械の表示制御システムおよび作業内容の表示方法
22日前
株式会社小松製作所
作業機械を制御するためのシステム、方法、及び作業機械
1か月前
株式会社小松製作所
作業機械を制御するためのシステム、方法、及び作業機械
3日前
株式会社小松製作所
作業機械の画像表示システムおよび作業機械の画像表示方法
1日前
株式会社小松製作所
作業機械のカメラシステムおよびカメラパラメータの校正方法
22日前
株式会社小松製作所
モータグレーダおよびモータグレーダのドローバ姿勢算出方法
15日前
株式会社小松製作所
モータグレーダおよびモータグレーダのドローバ姿勢算出方法
15日前
株式会社小松製作所
作業機械、作業機械を含むシステム、および作業機械の制御方法
1か月前
株式会社小松製作所
作業機械、作業機械を含むシステム、および作業機械の制御方法
1か月前
株式会社小松製作所
故障した作業機械の故障原因を診断するためのシステム及び方法
3日前
続きを見る
他の特許を見る