TOP
|
特許
|
意匠
|
商標
特許ウォッチ
Twitter
他の特許を見る
10個以上の画像は省略されています。
公開番号
2025132451
公報種別
公開特許公報(A)
公開日
2025-09-10
出願番号
2024030021
出願日
2024-02-29
発明の名称
圧縮機静翼、これを備える圧縮機、及びガスタービン設備
出願人
三菱重工業株式会社
代理人
個人
,
個人
,
個人
,
個人
,
個人
主分類
F04D
29/54 20060101AFI20250903BHJP(液体用容積形機械;液体または圧縮性流体用ポンプ)
要約
【課題】圧縮機静翼の負圧面に沿って形成される境界層の発達を抑える。
【解決手段】圧縮機静翼は、断面が翼形を成す翼体と、前記翼体の翼高さ第一側の端に設けられている第一シュラウドと、を備える。前記翼体及び前記第一シュラウドには、前記翼体内及び前記第一シュラウド内で連なり、前記第一反ガスパス面又は前記第一側周面で開口している空洞が形成されている。前記翼体には、前記負圧面で開口している入口開口と前記空洞を画定する内面で開口している出口開口とを有する複数の吸引孔が形成されている。前記負圧面中で、前記前縁と前記後縁とが並ぶ前後方向における所定幅の領域で、且つ、前記負圧面の前記翼高さ第一側の端から前記翼高さ第二側の端までの領域は、開口形成領域を成す。前記開口形成領域には、翼高さ方向及び前後方向に並ぶ前記複数の吸引孔ごとの前記入口開口が形成されている。
【選択図】図3
特許請求の範囲
【請求項1】
断面が翼形を成し、前記断面に垂直な方向成分を含む翼高さ方向に延びている翼体と、
前記翼体の前記翼高さ方向における翼高さ第一側と翼高さ第二側とのうちで前記翼高さ第一側の端に設けられている第一シュラウドと、
前記翼体の前記翼高さ第二側の端に設けられている第二シュラウドと、
を備え、
前記翼体は、前縁と、後縁と、前記前縁と前記後縁とをつなぐ正圧面と、前記前縁と前記後縁とをつなぎ前記正圧面と背合わせの関係にある負圧面と、を有し、
前記第一シュラウドは、前記翼高さ第二側を向き、前記翼体の前記翼高さ第一側の端から前記翼高さ方向に垂直な方向成分を含む方向に広がる第一ガスパス面と、前記翼高さ第一側を向き前記第一ガスパス面と背合わせの関係にある第一反ガスパス面と、前記第一ガスパス面の縁と前記第一反ガスパス面の縁とを接続する第一側周面と、を有し、
前記第二シュラウドは、前記翼高さ第一側を向き、前記翼体の前記翼高さ第二側の端から前記翼高さ方向に垂直な方向成分を含む方向に広がる第二ガスパス面と、前記翼高さ第二側を向き前記第二ガスパス面と背合わせの関係にある第二反ガスパス面と、を有し、
前記翼体及び前記第一シュラウドには、前記翼体内及び前記第一シュラウド内で連なり、前記第一反ガスパス面又は前記第一側周面で開口している空洞が形成され、
前記翼体には、前記負圧面で開口している入口開口と前記空洞を画定する内面で開口している出口開口とを有し、前記負圧面から前記空洞を画定する前記内面まで貫通している複数の吸引孔が形成され、
前記負圧面中で、前記前縁と前記後縁とが並ぶ前後方向における所定幅の領域で、且つ、前記負圧面の前記翼高さ第一側の端から前記翼高さ第二側の端までの領域は、開口形成領域を成し、
前記開口形成領域には、前記翼高さ方向及び前記前後方向に並ぶ前記複数の吸引孔ごとの前記入口開口が形成されている、
圧縮機静翼。
続きを表示(約 1,900 文字)
【請求項2】
請求項1に記載の圧縮機静翼において、
前記開口形成領域は、前記負圧面の前記翼高さ第一側の端を含む第一側領域と、前記負圧面中で前記翼高さ方向の中間位置を含み、前記第一側領域の前記翼高さ第二側の端から前記翼高さ第二側に広がる中間領域と、前記中間領域の前記翼高さ第二側の端から前記負圧面の前記翼高さ第二側の端まで広がる第二側領域と、を有し、
前記第一側領域と前記第二側領域とのうち、少なくとも一方の側領域における前記入口開口の総面積は、前記中間領域における前記入口開口の総面積より大きい、
圧縮機静翼。
【請求項3】
請求項2に記載の圧縮機静翼において、
前記少なくとも一方の側領域の前記入口開口の数は、前記中間領域の前記入口開口の数より多く、且つ前記少なくとも一方の側領域の前記入口開口の密度は、前記中間領域の前記入口開口の密度より高い、
圧縮機静翼。
【請求項4】
請求項2に記載の圧縮機静翼において、
前記少なくとも一方の側領域における前記前後方向の幅は、前記翼高さ方向で前記中間領域から遠ざかるにつれて次第に広くなり、
前記少なくとも一方の側領域における前記前後方向の最大幅は、前記中間領域における前記前後方向の最大幅より広く、
前記少なくとも一方の側領域の前記入口開口の数は、前記翼高さ方向で前記中間領域から遠ざかるにつれて次第に多くなり、前記中間領域の前記入口開口の数より多く、且つ前記少なくとも一方の側領域の前記入口開口の密度は、前記中間領域の前記入口開口の密度より高い、
圧縮機静翼。
【請求項5】
請求項2に記載の圧縮機静翼において、
前記少なくとも一方の側領域は、前記第一側領域と前記第二側領域とを含む、
圧縮機静翼。
【請求項6】
請求項1に記載の圧縮機静翼において、
前記開口形成領域における前記前後方向における中心位置は、前記前縁から、前記翼体の前記前後方向の幅の45%以上で65%以下の範囲内の位置である、
圧縮機静翼。
【請求項7】
請求項6に記載の圧縮機静翼において、
前記開口形成領域における前記前後方向における前記前縁の側の端の位置は、前記前縁から、前記翼体の前記前後方向の幅の30%の寸法の位置よりも前記後縁の側である、
圧縮機静翼。
【請求項8】
請求項1に記載の圧縮機静翼において、
前記第一シュラウドと前記第二シュラウドとのうち、少なくとも一方のシュラウドには、前記少なくとも一方のシュラウドのガスパス面中で開口している入口開口と前記空洞を画定する前記内面で開口している出口開口とを有し、前記ガスパス面から前記空洞を画定する前記内面まで貫通している複数の吸引孔が形成され、
前記正圧面に対して前記負圧面が存在する側が負圧側であり、
前記少なくとも一方のシュラウドの前記ガスパス面中で、前記翼体を基準として前記負圧側で且つ前記負圧面に沿った領域は、開口形成領域を成し、
前記少なくとも一方のシュラウドの前記ガスパス面中の前記開口形成領域には、前記少なくとも一方のシュラウドに形成されている前記複数の吸引孔ごとの前記入口開口が形成されている、
圧縮機静翼。
【請求項9】
請求項8に記載の圧縮機静翼において、
前記少なくとも一方のシュラウドの前記ガスパス面中の前記開口形成領域における前記前後方向における前記前縁の側の端は、前記前縁から、前記翼体の前記前後方向の幅の30%の寸法の位置よりも前記後縁の側である、
圧縮機静翼。
【請求項10】
請求項1に記載の圧縮機静翼において、
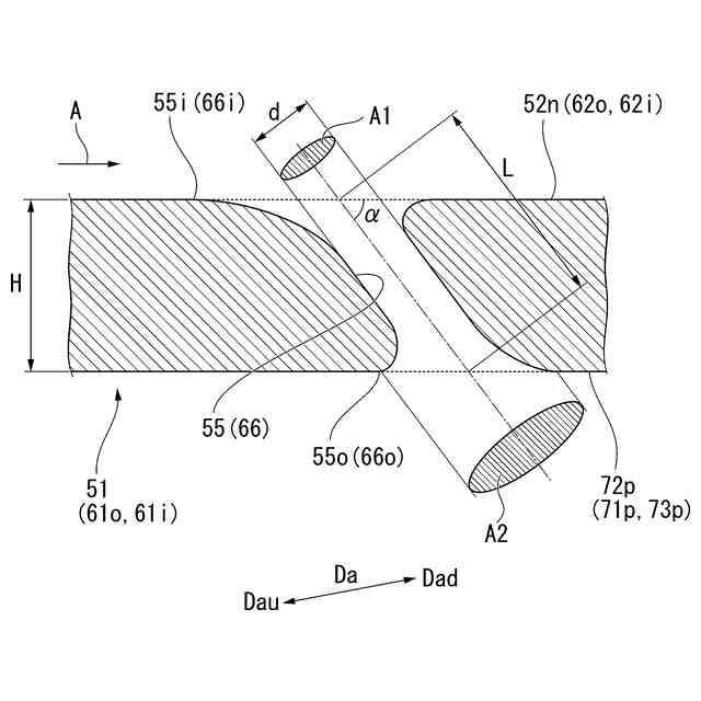
前記複数の吸引孔のそれぞれは、前記入口開口から前記出口開口に向かうにつれて次第に前記前後方向における前記前縁の側から前記後縁の側に延びるよう、前記入口開口が形成されている面に対して傾斜し、
前記入口開口が形成されている面に対する前記複数の吸引孔が延びている方向の角度は、20°以上で70°以下であり、
前記複数の吸引孔のそれぞれは、前記入口開口と前記出口開口との間の部分で最小内径になり、前記最小内径の部分から前記入口開口に向かうに連れて次第に拡径していると共に、前記最小内径の部分から前記出口開口に向かうに連れて次第に拡径している、
圧縮機静翼。
(【請求項11】以降は省略されています)
発明の詳細な説明
【技術分野】
【0001】
本開示は、圧縮機静翼、これを備える圧縮機、この圧縮機を備えるガスタービン設備に関する。
続きを表示(約 3,100 文字)
【背景技術】
【0002】
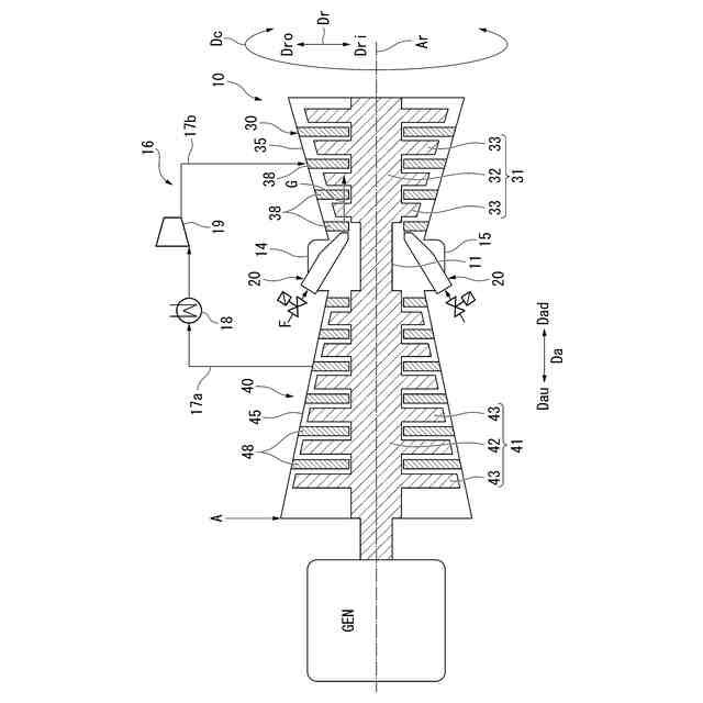
ガスタービンは、空気を圧縮して圧縮空気を生成可能な圧縮機と、圧縮空気中で燃料を燃焼させて燃焼ガスを生成可能な燃焼器と、燃焼ガスにより駆動可能なタービンと、を備える。圧縮機は、軸線を中心として回転するロータと、このロータを覆うケーシングと、複数の静翼列と、を備える。ロータは、軸線を中心として軸線方向に延びているロータ軸と、このロータ軸に取り付けられている複数の動翼列とを有する。複数の動翼列は、軸線方向に互いの間隔をあけて並んでいる。複数の動翼列は、いずれも、軸線に対する周方向に並んでいる複数の動翼を有する。ケーシングの内側には、複数の静翼列が設けられている。複数の静翼列のそれぞれは、複数の動翼列のうちのいずれか一の動翼列の軸線下流側に配置されている。複数の静翼列は、いずれも、軸線に対する周方向に並んでいる複数の静翼を有する。
【0003】
以下の特許文献1及び特許文献2には、圧縮機の静翼について開示されている。
【0004】
特許文献1に開示されている静翼には、軸線に対する径方向に貫通した翼中空部(空洞)が形成されている。ロータ軸には、ケーシング外から、ケーシング及び静翼の翼中空部(空洞)を介して、冷却空気等の冷却媒体が供給される。この特許文献1に開示されている技術では、静翼及びロータ軸に冷却空気を供給することで、静翼及びロータ軸のクリープ強度の低下を抑制している。
【0005】
特許文献2に開示されている静翼には、静翼の正圧面から負圧面に貫通する隙間が形成されている。圧縮機の運転中、隙間を介して、正圧面から負圧面へ空気の漏れ流れが生じする。この特許文献2に開示されている技術では、正圧面から負圧面への空気の漏れ流れにより、負圧面に沿って形成される境界層の剥離を抑えて、圧縮効率の向上を図っている。
【先行技術文献】
【特許文献】
【0006】
特開平11-315800号公報
特開2013-100784号公報
【発明の概要】
【発明が解決しようとする課題】
【0007】
本開示は、圧縮機静翼の負圧面に沿って形成される境界層の発達を抑えて、圧縮機の作動範囲を拡大させ、且つ圧縮機の効率を向上させることができる技術を提供することを目的とする。
【課題を解決するための手段】
【0008】
前記目的を達成するための発明に係る一態様としての圧縮機静翼は、
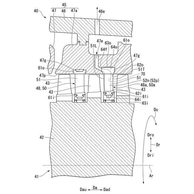
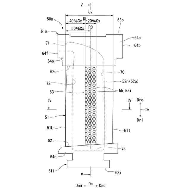
断面が翼形を成し、前記断面に垂直な方向成分を含む翼高さ方向に延びている翼体と、前記翼体の前記翼高さ方向における翼高さ第一側と翼高さ第二側とのうちで前記翼高さ第一側の端に設けられている第一シュラウドと、前記翼体の前記翼高さ第二側の端に設けられている第二シュラウドと、を備える。前記翼体は、前縁と、後縁と、前記前縁と前記後縁とをつなぐ正圧面と、前記前縁と前記後縁とをつなぎ前記正圧面と背合わせの関係にある負圧面と、を有する。前記第一シュラウドは、前記翼高さ第二側を向き、前記翼体の前記翼高さ第一側の端から前記翼高さ方向に垂直な方向成分を含む方向に広がる第一ガスパス面と、前記翼高さ第一側を向き前記第一ガスパス面と背合わせの関係にある第一反ガスパス面と、前記第一ガスパス面の縁と前記第一反ガスパス面の縁とを接続する第一側周面と、を有する。前記第二シュラウドは、前記翼高さ第一側を向き、前記翼体の前記翼高さ第二側の端から前記翼高さ方向に垂直な方向成分を含む方向に広がる第二ガスパス面と、前記翼高さ第二側を向き前記第二ガスパス面と背合わせの関係にある第二反ガスパス面と、を有する。前記翼体及び前記第一シュラウドには、前記翼体内及び前記第一シュラウド内で連なり、前記第一反ガスパス面又は前記第一側周面で開口している空洞が形成されている。前記翼体には、前記負圧面で開口している入口開口と前記空洞を画定する内面で開口している出口開口とを有し、前記負圧面から前記空洞を画定する前記内面まで貫通している複数の吸引孔が形成されている。前記負圧面中で、前記前縁と前記後縁とが並ぶ前後方向における所定幅の領域で、且つ、前記負圧面の前記翼高さ第一側の端から前記翼高さ第二側の端までの領域は、開口形成領域を成す。前記開口形成領域には、前記翼高さ方向及び前記前後方向に並ぶ前記複数の吸引孔ごとの前記入口開口が形成されている。
【0009】
前記目的を達成するための発明に係る一態様としての圧縮機は、
軸線を中心として回転可能な圧縮機ロータと、前記圧縮機ロータを覆う圧縮機ケーシングと、前記軸線が延びる軸線方向に並んでいる複数の静翼列と、を備える。前記圧縮機ロータは、前記軸線を中心として、前記軸線方向に延びているロータ軸と、前記軸線方向に並んで、前記ロータ軸に取り付けられている複数の動翼列と、有する。前記複数の静翼列のそれぞれは、前記複数の動翼列のうちのいずれか一の動翼列の前記軸線方向における軸線下流側に配置されて、前記圧縮機ケーシングに取り付けられている。前記複数の静翼列は、いずれも、前記軸線に対する周方向に並ぶ複数の静翼を有する。前記複数の静翼列のうち、少なくとも一の静翼列が有する前記複数の静翼のそれぞれは、前記一態様としての圧縮機静翼である。前記前後方向は、前記軸線方向である。前記翼高さ方向は、前記軸線に対する径方向である。前記翼高さ第一側は、前記径方向における径方向内側と径方向外側とのうち、前記径方向外側である。前記翼高さ第二側は、前記径方向内側である。
【0010】
前記目的を達成するための発明に係る一態様としてのガスタービン設備は、
前記圧縮機と、前記圧縮機で圧縮された空気中で燃料を燃焼させて燃焼ガスを生成可能な燃焼器と、前記燃焼ガスで駆動可能なタービンと、を有するガスタービンと、冷却装置と、
を備える。前記圧縮機ケーシングは、前記軸線を中心として筒状を成し、前記複数の静翼列の一部を保持する一以上の翼環と、前記一以上の翼環の外周側に配置されて、前記一以上の翼環が取り付けられているケーシング本体と、を有する。前記一以上の翼環のうち、前記少なくとも一の静翼列を保持する翼環は、内周側から外周側に貫通し、前記少なくとも一の静翼列が有する前記複数の静翼ごとの前記空洞と連通して、前記空洞からの空気が流入可能な翼環抽気流路を有する。前記ケーシング本体は、内周側から外周側に貫通し、前記翼環抽気流路からの空気が流入して、前記空気をケーシング本体の外周側に排気可能な本体抽気流路を有する。前記タービンは、前記軸線を中心として回転可能なタービンロータと、前記タービンロータを覆うタービンケーシングと、前記軸線方向に並んで、前記タービンケーシンの内周側に配置されている複数の静翼列と、を有する。前記冷却装置は、前記圧縮機ケーシングの前記本体抽気流路につながっている抽気ラインと、前記抽気ラインからの空気を冷却可能な冷却器と、前記冷却器で冷却された空気を圧縮可能なブースト圧縮機と、前記冷却器で冷却され前記ブースト圧縮機で圧縮された空気を前記タービンの前記複数の静翼列のうちの少なくとも一の静翼列に導くことが可能な冷却空気ラインと、を有する。
【発明の効果】
(【0011】以降は省略されています)
この特許をJ-PlatPat(特許庁公式サイト)で参照する
関連特許
三菱重工業株式会社
清掃装置
7日前
三菱重工業株式会社
容器解体装置
10日前
三菱重工業株式会社
フィルタ装置
6日前
三菱重工業株式会社
風力発電装置
6日前
三菱重工業株式会社
排熱回収システム
29日前
三菱重工業株式会社
洗浄水噴射ノズル
1日前
三菱重工業株式会社
主蒸気管洗浄方法
6日前
三菱重工業株式会社
放射性物質移送容器
1か月前
三菱重工業株式会社
軌道系交通システム
6日前
三菱重工業株式会社
炉内構造物の解体方法
10日前
三菱重工業株式会社
造形プロセスの監視方法
14日前
三菱重工業株式会社
デジタル入力モジュール
1日前
三菱重工業株式会社
シール装置および回転機械
1日前
三菱重工業株式会社
水素供給システムおよび方法
10日前
三菱重工業株式会社
計測装置、及び積層造形装置
28日前
三菱重工業株式会社
計測装置、及び積層造形装置
28日前
三菱重工業株式会社
ウエハステージ冷却システム
14日前
三菱重工業株式会社
内燃機関の制御装置および方法
6日前
三菱重工業株式会社
蒸気タービン翼及び蒸気タービン
6日前
三菱重工業株式会社
蒸気生成システム及び蒸気生成方法
7日前
三菱重工業株式会社
自転防止機構、及びスクロール圧縮機
1か月前
三菱重工業株式会社
シール構造の製造方法およびシール構造
1日前
三菱重工業株式会社
アンモニア分解触媒および排ガス処理方法
29日前
三菱重工業株式会社
電力変換器、および電力変換器の製造方法
6日前
三菱重工業株式会社
移動体、自己位置推定方法及びプログラム
1日前
三菱重工業株式会社
排気設備、及びこれを備えるガスタービン
8日前
三菱重工業株式会社
情報処理装置、情報処理方法及びプログラム
1日前
三菱重工業株式会社
ガスタービン起動方法、及び、ガスタービン
20日前
三菱重工業株式会社
除去装置、除去装置の制御装置および除去方法
10日前
三菱重工業株式会社
静翼セグメント、及びこれを備える蒸気タービン
22日前
三菱重工業株式会社
制御装置、ガスタービン、制御方法及びプログラム
2日前
三菱重工業株式会社
液滴噴霧ユニット、および、蒸気タービンシステム
14日前
三菱重工業株式会社
弁装置及び固体燃料粉砕装置並びに弁装置の運転方法
29日前
三菱重工業株式会社
圧縮機静翼、これを備える圧縮機、及びガスタービン設備
29日前
三菱重工業株式会社
経路生成装置、経路生成方法、および経路生成プログラム
29日前
三菱重工業株式会社
治具モデル作成装置、治具モデル作成方法及びプログラム
28日前
続きを見る
他の特許を見る