TOP
|
特許
|
意匠
|
商標
特許ウォッチ
Twitter
他の特許を見る
公開番号
2025132194
公報種別
公開特許公報(A)
公開日
2025-09-10
出願番号
2024029598
出願日
2024-02-29
発明の名称
光触媒を用いた水素ガス製造装置
出願人
トヨタ自動車株式会社
代理人
個人
,
個人
主分類
C01B
3/04 20060101AFI20250903BHJP(無機化学)
要約
【課題】 光触媒を用いた水素ガス製造装置に於いて、照射光量当たりの水素ガスの生成量をできるだけ多くしつつ、その構成をできるだけコンパクトにする。
【解決手段】 水素ガス製造装置は、光を照射されると水を水素と酸素とに分解する分解反応を惹起する光触媒粒子などの光触媒体の分散又は配置された水を収容した断面が四角形の箱型容器部と、箱型容器部の対向する両側面に沿って配列された複数の発光素子とを含み、箱型容器部の対向する両側面から複数の発光素子の発する光が箱型容器部内の前記水へ照射されるよう構成される。
【選択図】 図1
特許請求の範囲
【請求項1】
水素ガス製造装置であって、
光を照射されると水を水素と酸素とに分解する分解反応を惹起する光触媒物質を有する光触媒体の分散又は配置された水を収容した略直方体形状の箱型容器部と、
前記箱型容器部の対向する両側面に沿って前記両側面の外側にて配列された複数の発光素子と
を含み、
前記箱型容器部の前記対向する両側面から前記複数の発光素子の発する光が前記箱型容器部内の前記水へ照射されるよう構成された装置。
続きを表示(約 400 文字)
【請求項2】
請求項1の装置であって、複数の前記箱型容器部が、前記複数の発光素子の配列された側面に垂直な方向に積層され、隣接する前記箱型容器部の対向する側面の間にそれぞれの前記側面へ向かって光を発するように前記複数の発光素子が共通の支持部材の両側に配置されている装置。
【請求項3】
請求項1の装置であって、前記支持部材が前記複数の発光素子を冷却する機能を有している装置。
【請求項4】
請求項1の装置であって、前記箱型容器部の内側に於いて前記対向する両側面から前記複数の発光素子により発せられる光の照射域が互いに重複しないように前記複数の発光素子が配列されている装置。
【請求項5】
請求項1乃至4のいずれかの装置であって、前記箱型容器部の前記側面に於ける前記発光素子に対向する部位が前記容器部の内側へ向かって球面状に窪んでいる装置。
発明の詳細な説明
【技術分野】
【0001】
本発明は、水素ガス製造装置に係り、より詳細には、光触媒を用いた水の分解反応により水素ガスを製造する装置に係る。
続きを表示(約 2,800 文字)
【背景技術】
【0002】
燃焼しても二酸化炭素を生じないクリーンな次世代の燃料としての利用が期待されている水素ガスは、光触媒を用いた光エネルギーによる水の分解反応により生成できるので、光触媒を用いた水素ガスの製造技術が種々提案されている。例えば、特許文献1には、光により水を分解する助触媒担持水分解用触媒を有し、水分解用触媒に水を供給することにより、水素及び/又は酸素を発生させる光触媒モジュールの運転方法に於いて、光触媒の活性が低下したときに、助触媒の前駆体である含金属化合物の液を該モジュール内に存在させ、光照射により光触媒上に光触媒用助触媒を析出させる方法が開示されている。特許文献2には、ガラス基板の表面に内面に二酸化チタン膜を塗布した複数の微少な半円溝を設け、半円溝に水を流した状態で、ガラス基板に光照射装置から光を照射して光化学反応を生じさせ、水を水素と酸素に分離し、水素を水素透過膜を介して回収する水素発生装置が開示されている。
【先行技術文献】
【特許文献】
【0003】
特開2023-106958
特開2004-35356
特開2023-094488
【発明の概要】
【発明が解決しようとする課題】
【0004】
上記の如き光触媒を用いた水素ガス製造装置を構成する場合に、水素と酸素に分解される水へ照射される光の光源としてLEDなどの発光素子を用いれば、装置を(日当たりを気にせずに)任意の場所に設置できる点で、有利である。また、光による水の分解反応は、光触媒の表面で発生するので、光の照射される水中に粒子状の光触媒が一様に分散されるか、シート状部材に形成されるか、シート状部材に塗布又は被覆されるなどによって、光の照射されている光触媒表面により多くの水分子が接触でき、照射された光量当たりに、水の分解反応がより多く惹起されて、より多くの水素ガスが生成されることが期待される。その際、装置をできるだけコンパクトに構成できると、更に有利である。
【0005】
かくして、本発明の主な課題は、光触媒を用いた水素ガス製造装置に於いて、照射光量当たりの水素ガスの生成量をできるだけ多くしつつ、その構成をできるだけコンパクトにすることである。
【課題を解決するための手段】
【0006】
本発明の一つの態様によれば、上記の課題は、水素ガス製造装置であって、
光を照射されると水を水素と酸素とに分解する分解反応を惹起する光触媒物質を有する光触媒体の分散又は配置された水を収容した略直方体形状の箱型容器部と、
前記箱型容器部の対向する両側面に沿って前記両側面の外側にて配列された複数の発光素子と
を含み、
前記箱型容器部の前記対向する両側面から前記複数の発光素子の発する光が前記箱型容器部内の前記水へ照射されるよう構成された装置によって達成される。
【0007】
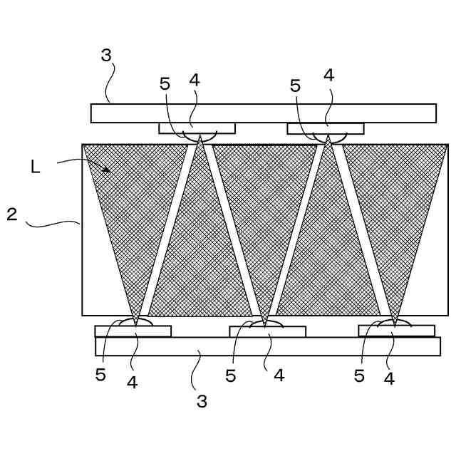
上記の構成に於いて、「光触媒物質を有する光触媒体」は、後述の実施形態の欄にて列記される如き、光が照射されると、水分子を水素と酸素とに分解する分解反応を惹起する任意の種類の光触媒物質から成り、水中に分散される粒子、或いは、光触媒物質そのもので形成されたシート状部材又は任意のシート状部材上に光触媒物質を固定してなり、水中の任意の位置に配置されたもの、若しくは、それらの両方であってよい。「箱型容器部」は、発光素子の隣接される側面が発光素子の発する光を透過する材料にて形成された断面が略四角形の容器であってよい。「発光素子」は、典型的には、発光ダイオードなどの、電力を用いて、光触媒にて水分子を水素と酸素とに分解する分解反応を惹起するよう電子を励起することのできる波長の光を発する任意の発光素子であってよい。
【0008】
上記の本発明の装置は、光触媒体の分散又は配置された水が箱型の容器に収納され、その両側面に配列された発光素子から水へ、水の分解反応を惹起する光が照射されるように構成される。かかる構成によれば、光源として電力で発光する発光素子が用いられることで、太陽光を水へ照射するよう構成された装置と異なり、任意の場所に設置することができ、装置が箱型の形状となっているので、コンパクトに収納又は配置が可能であり、水に光触媒粒子が分散され、或いは、シート状の光触媒体が配置され、箱型の容器の対向する両側面から光が照射されるようになっていることから、光の照射された光触媒体へより多くの水分子が接触できることとなり、水素ガスの発生量がより多くなることも期待される。なお、発光素子は、箱型容器部内の水が存在する領域の側面に一様に配列されていてよい(水の存在しない領域の側面には、発光素子は配列されていなくてよい。)。
【0009】
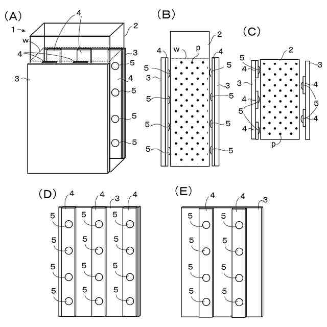
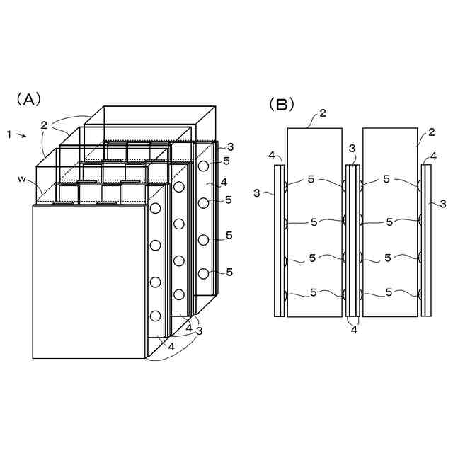
上記の如く、本発明の装置は、その形状が箱型となるので、複数の箱型容器部を積層し、殆ど隙間を作らずに、配置することが容易に可能であり、従って、本発明の装置は、複数の箱型容器部を容易にコンパクトに収納又は配置が可能である点でも有利である。この点に関し、複数の箱型容器部が複数の発光素子の配列された側面に垂直な方向に積層されている場合には、隣接する箱型容器部の対向する側面の間にそれぞれの側面へ向かって光を発するように複数の発光素子が共通の支持部材の両側に配置されていてよい。即ち、隣接する箱型容器部の間に配置される複数の発光素子は、共通の支持部材に配置されることとなるので、装置の占有する領域をより小さくすることが可能であり、また、部品点数も低減される点で有利である。なお、支持部材は複数の発光素子を冷却する機能を有しているよう構成されていてよく、これにより、隣接する箱型容器部のそれぞれのために用いられる複数の発光素子を冷却するための構成を共通にすることができ、装置の占有する領域をより小さくし、部品点数を低減できる点で有利である。
【0010】
上記の本発明の構成に於いて、好適には、箱型容器部の内側に於いて対向する両側面から複数の発光素子により発せられる光の照射域又は光路が互いに重複しないように複数の発光素子が配列されていてよい。水素ガスの発生量は、水中の光触媒に照射される光の強度と共に増大するが、特許文献3に記載されている如く、単位入射光量当たりの水素ガスの発生量(光触媒効率)は、光強度の増大と共に低減することが見出されている。即ち、エネルギーの効率の面では、光強度は低い方が有利であるので、上記の如く、好適には、箱型容器部の内部で、複数の発光素子により発せられる光の照射域が互いに重複しないようにすることにより、無用に照射光の光強度が増大しないようになっていてよい。
(【0011】以降は省略されています)
この特許をJ-PlatPat(特許庁公式サイト)で参照する
関連特許
トヨタ自動車株式会社
車両
今日
トヨタ自動車株式会社
電池
3日前
トヨタ自動車株式会社
電池
2日前
トヨタ自動車株式会社
車両
7日前
トヨタ自動車株式会社
車両
1日前
トヨタ自動車株式会社
ケース
2日前
トヨタ自動車株式会社
電動車
3日前
トヨタ自動車株式会社
加熱器
今日
トヨタ自動車株式会社
電動車
7日前
トヨタ自動車株式会社
固定子
1日前
トヨタ自動車株式会社
電動車
7日前
トヨタ自動車株式会社
電動車
7日前
トヨタ自動車株式会社
電解液
7日前
トヨタ自動車株式会社
バッテリ
1日前
トヨタ自動車株式会社
監視装置
1日前
トヨタ自動車株式会社
ロボット
3日前
トヨタ自動車株式会社
製造装置
1日前
トヨタ自動車株式会社
蓄電装置
2日前
トヨタ自動車株式会社
制御装置
2日前
トヨタ自動車株式会社
塗工装置
1日前
トヨタ自動車株式会社
路側装置
2日前
トヨタ自動車株式会社
蓄電装置
今日
トヨタ自動車株式会社
車載装置
今日
トヨタ自動車株式会社
車両構造
今日
トヨタ自動車株式会社
バッテリ
1日前
トヨタ自動車株式会社
切断装置
7日前
トヨタ自動車株式会社
制御装置
今日
トヨタ自動車株式会社
通話装置
今日
トヨタ自動車株式会社
二次電池
1日前
トヨタ自動車株式会社
電源装置
7日前
トヨタ自動車株式会社
蓄電セル
7日前
トヨタ自動車株式会社
三角表示板
今日
トヨタ自動車株式会社
ガスタンク
今日
トヨタ自動車株式会社
シフト機構
7日前
トヨタ自動車株式会社
電池パック
3日前
トヨタ自動車株式会社
電池パック
3日前
続きを見る
他の特許を見る