TOP
|
特許
|
意匠
|
商標
特許ウォッチ
Twitter
他の特許を見る
公開番号
2025132151
公報種別
公開特許公報(A)
公開日
2025-09-10
出願番号
2024029520
出願日
2024-02-29
発明の名称
ガス生成システム
出願人
トヨタ自動車株式会社
代理人
弁理士法人平木国際特許事務所
主分類
C01B
3/04 20060101AFI20250903BHJP(無機化学)
要約
【課題】夜間や悪天候時等、光触媒に十分なエネルギー量の太陽光を照射できない場合であっても、効率的に光触媒を活性化し、継続的に水の分解反応を生じさせることができるガス生成システムを提供する。
【解決手段】太陽光Sにより、光触媒に接触した水を分解し、酸素ガスおよび水素ガスから成る混合ガスGを生成するガス生成システム1は、水および光触媒を収容する収容空間12が形成され、収容空間12を形成する少なくとも一部の壁部に、直接的または間接的に到達した太陽光Sを透過させる透光壁11aを有した筐体11と、電力の供給により、光触媒が光吸収するピーク波長を有した人工光Lを発光させ、発光させた人工光Lを透光壁11aに照射する照射装置2と、照射装置2への電力の供給または供給停止を、選択的に切り替えるスイッチ3と、を備える。
【選択図】図1
特許請求の範囲
【請求項1】
太陽光により、光触媒に接触した水を分解し、酸素ガスおよび水素ガスから成る混合ガスを生成するガス生成システムであって、
前記水および前記光触媒を収容する収容空間が形成され、前記収容空間を形成する少なくとも一部の壁部に、直接的または間接的に到達した前記太陽光を透過させる透光壁を有した筐体と、
電力の供給により、前記光触媒が光吸収するピーク波長を有した人工光を発光させ、発光させた前記人工光を前記透光壁に照射する照射装置と、
前記照射装置への電力の供給または供給停止を、選択的に切り替えるスイッチと、を備えることを特徴とする、ガス生成システム。
続きを表示(約 890 文字)
【請求項2】
前記太陽光のエネルギー量を計測する日射計と、
前記エネルギー量が予め設定された閾値以下となった際に、前記照射装置への電力の供給に切り替えるように、前記スイッチを制御する制御装置と、
をさらに備えることを特徴とする、請求項1に記載のガス生成システム。
【請求項3】
前記収容空間には、前記光触媒の粒子が前記水に分散した分散液が収容されており、
前記ガス生成システムは、前記収容空間に収容された前記分散液を循環させる循環系をさらに備え、
前記循環系は、前記収容空間から前記分散液を回収するタンクと、前記タンクに回収された前記分散液を前記収容空間に圧送するポンプと、を有することを特徴とする、請求項1に記載のガス生成システム。
【請求項4】
前記光触媒は、前記ピーク波長で光吸収する第1の光触媒と、前記ピーク波長よりも低い低ピーク波長で光吸収する第2の光触媒と、を含み、
前記照射装置は、前記ピーク波長を含む波長域内で発光する第1の発光素子と、前記低ピーク波長を含む低波長域内で発光する第2の発光素子と、を含むことを特徴とする、請求項1に記載のガス生成システム。
【請求項5】
前記光触媒は、前記ピーク波長で光吸収する第1の光触媒と、前記ピーク波長よりも低い低ピーク波長で光吸収する第2の光触媒と、を含み、
前記分散液は、前記第1の光触媒の粒子を含む第1の分散液と、前記第2の光触媒を含む第2の分散液と、からなり、
前記タンクは、前記第1の分散液が収容された第1のタンクと、前記第2の分散液が収容された第2のタンクと、を有し、
前記循環系は、前記第1のタンクから前記収容空間への前記第1の分散液の供給と、前記第2のタンクから前記収容空間への前記第2の分散液の供給と、を切り替える切り替え弁をさらに備え、
前記照射装置は、前記低ピーク波長を含む波長域内で発光する発光素子を少なくとも含むことを特徴とする、請求項3に記載のガス生成システム。
発明の詳細な説明
【技術分野】
【0001】
本発明は、ガス生成システムに関する。
続きを表示(約 1,600 文字)
【背景技術】
【0002】
例えば、この種の技術として、特許文献1には、光触媒の反応により、水を分解して水素ガス及び酸素ガスを生成する装置が開示されている。この装置は、外部からの太陽光を透過させる透光壁を有している。この装置によれば、当該太陽光が当該透光壁を透過することによって、内部に収容された水に分散した光触媒の粒子が活性化し、水が酸素ガスと水素ガスに分解される反応が生じる。
【先行技術文献】
【特許文献】
【0003】
特許第3787686号公報
【発明の概要】
【発明が解決しようとする課題】
【0004】
しかしながら、特許文献1に記載の技術では、夜間や悪天候時等、光触媒に十分なエネルギー量の太陽光を照射できない場合もある。この場合、水の分解反応の効率が十分でなく、その結果、水素ガスを効率的に生成し難かった。
【0005】
本発明は、このような点に鑑みてなされたものであり、夜間や悪天候時等、光触媒に十分なエネルギー量の太陽光を照射することができない場合であっても、効率的に光触媒を活性化し、継続的に水の分解反応を生じさせることができるガス生成システムを提供することを目的とする。
【課題を解決するための手段】
【0006】
前記課題を鑑みて、本発明に係るガス生成システムは、太陽光により、光触媒に接触した水を分解し、酸素ガスおよび水素ガスから成る混合ガスを生成するシステムである。ガス生成システムは、前記水および前記光触媒を収容する収容空間が形成され、前記収容空間を形成する少なくとも一部の壁部に、直接的または間接的に到達した前記太陽光を透過させる透光壁を有した筐体と、電力の供給により、前記光触媒が光吸収するピーク波長を有した人工光を発光させ、発光させた前記人工光を前記透光壁に照射する照射装置と、前記照射装置への電力の供給または供給停止を、選択的に切り替えるスイッチと、を備える。
【発明の効果】
【0007】
本発明によれば、夜間や悪天候時等、光触媒に十分なエネルギー量の太陽光を照射することができない場合であっても、選択的にスイッチを切り替えることにより、水の分解反応を継続的に生じさせ、水素ガスを効率的に生成することができる。
【図面の簡単な説明】
【0008】
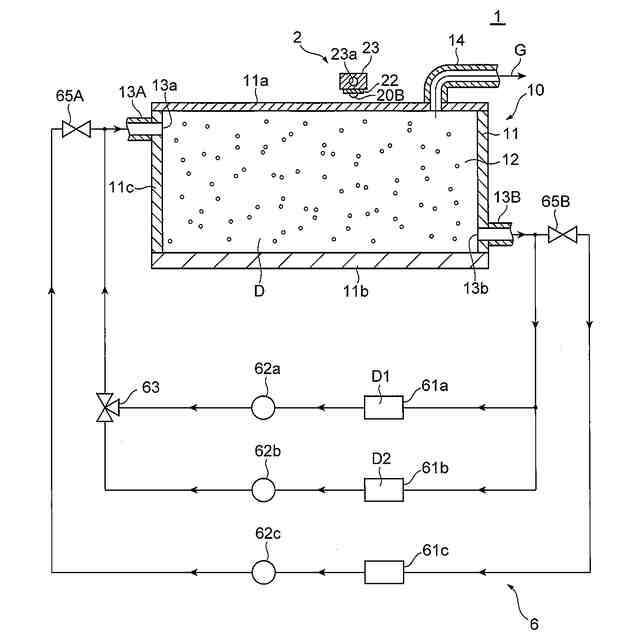
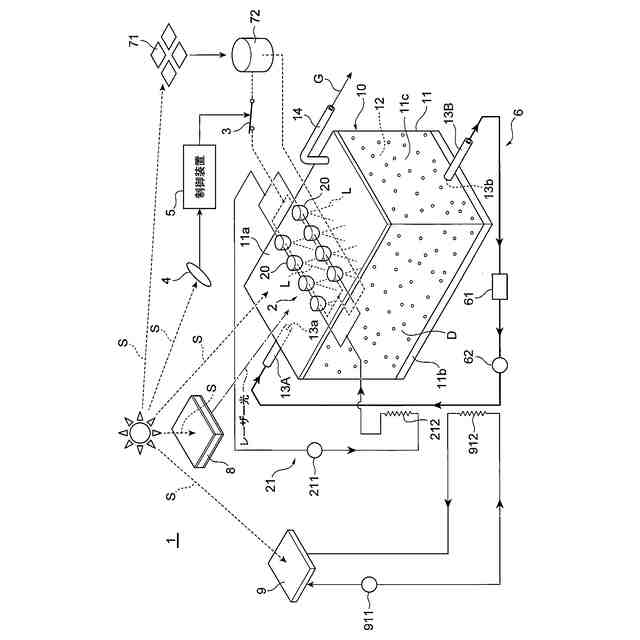
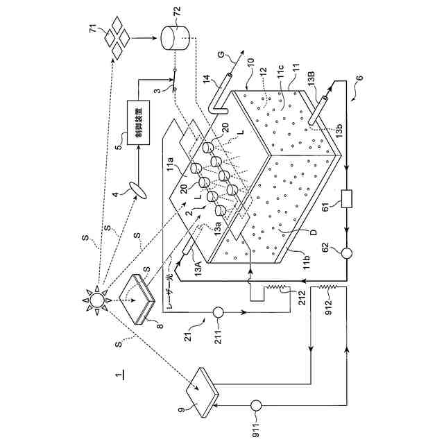
本実施形態に係るガス生成システムの全体の概略図である。
(A)および(B)は、図1に示す筐体および照射装置の断面図である。
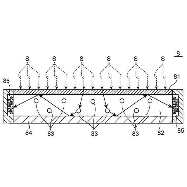
図1に示すレーザー装置の原理を説明するための概略図である。
(A)は、光触媒について、ピーク波長と量子効率の関係を表すグラフである。(B)は、発光素子の材料について、人工光の波長と量子効率の関係を表すグラフである。
本実施形態に係るガス生成システムのうち、循環系の構成について他の一例を示す概略図である。
【発明を実施するための形態】
【0009】
〔実施形態〕
以下、本発明の実施形態について、図1から図5の図面を参照しながら詳細に説明する。なお、以下に示す実施形態は、本発明の一態様であり、本発明の技術的範囲を限定するものではない。
【0010】
<構成>
図1は、本実施形態に係るガス生成システム1の全体の概略図である。図2(A)および図2(B)は、図1に示す筐体11および照射装置2の断面図である。ガス生成システム1は、光触媒を水の分解反応に寄与させ、その結果、酸素ガスおよび水素ガスから成る混合ガスGを発生させるためのシステムである。光触媒に接触した水は、日中の晴天時等の環境下であれば、太陽光Sによって分解され、混合ガスGが発生する。ここで、本実施形態において、光触媒に接触した水は、光触媒の粒子を分散した分散液Dの水である。
(【0011】以降は省略されています)
この特許をJ-PlatPat(特許庁公式サイト)で参照する
関連特許
トヨタ自動車株式会社
電池
3日前
トヨタ自動車株式会社
車両
22日前
トヨタ自動車株式会社
車両
13日前
トヨタ自動車株式会社
車両
3日前
トヨタ自動車株式会社
回転子
14日前
トヨタ自動車株式会社
モータ
14日前
トヨタ自動車株式会社
サーバ
7日前
トヨタ自動車株式会社
電動車
13日前
トヨタ自動車株式会社
ロータ
1日前
トヨタ自動車株式会社
電動車
1日前
トヨタ自動車株式会社
給電装置
13日前
トヨタ自動車株式会社
蓄電装置
7日前
トヨタ自動車株式会社
制御装置
13日前
トヨタ自動車株式会社
内燃機関
13日前
トヨタ自動車株式会社
蓄電装置
13日前
トヨタ自動車株式会社
加熱装置
13日前
トヨタ自動車株式会社
塗布装置
1日前
トヨタ自動車株式会社
電動車両
13日前
トヨタ自動車株式会社
電動車両
13日前
トヨタ自動車株式会社
蓄電装置
1日前
トヨタ自動車株式会社
蓄電装置
13日前
トヨタ自動車株式会社
蓄電セル
1日前
トヨタ自動車株式会社
検査装置
3日前
トヨタ自動車株式会社
蓄電セル
1日前
トヨタ自動車株式会社
冷却装置
13日前
トヨタ自動車株式会社
制御装置
14日前
トヨタ自動車株式会社
二次電池
3日前
トヨタ自動車株式会社
冷却構造
6日前
トヨタ自動車株式会社
制御装置
3日前
トヨタ自動車株式会社
蓄電装置
3日前
トヨタ自動車株式会社
電動車両
22日前
トヨタ自動車株式会社
電動車両
22日前
トヨタ自動車株式会社
電動車両
22日前
トヨタ自動車株式会社
制御装置
3日前
トヨタ自動車株式会社
蓄電装置
3日前
トヨタ自動車株式会社
駆動装置
21日前
続きを見る
他の特許を見る