TOP
|
特許
|
意匠
|
商標
特許ウォッチ
Twitter
他の特許を見る
10個以上の画像は省略されています。
公開番号
2025131131
公報種別
公開特許公報(A)
公開日
2025-09-09
出願番号
2024028671
出願日
2024-02-28
発明の名称
トラヒック予測装置、トラヒック予測プログラム及びトラヒック予測方法
出願人
沖電気工業株式会社
代理人
個人
,
個人
主分類
H04L
43/0876 20220101AFI20250902BHJP(電気通信技術)
要約
【課題】 ユーザ装置をネットワークに接続させる通信システムで、ユーザ装置が存在するエリアごとに、発生すると予想されるトラヒックの予測精度を向上させる。
【解決手段】 本発明は、ユーザ装置をネットワークに接続させる通信システムで発生するトラヒックを予測するトラヒック予測装置に関する。そして、本発明のトラヒック予測装置は、注目エリアにおける属性別人口情報と属性別サービス利用割合情報とサービス帯域情報とを含む情報を収集する情報収集手段と、注目エリアにおける注目時刻の人口推移情報を含む情報を保持する情報保持手段と、情報収集手段が収集した情報と、情報保持手段が保持した情報とに基づいて、注目エリアで発生するトラヒックの合計帯域を算出する算出処理手段とを有することを特徴とする。
【選択図】 図1
特許請求の範囲
【請求項1】
ユーザが使用するユーザ装置をネットワークに接続させる通信システムで発生するトラヒックを予測するトラヒック予測装置において、
注目エリアにおけるユーザ属性毎の人口に関する属性別人口情報と、前記注目エリアにおけるユーザ属性毎のネットワークサービス利用割合を示す属性別サービス利用割合情報と、ネットワークサービス毎に前記ユーザが利用する帯域に関するサービス帯域情報とを含む情報を収集する情報収集手段と、
将来の注目時刻の前記注目エリアにおける人口推移に関する人口推移情報を含む情報を保持する情報保持手段と、
前記情報収集手段が収集した情報と、前記情報保持手段が保持した情報とに基づいて、前記注目時刻に前記注目エリアから前記ネットワークにアクセスする前記ユーザ装置に発生するトラヒックの合計帯域を算出する算出処理手段と
を有することを特徴とするトラヒック予測装置。
続きを表示(約 1,200 文字)
【請求項2】
前記算出処理手段は、
前記属性別人口情報と前記人口推移情報に基づいて、前記注目時刻における前記注目エリアのユーザ属性毎の人口を算出し、
前記注目時刻における前記注目エリアのユーザ属性毎の人口と、前記属性別サービス利用割合情報とに基づいて、前記注目時刻に前記注目エリアにおけるユーザ属性毎且つネットワークサービス毎の前記ユーザが利用する帯域であるユーザ属性別サービス利用帯域を求め、
前記ユーザ属性別サービス利用帯域と、前記サービス帯域情報とに基づいて前記注目時刻の前記注目エリアにおける前記合計帯域を算出する
ことを特徴とする請求項1に記載のトラヒック予測装置。
【請求項3】
前記ユーザ属性は、前記ユーザの年代であることを特徴とする請求項2に記載のトラヒック予測装置。
【請求項4】
ユーザが使用するユーザ装置をネットワークに接続させる通信システムで発生するトラヒックを予測するトラヒック予測装置に搭載されたコンピュータを、
注目エリアにおけるユーザ属性毎の人口に関する属性別人口情報と、前記注目エリアにおけるユーザ属性毎のネットワークサービス利用割合を示す属性別サービス利用割合情報と、ネットワークサービス毎に前記ユーザが利用する帯域に関するサービス帯域情報とを含む情報を収集する情報収集手段と、
将来の注目時刻の前記注目エリアにおける人口推移に関する人口推移情報を含む情報を保持する情報保持手段と、
前記情報収集手段が収集した情報と、前記情報保持手段が保持した情報とに基づいて、前記注目時刻に前記注目エリアから前記ネットワークにアクセスする前記ユーザ装置に発生するトラヒックの合計帯域を算出する算出処理手段と
して機能させることを特徴とするトラヒック予測プログラム。
【請求項5】
ユーザが使用するユーザ装置をネットワークに接続させる通信システムで発生するトラヒックを予測するトラヒック予測装置が行うトラヒック予測方法において、
前記トラヒック予測装置は、情報収集手段と、情報保持手段と、算出処理手段とを有し、
前記情報収集手段は、注目エリアにおけるユーザ属性毎の人口に関する属性別人口情報と、前記注目エリアにおけるユーザ属性毎のネットワークサービス利用割合を示す属性別サービス利用割合情報と、ネットワークサービス毎に前記ユーザが利用する帯域に関するサービス帯域情報とを含む情報を収集し、
前記情報保持手段は、将来の注目時刻の前記注目エリアにおける人口推移に関する人口推移情報を含む情報を保持し、
前記算出処理手段は、前記情報収集手段が収集した情報と、前記情報保持手段が保持した情報とに基づいて、前記注目時刻に前記注目エリアから前記ネットワークにアクセスする前記ユーザ装置に発生するトラヒックの合計帯域を算出する
ことを特徴とするトラヒック予測方法。
発明の詳細な説明
【技術分野】
【0001】
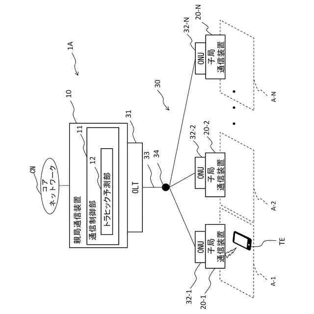
この発明は、トラヒック予測装置、トラヒック予測プログラム及びトラヒック予測方法に関し、例えば、通信キャリアのネットワーク(例えば、移動体通信網)におけるトラヒックの予測に適用し得る。
続きを表示(約 1,600 文字)
【背景技術】
【0002】
従来、一般的に、移動体通信網(通信キャリアのネットワーク)において、無線基地局はユーザ装置と通信する子局通信装置と子局通信装置を制御する親局通信装置に分割されている。親局通信装置と子局通信装置との間は光ファイバ等の伝送路で接続され、無線基地局内には複数の無線装置が配置されている。1つの無線基地局あたりの無線装置数は、その無線基地局が処理すべき移動端末の数と使用頻度を予測して設定されたトラヒックの量によって決められる。そして移動端末はトラヒックの多い時間帯でも使用可能でなければならず、無線装置の数はかなり多くなる。
【0003】
一方、トラヒックは時間によって変動し、深夜や早朝はトラヒックが少なく、昼から夜にかけてトラヒックが多くなる傾向にある。また、近年は5Gサービスが開始され、高精細画像伝送サービスや、デジタルツイン技術を用いた都市の高度化を目的としたサービスが普及してきている。近年、このようにサービスは大容量かつ多種多様になり、時間帯等に応じたトラヒックの差はますます大きくなっている。
【0004】
従来の移動体通信網の無線装置は、トラヒックの多い時間帯を想定して設置されており、トラヒックの少ない時も稼働しているため、無駄に電力を消費してしまう。そのため、移動体通信網の無線装置では、QoS(Quality of Service)を満足しかつ消費電力をなるべく削減した効率的な運用が必要である。
【0005】
上記の効率的な運用という目的を達成するため、従来、通信ネットワークのトラヒックを観測し、その観測データをもとに将来のトラヒック量を算出し、ネットワークの通信帯域を決定する技術として特許文献1、2の技術が存在する。
【0006】
特許文献1には、移動体通信サービスの必要帯域を算出する方法および装置に関する技術について記載されている。特許文献1の記載技術では、あるエリアにおける平日または休日のトラヒック量合計の24時間平均値により正規化した時間ごとの正規化観測トラヒック量を算出し、月間平均を算出し、将来の月の最大トラヒック量を算出することでQoSを達成するために必要となる帯域設備量の算出精度を向上させている。
【0007】
特許文献2には、入力データとして、通信網内で得られるトラヒック情報だけでなく、外的要因(気象情報やカレンダー情報)を考慮して予測することで、将来のトラヒック予測精度を向上させることについて記載されている。
【先行技術文献】
【特許文献】
【0008】
特開2018-037960号公報
特開2012-253445号公報
【発明の概要】
【発明が解決しようとする課題】
【0009】
しかしながら、一般的に移動体通信網において、ユーザ装置により発生するトラヒック量は1日単位で比較しても異なる場合がある。また、従来技術のように、過去のトラヒックの平均値でトラヒック予測を行った場合、例えば、突発的なイベントや災害等が発生すると正確なトラヒック予測は困難となるという問題がある。さらに、一般的に移動体通信網において、各エリアで発生するトラヒック量は、当該エリアにおける年齢構成により異なるという問題があるが、従来技術ではこのような問題を解決できていない。
【0010】
以上のような問題に鑑みて、ユーザ装置をネットワークに接続させる通信システムで、ユーザ装置が存在するエリアごとに、発生すると予想されるトラヒックの予測精度を向上させることができるトラヒック予測装置、トラヒック予測プログラム及びトラヒック予測方法が望まれている。
【課題を解決するための手段】
(【0011】以降は省略されています)
この特許をJ-PlatPat(特許庁公式サイト)で参照する
関連特許
沖電気工業株式会社
印刷装置
6日前
沖電気工業株式会社
画像形成装置
10日前
沖電気工業株式会社
画像形成装置
10日前
沖電気工業株式会社
情報処理装置
7日前
沖電気工業株式会社
棒金収納装置
7日前
沖電気工業株式会社
施錠開閉装置
1日前
沖電気工業株式会社
画像形成装置
2日前
沖電気工業株式会社
半導体デバイス
1日前
沖電気工業株式会社
発光装置及び表示装置
1日前
沖電気工業株式会社
現金処理装置及び印字装置
20日前
沖電気工業株式会社
電源制御装置及び画像形成装置
今日
沖電気工業株式会社
紙葉類取扱装置及び現金処理装置
14日前
沖電気工業株式会社
プリンタドライバ及び画像形成装置
2日前
沖電気工業株式会社
部品管理装置、プログラムおよび方法
10日前
沖電気工業株式会社
直流電源装置および二次電池充電方法
10日前
沖電気工業株式会社
媒体取扱ユニット、及び、媒体取扱装置
2日前
沖電気工業株式会社
情報処理装置、情報処理方法、およびプログラム
今日
沖電気工業株式会社
現像剤収容体、画像形成ユニット、及び画像形成装置
6日前
沖電気工業株式会社
情報処理装置、情報処理プログラム、及び情報処理方法
1日前
沖電気工業株式会社
精算システム、精算装置、情報処理方法、及びプログラム
1日前
沖電気工業株式会社
駆動制御装置、駆動制御システム、駆動制御方法及び貨幣処理装置
6日前
沖電気工業株式会社
経路設定装置、経路設定方法、プログラムおよび経路設定システム
今日
沖電気工業株式会社
情報処理装置、情報処理システム、情報処理方法、およびプログラム
29日前
沖電気工業株式会社
ナビゲーションシステム
9日前
沖電気工業株式会社
伝送装置のための制御装置、パス設定方法、およびプログラム並びに伝送システム
6日前
沖電気工業株式会社
表示装置、プログラム及び表示方法
6日前
個人
店内配信予約システム
2か月前
WHISMR合同会社
収音装置
28日前
サクサ株式会社
中継装置
3か月前
サクサ株式会社
中継装置
1日前
サクサ株式会社
中継装置
今日
アイホン株式会社
電気機器
22日前
キヤノン株式会社
撮像装置
3か月前
キヤノン株式会社
撮像装置
1か月前
キヤノン株式会社
電子機器
2か月前
株式会社リコー
画像形成装置
2か月前
続きを見る
他の特許を見る