TOP
|
特許
|
意匠
|
商標
特許ウォッチ
Twitter
他の特許を見る
10個以上の画像は省略されています。
公開番号
2025128024
公報種別
公開特許公報(A)
公開日
2025-09-02
出願番号
2025014166
出願日
2025-01-30
発明の名称
管継手
出願人
株式会社イノアック住環境
,
東尾メック株式会社
代理人
個人
,
個人
主分類
F16L
17/03 20060101AFI20250826BHJP(機械要素または単位;機械または装置の効果的機能を生じ維持するための一般的手段)
要約
【課題】配管を仮固定できる管継手を提供する。
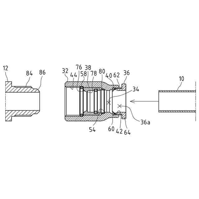
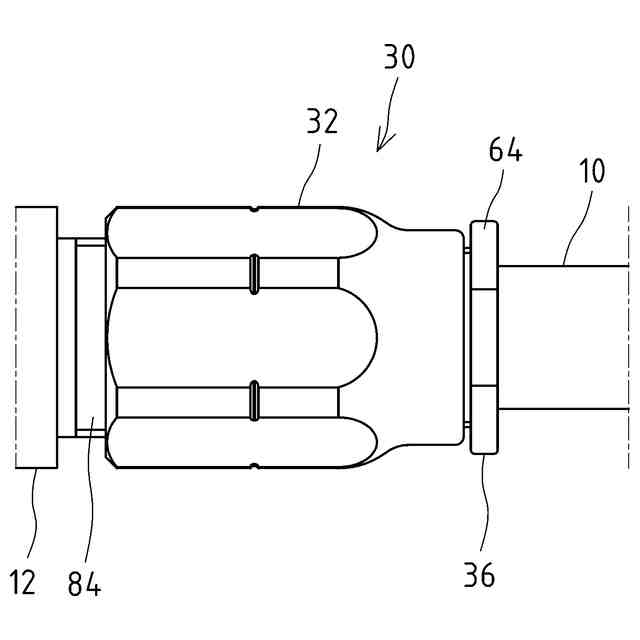
【解決手段】管継手30は、貫通孔34を有するナット32と、ナット32に取り付けられ、貫通孔34に挿入される配管10とナット32との間に配置されるパッキン36とを備えている。パッキン36は、配管10の外周面に当接する係止部60を有している。また、ナット32は、係止部60が貫通孔34に挿入されるにつれて、貫通孔34に挿入されている配管10の外周面に向けて係止部60を押さえる押さえ部40を有している。
【選択図】図2
特許請求の範囲
【請求項1】
貫通孔を有するナットと、前記貫通孔に挿入される配管と前記ナットとの間に配置されるパッキンとを備える管継手であって、
前記パッキンは、前記配管の外周面に当接する係止部を有し、
前記ナットは、前記係止部の前記貫通孔への挿入につれて、前記貫通孔に挿入される前記配管の外周面に向けて前記係止部を押さえる押さえ部を有する、管継手。
続きを表示(約 560 文字)
【請求項2】
前記押さえ部は、前記貫通孔における前記係止部が挿入される入口側と比べて奥側が前記貫通孔の軸中心側に突出している請求項1に記載の管継手。
【請求項3】
前記押さえ部は、前記貫通孔の前記入口側から奥側に向かうにつれて前記貫通孔の軸中心側に傾く傾斜面である請求項2に記載の管継手。
【請求項4】
前記パッキンは、前記係止部が前記貫通孔に挿入される際に前記貫通孔の外側に配置される取付操作部を有し、
前記取付操作部は、前記配管が挿入される挿入孔を有し、
前記係止部は、前記取付操作部側から前記係止部の先端に向かうにつれて前記挿入孔の軸中心側に傾いている請求項1に記載の管継手。
【請求項5】
前記ナットは、ネジ状の第1被取付部を有し、
前記パッキンは、前記第1被取付部に噛み合うネジ状の第1取付部を有する請求項1に記載の管継手。
【請求項6】
前記ナットに取り付けられ、前記貫通孔の奥側に前記パッキンを押す押圧部材を備える請求項1に記載の管継手。
【請求項7】
前記ナットは、ネジ状の第2被取付部を有し、
前記押圧部材は、前記第2被取付部に噛み合うネジ状の第2取付部を有する請求項6に記載の管継手。
発明の詳細な説明
【技術分野】
【0001】
この発明は、管継手に関するものである。
続きを表示(約 1,400 文字)
【背景技術】
【0002】
管継手の一種として、袋ナットの貫通孔に配管を通した後、袋ナットを継手本体に嵌め合わせるものが提案されている(例えば特許文献1参照)。特許文献1の管継手は、継手本体で貫通孔に配置されたストップリングを押して、ストップリングの先端に形成された爪部を配管の外周面に食い込ませることで配管を固定している。ここで、袋ナットの材質と配管の材質が異なる金属である場合、異種金属による接触腐食が発生するおそれがあることから、袋ナットに円環状の絶縁パッキンを取り付けることが行われている。
【先行技術文献】
【特許文献】
【0003】
特開2010-270846号公報
【発明の概要】
【発明が解決しようとする課題】
【0004】
配管を袋ナットの貫通孔に通してから袋ナットと継手本体との締結が完了するまでの間において、配管は固定されていない。そのため、袋ナットを継手本体に嵌め合わせるときや袋ナットを継手本体にねじ込むときなどの接続作業中にて、袋ナットから配管が抜けたり、配管が位置ずれしたりすることがある。
【0005】
本開示は、従来の技術に係る前記課題に鑑み、これらを好適に解決するべく提案されたものであって、配管を仮固定可能な管継手を提供することを目的とする。
【課題を解決するための手段】
【0006】
本開示に係る管継手の第1態様は、
貫通孔を有するナットと、前記貫通孔に挿入される配管と前記ナットとの間に配置されるパッキンとを備える管継手であって、
前記パッキンは、前記配管の外周面に当接する係止部を有し、
前記ナットは、前記係止部の前記貫通孔への挿入につれて、前記貫通孔に挿入されている前記配管の外周面に向けて前記係止部を押さえる押さえ部を有することを要旨とする。
本開示に係る管継手によれば、パッキンによって配管を仮固定することができる。
【0007】
本開示に係る管継手の第2態様は、前記第1態様において、
前記押さえ部は、前記貫通孔における前記係止部が挿入される入口側と比べて奥側が前記貫通孔の軸中心側に突出していてもよい。
【0008】
本開示に係る管継手の第3態様は、前記第2態様において、
前記押さえ部は、前記貫通孔の前記入口側から奥側に向かうにつれて前記貫通孔の軸中心側に傾く傾斜面であってもよい。
【0009】
本開示に係る管継手の第4態様は、前記第1態様、前記第2態様及び前記第3態様の何れかにおいて、
前記パッキンは、前記係止部が前記貫通孔に挿入される際に前記貫通孔の外側に配置される取付操作部を有し、
前記取付操作部は、前記配管が挿入される挿入孔を有し、
前記係止部は、前記取付操作部側から前記係止部の先端に向かうにつれて前記挿入孔の軸中心側に傾いていてもよい。
【0010】
本開示に係る管継手の第5態様は、前記第1態様、前記第2態様、前記第3態様及び前記第4態様の何れかにおいて、
前記ナットは、ネジ状の第1被取付部を有し、
前記パッキンは、前記第1被取付部に噛み合うネジ状の第1取付部を有していてもよい。
(【0011】以降は省略されています)
この特許をJ-PlatPat(特許庁公式サイト)で参照する
関連特許
株式会社イノアック住環境
部材の締結構造及び床パネルの支持装置
2日前
株式会社イノアック住環境
床パネルの支持装置及び床パネルの支持装置用の固定部材
2日前
個人
留め具
1か月前
個人
鍋虫ねじ
3か月前
個人
回転伝達機構
3か月前
個人
紛体用仕切弁
3か月前
個人
ホース保持具
7か月前
個人
トーションバー
8か月前
個人
差動歯車用歯形
5か月前
個人
ジョイント
2か月前
個人
給排気装置
1か月前
個人
ナット
25日前
株式会社不二工機
電磁弁
6か月前
個人
ボルトナットセット
8か月前
個人
ナット
2か月前
個人
地震の揺れ回避装置
4か月前
株式会社不二工機
電磁弁
5か月前
個人
ゲート弁バルブ
10日前
個人
吐出量監視装置
2か月前
株式会社三協丸筒
枠体
8か月前
兼工業株式会社
バルブ
26日前
カヤバ株式会社
緩衝器
1か月前
柿沼金属精機株式会社
分岐管
3か月前
カヤバ株式会社
ダンパ
5か月前
カヤバ株式会社
ダンパ
5か月前
カヤバ株式会社
緩衝器
4か月前
カヤバ株式会社
緩衝器
4か月前
アズビル株式会社
回転弁
2か月前
株式会社奥村組
制振機構
2か月前
個人
固着具と固着具の固定方法
7か月前
株式会社奥村組
制振機構
2か月前
株式会社ノーリツ
分配弁
6か月前
株式会社ニフコ
クリップ
10日前
個人
固着具と固着具の固定方法
6か月前
株式会社ノーリツ
分配弁
6か月前
株式会社ノーリツ
分配弁
6か月前
続きを見る
他の特許を見る