TOP特許意匠商標
特許ウォッチ Twitter
公開番号2025126492
公報種別公開特許公報(A)
公開日2025-08-29
出願番号2024022708
出願日2024-02-19
発明の名称星型水素吸蔵合金アクチュエータ
出願人国立大学法人室蘭工業大学
代理人弁理士法人ピー・エス・ディ
主分類F03G 7/00 20060101AFI20250822BHJP(液体用機械または機関;風力原動機,ばね原動機,重力原動機;他類に属さない機械動力または反動推進力を発生するもの)
要約【課題】 水素吸蔵合金による水素の放出及び吸蔵を利用して熱エネルギーを機械エネルギーに変換することにより自律的に駆動するアクチュエータを提供する。
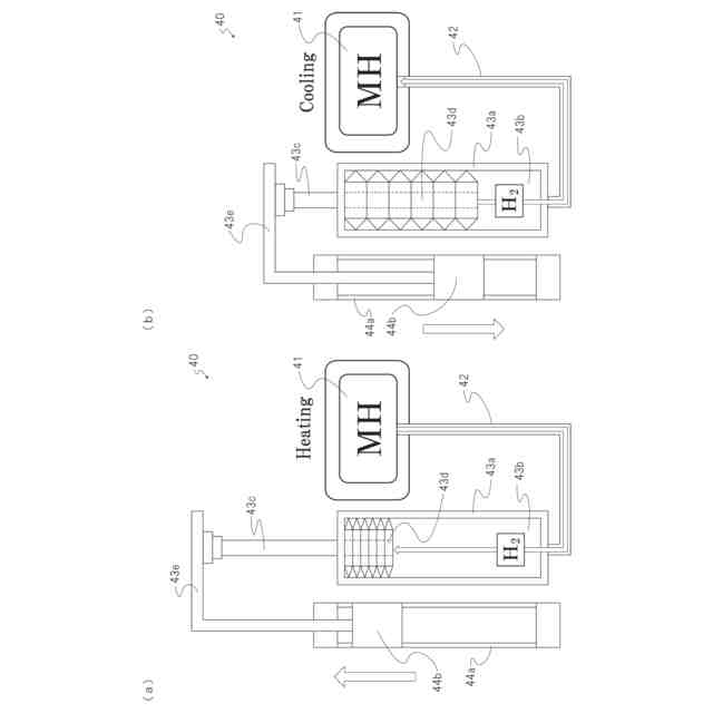
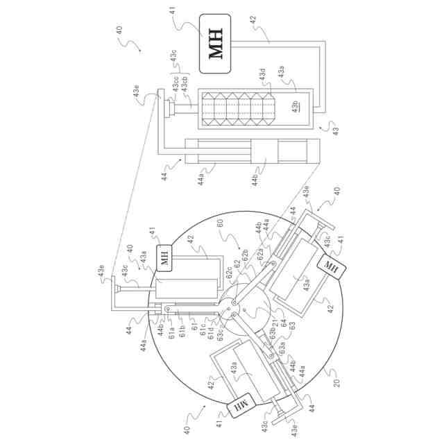
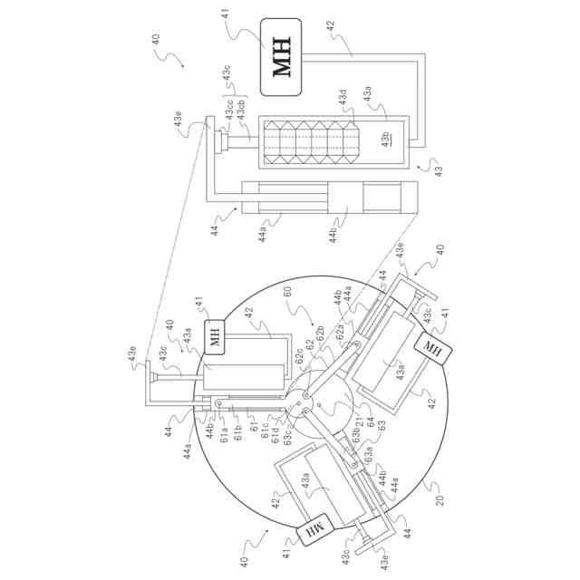
【解決手段】 アクチュエータは、回転するベースと、複数の出力モジュールと、ベースと複数の出力モジュールの各々とに連結された運動変換機構とを備える。複数の出力モジュールは、出力する並進運動の方向が回転軸を中心とした半径方向となるようにベースに取り付けられている。運動変換機構は、複数の出力モジュールの並進運動をベースの回転運動に変換する。複数の出力モジュールは、水素吸蔵合金の格納部と、格納部と連通された作動部と、作動部に連結された並進運動部とを有する。作動部では、格納部が高温のときに水素吸蔵合金から放出され、低温のときに水素吸蔵合金に吸蔵される水素の圧力に基づいて、作動体が移動する。並進運動部は、作動体の移動に伴って並進運動を行う。
【選択図】 図1
特許請求の範囲【請求項1】
回転軸の周りに回転するベースと、
各々が並進運動を出力し、それらの並進運動の方向が前記回転軸を中心とした半径方向となるように前記ベースに取り付けられた、複数の出力モジュールと、
前記ベースと前記複数の出力モジュールの各々とに連結され、前記複数の出力モジュールの並進運動を前記ベースの回転運動に変換する、運動変換機構と
を備え、
前記複数の出力モジュールの各々は、
水素吸蔵合金を格納する格納部と、
前記格納部と連通されており、前記格納部が高温領域にあるときに前記水素吸蔵合金から放出され、低温領域にあるときに前記水素吸蔵合金に吸蔵される水素の圧力に基づいて作動体が移動する、作動部と、
前記作動部に連結され、前記作動体の移動に伴って並進運動を行う、並進運動部と
を有する、
星型水素吸蔵合金アクチュエータ。
続きを表示(約 1,000 文字)【請求項2】
前記運動変換機構は、複数のロッドを有し、
前記複数のロッドの各々は、一方の端部が、前記出力モジュールに回転自在に連結され、他方の端部が、前記回転軸から偏心した位置において回転自在に固定されており、
前記複数のロッドの各々の前記他方の端部が固定される位置は、同一の位置又は互いに隣接する位置である、
請求項1に記載の星型水素吸蔵合金アクチュエータ。
【請求項3】
前記運動変換機構は、マスターロッド及び複数のサブロッドを有し、
前記マスターロッドは、一方の端部が、前記複数の出力モジュールのうちの第1の出力モジュールに回転自在に連結され、他方の端部が、前記回転軸から偏心した位置において回転自在に固定され、
前記複数のサブロッドの各々は、一方の端部が、前記第1の出力モジュール以外の出力モジュールの各々に回転自在に連結され、他方の端部が、前記マスターロッドの他方の端部に、当該他方の端部の回転軸から偏心した位置において回転自在に連結された、
請求項1に記載の星型水素吸蔵合金アクチュエータ。
【請求項4】
前記複数のモジュールは、数が3つであり、並進運動の方向が互いに対して120°の角度になるように前記ベースに取り付けられた、
請求項1に記載の星型水素吸蔵合金アクチュエータ。
【請求項5】
少なくとも前記格納部は、前記回転軸に対して軸対称の位置に配置される高温領域と低温領域とを交互に通過するように構成された、
請求項1に記載の星型水素吸蔵合金アクチュエータ。
【請求項6】
前記格納部の前記水素吸蔵合金は、100℃未満の温度で化学反応可能である、
請求項1に記載の星型水素吸蔵合金アクチュエータ。
【請求項7】
前記格納部の前記水素吸蔵合金は、0℃以下の温度で化学反応可能である、
請求項6に記載の星型水素吸蔵合金アクチュエータ。
【請求項8】
前記作動部は、金属製のベローズを有する、
請求項1に記載の星型水素吸蔵合金アクチュエータ。
【請求項9】
前記並進運動部は、直線状のガイドと、前記作動体の駆動に伴って前記ガイドに沿って移動する移動体と
を有する、
請求項1に記載の星型水素吸蔵合金アクチュエータ。

発明の詳細な説明【技術分野】
【0001】
本発明は、アクチュエータ技術に関し、より具体的には、水素吸蔵合金の水素の放出及び吸蔵による圧力変化を利用して有効に動力を取り出すことができる星型の水素吸蔵合金アクチュエータに関する。
続きを表示(約 2,500 文字)【背景技術】
【0002】
水素吸蔵合金は、水素の可逆的な吸蔵又は放出が可能な合金であり、冷却することにより水素平衡圧が低下して水素を吸蔵し、加熱することにより水素平衡圧が上昇して水素を放出する。一般に、水素吸蔵合金は、体積の約1000倍の水素を吸蔵可能である。
【0003】
水素吸蔵合金を用いて熱エネルギーを動力に変換する各種のアクチュエータが提案されている。特許文献1(特許第4951737号公報)では、自律的に駆動する水素吸蔵合金アクチュエータが提案されている。このアクチュエータは、低温領域に配置される一方の水素吸蔵合金モジュールと、高温領域に配置される他方の水素吸蔵合金モジュールとを備えており、水素吸蔵合金からの水素の供給又は水素の吸蔵によって生成されたストローク運動から回転運動を取り出すとともに、ストローク運動を利用して一方のモジュールと他方のモジュールとを低温領域と高温領域との間で交互に移動させることにより、自律的に駆動する。
【0004】
特許文献2(特公平1-56270号公報)では、水素吸蔵合金を用いるとともに、重心位置の変動を利用した自動回転式アクチュエータが提案されている。このアクチュエータは、軸を中心に放射状に配置された複数の腕を備え、腕の半径方向外方に、外側から膜状物質、水素吸蔵合金及びベローズがこの順で配置された構造を有する。腕の膜状物質は、低温熱源である水中と高温熱源である空気中とを順に通過する。膜状物質は、水中を通過する際及びその後の水分蒸発中は低温であり、空気中を通過する際は高温になるため、その温度差によって放出及び吸収される水素の圧力で、ベローズが伸縮する。ベローズの伸縮によって、軸から各腕の重心までの距離が変化するため、この重心の変化を利用して、複数の腕を備える本アクチュエータは回転するとされている。
【先行技術文献】
【特許文献】
【0005】
特許第4951737号公報
特公平1-56270号公報
米国特許第6,405,532号公報
【非特許文献】
【0006】
Metal hydride actuator for a rescue jack driven by hydrogen desorption, Minako Hosono, Kouji Sakaki, Yumiko Nakamura, Shuichi Ino, International Journal of Hydrogen Energy, 2019, vol.44, 29310-29318
Performance simulation of metal hydride based helical spring actuators during hydrogen sorption, P. V. Jithu, G. Mohan, International Journal of Hydrogen Energy, 2022, 47(33), 14942-14951.
Metal hydride hydrogen compressors: A review, M.V.Lototskyy, et al., International Journal of Hydrogen Energy, 2014, vol.39, 5818-5851
【発明の概要】
【発明が解決しようとする課題】
【0007】
特許文献2の技術は、潜熱を利用して温度差を生じさせることによって水素吸蔵合金の水素吸脱着を行うものである。そのため、この技術を利用した装置においては、水の蒸発が起きにくい環境では水素の吸脱着が行われず、自動回転が実現されない。また、この技術は、水素の吸脱着による圧力変化によってアクチュエータの各腕を伸縮させ、各腕の重心を変化させることで重力による回転力を発生させる。そのため、回転軸が水平方向に限定される。なお、特許文献2の構造では、内部の水素圧力が常に高い状態になる可能性があり、実際には、逆止弁などを用いて内部の水素の往来を制御する必要がある。しかし、特許文献2には、そのような構造は明示されておらず、発明が未完成である。
【0008】
本発明は、水素吸蔵合金による水素の放出及び吸蔵を利用して熱エネルギーを機械エネルギーに変換することによって自律的に駆動するアクチュエータを提供することを課題とする。
【課題を解決するための手段】
【0009】
本発明の課題は、水素吸蔵合金による水素の放出及び吸蔵を利用して並進運動を出力する複数のモジュールを星型に配置し、このように配置された各モジュールの水素吸蔵合金を順次、高温領域と低温領域とに晒すことによって各モジュールの並進運動を回転運動に変化させる機構を採用することにより、解決することができる。
【0010】
本発明は、星型水素吸蔵合金アクチュエータを提供する。この星型水素吸蔵合金アクチュエータは、回転軸の周りに回転するベースと、ベースに取り付けられた複数の出力モジュールと、ベースと複数の出力モジュールの各々とに連結された運動変換機構とを備える。複数の出力モジュールは、各々が並進運動を出力し、それらの並進運動の方向が回転軸を中心とした半径方向となるようにベースに取り付けられている。運動変換機構は、複数の出力モジュールの並進運動をベースの回転運動に変換する。複数の出力モジュールの各々は、水素吸蔵合金を格納する格納部と、格納部と連通された作動部と、作動部に連結された並進運動部とを有する。作動部は、格納部が高温領域にあるときに水素吸蔵合金から放出され、低温領域にあるときに水素吸蔵合金に吸蔵される水素の圧力に基づいて、作動体が移動するように構成される。並進運動部は、作動体の移動に伴って並進運動を行うように構成される。
(【0011】以降は省略されています)

特許ウォッチbot のツイートを見る
この特許をJ-PlatPat(特許庁公式サイト)で参照する

関連特許

個人
風力発電機
2か月前
個人
小水力発電器
5日前
個人
風車用回転翼
2か月前
個人
波力発電装置
2か月前
個人
磁力スロープ
2か月前
個人
サボニウス風車
2日前
個人
折り畳み式風車
2か月前
個人
風力発電装置
1か月前
個人
閉空間推進移動装置
1か月前
東レ株式会社
風車ブレード
1か月前
個人
水力発電用水の循環活動
20日前
個人
波受け板を用いた波浪発電装置
12日前
株式会社 林物産発明研究所
発電装置
1か月前
株式会社ゲットクリーンエナジー
発電機
1か月前
個人
水車発電と水の循環供給装置
1か月前
株式会社リコー
水力発電装置
2か月前
株式会社ライトエンジ
推力発生方法
20日前
三菱電機株式会社
風力発電システム
20日前
株式会社アイシン
発電装置
2か月前
株式会社アイシン
発電装置
2か月前
株式会社大林組
リフトアップ装置
1か月前
株式会社大林組
リフトアップ装置
1か月前
個人
波力発電ユニット及び波力発電システム
1か月前
三菱重工業株式会社
風力発電装置
16日前
日本精工株式会社
風力発電装置
3か月前
パナテックス株式会社
発電装置
1か月前
株式会社日本海洋発電
海流発電システム
2か月前
ダイキン工業株式会社
流体機械
11日前
日本精工株式会社
風力発電装置
2か月前
株式会社リアムウィンド
流体発電装置及び流体発電方法
1か月前
株式会社デンソー
熱音響装置
2か月前
華能広西清潔能源有限公司
風力発電機の角度修正方法および修正装置
16日前
個人
暴風・洪水でも折れず、風速・河川流速の増速が出来る風水車羽根装置
16日前
国立大学法人山梨大学
パルスプラズマスラスタ
3か月前
株式会社サンノハシ
風力発電装置
2か月前
大成建設株式会社
浮体式基礎の製作方法
1か月前
続きを見る