TOP
|
特許
|
意匠
|
商標
特許ウォッチ
Twitter
他の特許を見る
公開番号
2025126465
公報種別
公開特許公報(A)
公開日
2025-08-29
出願番号
2024022664
出願日
2024-02-19
発明の名称
実火災訓練装置
出願人
JFEプロジェクトワン株式会社
代理人
個人
,
個人
,
個人
主分類
G09B
9/00 20060101AFI20250822BHJP(教育;暗号方法;表示;広告;シール)
要約
【課題】設置や保守の作業を含めて安価である実火災訓練装置を得る。
【解決手段】この実火災訓練装置1においても、本体部10の内部が煙調整フラッパー22で区分されることによって燃焼部10Aと訓練室10Bが形成される。この本体部10は、同様の構成を具備する第1ブロック11Aと第2ブロック11Bが連結されて構成される。従来の本体部は40ftコンテナを基にされていたのに対し、この第1ブロック11A、第2ブロック11Bは、20ftコンテナ(ISO規格品又はJIS規格品)を基にして構成され、その一部が除去されて開口が形成される。この開口の周囲にリブ状のフランジ部101が形成されている。
【選択図】図1
特許請求の範囲
【請求項1】
燃焼を生じさせることにより発煙をする燃焼部と、訓練対象者を収容する空間である訓練室とが略矩形体形状の内部空間を有する本体部に設けられ、前記訓練対象者に対して火災訓練を行わせるために用いられる実火災訓練装置であって、
前記本体部は、略矩形体形状の内部空間を有する複数のブロックが連結されて構成されたことを特徴とする実火災訓練装置。
続きを表示(約 700 文字)
【請求項2】
複数の前記ブロックの各々はISO規格又はJIS規格で定められた仕様のコンテナを基にして構成されたことを特徴とする請求項1に記載の実火災訓練装置。
【請求項3】
複数の前記ブロックは全て共通の前記仕様とされたコンテナを基にして構成されたことを特徴とする請求項2に記載の実火災訓練装置。
【請求項4】
複数の前記ブロックの各々は、複数の前記ブロックが配置された方向の一端側において形成された開口と、当該開口の周りで前記コンテナの外周を囲むフランジ部と、を具備し、
隣接する前記ブロックは、前記フランジ部同士が固定されることによって、連結されたことを特徴とする請求項1又は2に記載の実火災訓練装置。
【請求項5】
前記フランジ部同士は、前記フランジ部間を封止するシール材を間に介在させた状態で固定されたことを特徴とする請求項4に記載の実火災訓練装置。
【請求項6】
前記シール材は、ガラス繊維、又はニトリルゴムを含むことを特徴とする請求項5に記載の実火災訓練装置。
【請求項7】
前記燃焼部は、複数の前記ブロックのうちの一つのみにおいて形成されたことを特徴とする請求項1又は2に記載の実火災訓練装置。
【請求項8】
前記本体部には、燃焼による発煙を前記本体部から吸引して処理する発煙処理部が接続される排気口が形成され、
前記排気口は、複数の前記ブロックのうち、前記燃焼部が形成されたブロック以外のブロックに形成されたことを特徴とする請求項7に記載の実火災訓練装置。
発明の詳細な説明
【技術分野】
【0001】
本発明は、実際の火災現場を模した環境下で訓練を行わせる実火災訓練装置に関する。
続きを表示(約 2,100 文字)
【背景技術】
【0002】
実際の火災と同様に木材等を燃焼させて濃煙を発生させた環境下で訓練を行わせるための実火災訓練装置が用いられている。こうした実火災訓練装置の構造は、例えば特許文献1に記載されている。
【0003】
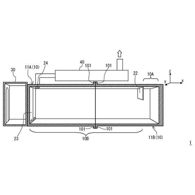
図3は、特許文献1に記載された実火災訓練装置9の構造を簡略化して示す透視斜視図である。この実火災訓練装置9においては、図中水平方向を長手方向(x方向)とする略矩形体形状の内部空間を有する本体部90が用いられる。本体部90の図中右側(x方向正側)の端部付近には、燃焼台21が設置され、この上で可燃対象物Aが着火されて燃焼する。この領域の左側には、板状の煙調整フラッパー(煙区画板)22が本体部90の上側の領域のみを仕切るように本体部90の内側に設置される。訓練対象者Hは、本体部90の図中左側に連結された前室30から本体部90の図中左側の端面に形成された扉23を通ってこの本体部90内に侵入することができる。
【0004】
図3の構造において、訓練対象者Hは右側の煙調整フラッパー22と左側の扉23の間に位置し、所望の訓練作業をすることができる。この際、燃焼が発生しているのは煙調整フラッパー22よりも右側となるため、本体部90の内部の空間は、煙調整フラッパー22を境界として、その右側(x方向正側)が燃焼部90A、左側(x方向負側)が訓練室90Bとなる。本体部90においては、訓練室90Bにおける扉23の近くの天井には排気口24が設けられ、排気口24を介して排煙処理部40が連結されている。この構造により、濃煙Sは煙調整フラッパー22の下側を通って燃焼部90Aから訓練室90Bの天井側を図中左側に向けて流れる。
【0005】
また、燃焼部90Aから煙調整フラッパー22を越流した高温の濃煙Sは、排気口24から排気されるまで訓練室90Bの上層に滞留する。このため、訓練室90Bにおいては、濃煙Sによって視界が遮られる上側の高温層と、下側における視界がクリアな低温層の圧力がつり合って中性帯が保持される。このため、燃焼部90A内の温度は燃焼に伴って極めて高くなるのに対して、訓練室90Bの下側の低温層においては、訓練対象者Hが活動できる程度の温度となる。一方、訓練対象者Hは煙調整フラッパー22の下側から越流する濃煙Sを目視することができるため、例えば濃煙Sに含まれる可燃性ガスが高温によって自燃するフラッシュオーバー(急激な爆発的燃焼)の前兆となるロールオーバー(天井等の高い場所に集まった未燃焼の過熱状態のガスが急激に燃え広がる現象)の発生を確認することができる。このため、安全かつより実践的な訓練を行わせることができる。
【0006】
本体部90の上側に設置された排煙処理部40は、前記のように本体部90の天井に設置された排気口24を介して訓練室90Bと連結され、濃煙Sを排気して無害化する。濃煙Sは排煙処理部40において例えば完全燃焼することによって無害化されて外気に排出される。
【0007】
ここで、上記の構成を実現するためには、少なくとも本体部90の内部には燃焼部90Aと、訓練対象者Hが活動できる訓練室90Bを設けることが必要であるため、本体部90は大型となる。このため、このような本体部90は、鋼板で構成された、例えばISO規格の40ft(フィート)コンテナ(外寸長さ約12m、幅2.4m、高さ2.6m又は2.9m)を基にして、これに煙調整フラッパー22等を設置して構成される。これによって、本体部90自身を安価とし、かつその機械的強度等を容易に確保することができる
【先行技術文献】
【特許文献】
【0008】
特開2011-34024号公報
【発明の概要】
【発明が解決しようとする課題】
【0009】
一方、このような大型のコンテナを用いた場合には、実火災訓練装置の設置に際しては、この大型のコンテナを運搬する作業が必要となった。このため、このような運搬が容易ではない地域(例えばこのコンテナを運搬するトレーラーの走行が困難である地域や、このコンテナを運搬する船舶が停泊できない地域)においては、この実火災訓練装置を設置することは容易ではなく、こうした地域での設置に際しては、特殊な運搬手段を準備することが必要となり、この場合にはこの実火災訓練装置の設置は特に高コストとなった。
【0010】
また、上記の実火災訓練装置において、使用に際して劣化・損傷した部分は交換が必要となる。この際、本体部90において最も損傷が大きいのは、燃焼部90A及びその周辺である。この場合、劣化・損傷が発生した際には、本体部(コンテナ)自身を交換する作業が必要になるが、この際には、前記の設置時と同様に大型のコンテナを運搬する作業が必要になり、この作業も高コストとなった。
(【0011】以降は省略されています)
この特許をJ-PlatPat(特許庁公式サイト)で参照する
関連特許
個人
回転式カード学習具
1か月前
個人
時刻表示機能つき手帳
2か月前
日本精機株式会社
表示装置
22日前
日本精機株式会社
表示装置
1か月前
個人
計算用教具
18日前
中国電力株式会社
標示旗
28日前
日本精機株式会社
車両用表示装置
2か月前
日本精機株式会社
車両用表示装置
2か月前
日本精機株式会社
車両用表示装置
2か月前
個人
微細構造を模した理科学習教材
1日前
個人
モデルで薔薇の花嫁様を描く為
1か月前
日本精機株式会社
車両用センサ装置
18日前
トヨタ自動車株式会社
評価方法
2か月前
株式会社一弘社
情報表示板
1か月前
シャープ株式会社
表示装置
29日前
株式会社ウメラボ
学習支援システム
8日前
個人
音楽教材
1か月前
株式会社ウメラボ
学習支援システム
14日前
ニチレイマグネット株式会社
磁着式電飾装置
28日前
株式会社半導体エネルギー研究所
半導体装置
2か月前
リンテック株式会社
表示体
7日前
株式会社リコー
画像投射システム
29日前
BEST株式会社
吊り下げ表示部材
1か月前
学校法人関西医科大学
腹腔鏡手術訓練装置
28日前
個人
サインポスト
2か月前
株式会社サンゲツ
見本帳
2か月前
シチズンファインデバイス株式会社
液晶表示装置
1か月前
シチズンファインデバイス株式会社
液晶表示装置
2か月前
個人
ピアノの指トレーニング器具及び練習方法
2か月前
シャープ株式会社
表示装置
2か月前
シャープ株式会社
表示装置
2か月前
セイコーエプソン株式会社
表示方法
1か月前
ニデックインスツルメンツ株式会社
情報処理装置
2か月前
セイコーエプソン株式会社
表示方法
1か月前
リンテック株式会社
粘着ラベル
8日前
ニプロ株式会社
シミュレータ
1か月前
続きを見る
他の特許を見る